TOP
|
特許
|
意匠
|
商標
特許ウォッチ
Twitter
他の特許を見る
10個以上の画像は省略されています。
公開番号
2025083243
公報種別
公開特許公報(A)
公開日
2025-05-30
出願番号
2023197036
出願日
2023-11-20
発明の名称
水上遊具
出願人
個人
代理人
主分類
B63B
32/40 20200101AFI20250523BHJP(船舶またはその他の水上浮揚構造物;関連艤装品)
要約
【課題】従来のカヌーやSUP(スタンドアップパドル)等で使用されている推進装置ではパドル操作と推進装置との連携はなく、単純に推進するものでパドリング本来の楽しみが得られないという課題があった。
【解決手段】パドルに装着した動態状況検知部が検出したパドルの6軸の動きからパドリングの運動情報や操作状況を算出し、そのデータを無線で推進力制御部に送信することで、パドルボート等に接続された電動推進部をパドリングの運動量や方向に応じて駆動させるようにした。
【選択図】図1
特許請求の範囲
【請求項1】
パドルに装着する動態状況検知部と、パドリングの運動情報を検出し送信する動態状況検知部と、パドリングの運動情報を受信する推進力制御部と電動推進装置によって構成された水上遊具であって、
推進力制御部はパドリングの運動情報に応じて電動推進装置の推進力を制御することを特徴とする水上遊具。
続きを表示(約 350 文字)
【請求項2】
動態状況検知部は6軸慣性センサーを内蔵し、少なくともパドリングによるパドルの移動方向、移動速度または移動加速度を含む運動情報を推進力制御部に送信する請求項1に記載の水上遊具。
【請求項3】
推進力制御部は受信したパドリングの運動情報からパドリングによって生成される水上遊具の推進方向の推力を推定し、推定された推力に比例した推力を電動推進装置に発生させる請求項1および2に記載の水上遊具。
【請求項4】
電動推進装置は少なくとも2個のモーターを水上遊具底面の左右に有し、推進力制御部は受信したパドリングの運動情報からパドリングによって生成される推力によるトルクを推定し、前記トルクを相殺する推力を電動推進装置に発生させる請求項1乃至3に記載の水上遊具。
発明の詳細な説明
【技術分野】
【0001】
本発明は、パドルを使用する水上遊具に関するものである。
続きを表示(約 1,800 文字)
【背景技術】
【0002】
近年盛んになってきたマリンリゾートの遊具に、水面に浮かべたボード上に立ってパドリングで推進するパドルボード(Stand Up PaddleまたはSUP)やカヤックなどがあり、スポーツ用具として普及してきている。また、電動推進部つきのサーフボード(特許文献1、特許文献2)や交換可能な電動推進部モジュールを備えるサーフボード(特許文献3)なども提案されている。
【先行技術文献】
【特許文献】
【0003】
特開平11-48694号公報
特開2008-174209号公報
特開2015-16865号公報
【発明の概要】
【発明が解決しようとする課題】
【0004】
パドルボードやカヤック等の遊具では、風や波の影響が大きく初心者や体力が劣る人にとっては、風上に向かっての移動は大変である。また使用中に天候が悪化して沖へ流されるなどの事故も多発している。疲れて休憩するとその時間は風下に流されていく。結果として自然環境によって使用の可否や安全に遊べる人の習熟の度合いに制限がある。このため電動推進部をつけたサーフボードやパドルボードやカヤックが販売されている。しかし、そのような場合でも、パドルと電動推進部との連携はなくパドリングの楽しみが味わえないという課題がある。
【課題を解決するための手段】
【0005】
上記目的を達成するため本発明の水上遊具は、パドルに装着する動態状況検知部と、パドルボードに装着され、動態状況検知部から送られてきたデータに基づき電動推進部の推進力を制御する推進力制御部及び電動推進部によって構成される。
【0006】
上記構成によって、パドルボードやカヤック等の使用者のパドリングを検出し、パドリングによる推力を増強するよう電動推進部で支援するようにした。ゆっくり漕ぐときは低出力での推進支援、激しく漕ぐ際には、強力な推進支援を提供する。パドリングを停止すると推力支援も停止するため、安全面が担保される。また、パドルは、1本で左右交互に漕ぐため、操作に不慣れな場合どうしても蛇行するが、電動推進部のモーターを2個パドルボードの左右に設置する場合には2つのモーターの出力を適正制御することで蛇行を低減する。
【発明の効果】
【0007】
上記の構成によりパドルボードの使用者が強風や波のある環境でも、パドリングに応じた推力を得ることができるのでパドリングの楽しみを得ることができるという効果を有する。
【0008】
また、電動推進部のモーターを水上遊具の底面に2個左右に装着した場合は、パドリングによる蛇行を補正することができるため、初心者でも容易にまっすぐに推進させることが容易になりパドリングの楽しみを得ることが可能となる。
【0009】
さらに電動推進部の電池電圧の低下をパドルに装着された動態状況検知部に電動推進部から無線で送ることで、光や音でパドリング中に電力消費状態を把握できる。
【図面の簡単な説明】
【0010】
図1は本発明の構成を示すブロック図である。
図2は本発明の動態状況検知部をパドルシャフトに装着したイメージ図である。
図3は本発明の動態状況検知部の構成図である。
図4は本発明の動態状況検知部の内蔵バッテリーの充電装置の構成図である。
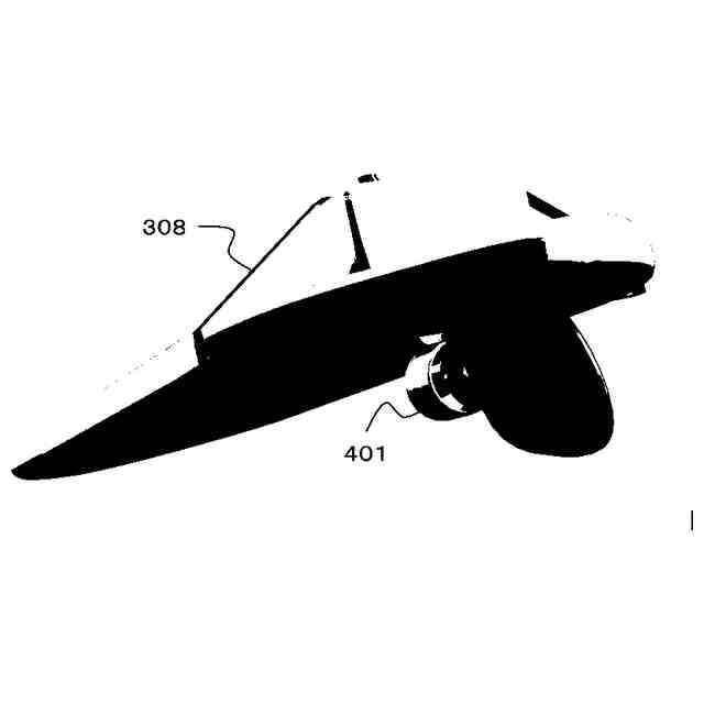
図5は本発明のパドルボードの斜め後方表面からの外観イメージ図である。
図6は本発明のパドルボードの斜め後方裏面からの外観イメージ図である。
図7は実施例1の推進力制御部および電動推進部の構成図である。
図8は実施例2の推進力制御部および電動推進部の構成図である。
図9は本発明の実施例1の電動推進部のイメージ図である。
図10は本発明の実施例2の電動推進部のイメージ図である。
図11はパドリングから推定した推力ベクトルと電動推進部に発生させる推力の関係を示す図である。
図12はパドリング時の蛇行補正の説明図である。
【発明を実施するための形態】
(【0011】以降は省略されています)
この特許をJ-PlatPat(特許庁公式サイト)で参照する
関連特許
個人
水上遊具
5か月前
個人
洋上研究所
3か月前
個人
川下り用船
11か月前
個人
津波防災ウエア
2か月前
個人
船用横揺防止具
8か月前
個人
補助機構
7か月前
個人
コンパクトシティ船
7か月前
個人
渦流動力推進構造
7か月前
個人
セールのバテンガイド装置
3か月前
炎重工株式会社
浮標
9か月前
炎重工株式会社
浮標
9か月前
個人
水質浄化・集熱昇温システム
4か月前
住友重機械工業株式会社
船舶
4か月前
株式会社フルトン
水中捕捉装置
7か月前
個人
スクリュープロペラ
7か月前
個人
船舶
9か月前
株式会社ラフティ
サーフボード
4か月前
オーケー工業株式会社
係留フック
8か月前
ペアリ株式会社
海の環境改善装置
5日前
個人
回転式による流体流出防止タンカー
7か月前
スズキ株式会社
船外機
6か月前
ヤマハ発動機株式会社
船外機
9か月前
スズキ株式会社
船外機
6か月前
常石造船株式会社
メタノール燃料船
10か月前
朝日電装株式会社
船外機用照明装置
2か月前
スズキ株式会社
船外機
7か月前
スズキ株式会社
船外機
7か月前
株式会社アカデミー出版
船舶
3か月前
ナブテスコ株式会社
主機制御システム
1か月前
藤倉コンポジット株式会社
架台
10か月前
株式会社ユピテル
システム及びプログラム等
6か月前
炎重工株式会社
自律航行浮遊体
9か月前
株式会社神戸タフ興産
船舶の甲板構造
11か月前
スズキ株式会社
電動船外機
7か月前
スズキ株式会社
船舶推進機
5か月前
株式会社大林組
浮体式構造物の設置方法
8か月前
続きを見る
他の特許を見る