TOP
|
特許
|
意匠
|
商標
特許ウォッチ
Twitter
他の特許を見る
公開番号
2025069568
公報種別
公開特許公報(A)
公開日
2025-05-01
出願番号
2023179363
出願日
2023-10-18
発明の名称
船外機
出願人
スズキ株式会社
代理人
個人
,
個人
,
個人
主分類
B63H
20/14 20060101AFI20250423BHJP(船舶またはその他の水上浮揚構造物;関連艤装品)
要約
【課題】シフト装置の小型化を図って走行抵抗を減らす。
【解決手段】船外機(1)には、動力伝達機構(30)を操作してプロペラ(27、28)を逆回転させるシフト装置(50)と、動力伝達機構及びシフト装置を収容するハウジング(14)と、が設けられている。シフト装置には、シフトシャフト(52)の回転を操作部(57)の上下動に変換するカム機構(54)と、操作部に連結してスライド可能なシフトスライダ(61)と、動力伝達機構を操作するドグクラッチ(66)と、シフトスライダとドグクラッチを連結するコネクタピンと、が設けられている。ハウジングには、アンチキャビテーションプレート(15)の上側の幅広部(16)と、アンチキャビテーションプレートの下側の幅狭部(17)と、が形成されている。動力伝達機構が幅広部に収容され、シフト装置の少なくともシフトスライダが幅狭部に収容されている。
【選択図】図6
特許請求の範囲
【請求項1】
エンジン側からプロペラ側に延びるアッパシャフト及びロアシャフトと、
前記アッパシャフトと前記ロアシャフトの間に介在した動力伝達機構と、
前記動力伝達機構を操作して前記プロペラを逆回転させるシフト装置と、
前記動力伝達機構及び前記シフト装置を収容するハウジングと、を備えた船外機であって、
前記シフト装置は、
アクチュエータ側から下方に延びるシフトシャフトと、
前記シフトシャフトの回転を操作部の上下動に変換するカム機構と、
前記操作部に連結して上下方向にスライド可能なシフトスライダと、
上下方向に移動して前記動力伝達機構を操作するドグクラッチと、
前記シフトスライダと前記ドグクラッチを連結するコネクタピンと、を有し、
前記ハウジングは、
前記プロペラの上方のアンチキャビテーションプレートと、
前記アンチキャビテーションプレートよりも上側の幅広部と、
前記アンチキャビテーションプレートよりも下側の幅狭部と、を有し、
前記動力伝達機構が前記幅広部に収容され、前記シフト装置の少なくとも前記シフトスライダが前記幅狭部に収容されていることを特徴とする船外機。
続きを表示(約 580 文字)
【請求項2】
前記シフトスライダは前記ロアシャフトの外周面に移動可能に設置され、
前記コネクタピンは前記ロアシャフトの内側に収容されていることを特徴とする請求項1に記載の船外機。
【請求項3】
前記動力伝達機構は、
前記アッパシャフトの下端部に固定された上側歯車と、
前記上側歯車に対して下方から対向する下側歯車と、
前記上側歯車及び前記下側歯車に噛み合う中間歯車と、を有し、
前記幅広部にて前記中間歯車が前記シフトシャフト側に設置されていることを特徴とする請求項1又は請求項2に記載の船外機。
【請求項4】
前記動力伝達機構は、
前記上側歯車及び前記下側歯車に噛み合う他の中間歯車を有し、
前記幅広部にて前記他の中間歯車が前記ドグクラッチを挟んで前記中間歯車に対向していることを特徴とする請求項3に記載の船外機。
【請求項5】
前記中間歯車の下方に前記カム機構が設置されていることを特徴とする請求項3に記載の船外機。
【請求項6】
前記エンジンの冷却用に水を汲み上げるウォータポンプを備え、
前記ウォータポンプは前記アッパシャフト上で前記ハウジングの上面に設置されていることを特徴とする請求項1又は請求項2に記載の船外機。
発明の詳細な説明
【技術分野】
【0001】
本発明は、船外機に関する。
続きを表示(約 2,700 文字)
【背景技術】
【0002】
船外機にはアクチュエータによってシフトポジションが切り替えられるシフト装置が設けられている(例えば、特許文献1参照)。特許文献1に記載の船外機では、エンジンから下方にアッパシャフトが延び、アッパシャフトの下端部にはアッパベベルギアが固定されている。アッパベベルギアはミドルベベルギアを介してロアベベルギアに連結し、ロアベベルギアにはロアシャフトが相対回転可能に挿し込まれている。ロアシャフトの上端部がロアベベルギアから突き出しており、このロアシャフトの上端部に固定されたドグクラッチがアッパベベルギアとロアベベルギアの対向スペースに位置付けられている。
【0003】
シフト装置では、アクチュエータによってドグクラッチがアッパベベルギアとロアベベルギアの間で上下に動かされる。ドグクラッチが上方に動かされてアッパベベルギアに連結すると、シフトポジションが前進に切り替わってエンジンの動力がアッパシャフトからロアシャフトにダイレクトに伝えられる。ドグクラッチが下方に動かされてロアベベルギアに連結すると、シフトポジションが後退に切り替わってドグクラッチを介してロアベベルギアとロアシャフトが連結する。エンジンの動力がアッパシャフトからアッパベベルギア、ミドルベベルギア、ロアベベルギアを介して逆転してロアシャフトに伝えられる。
【先行技術文献】
【特許文献】
【0004】
特開2015-202849号公報
【発明の概要】
【発明が解決しようとする課題】
【0005】
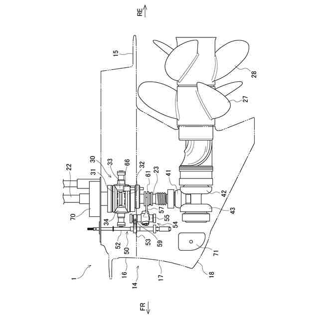
ところで、特許文献1に記載の船外機には、エンジンカバーの下方にアッパハウジング及びロアハウジングが設けられている。ロアハウジングにはアンチキャビテーションプレートが形成されており、アンチキャビテーションプレートの上側は幅広に形成され、アンチキャビテーションプレートの下側が幅狭に形成されている。上記のシフト装置では、アッパベベルギアとロアベベルギアの間にドグクラッチが位置しているため、シフト装置の構成部品がアッパベベルギア及びロアベベルギアと略同じ高さに設置される。ロアハウジングの幅広箇所が大きくなって走行抵抗が増加するおそれがある。
【0006】
本発明はかかる点に鑑みてなされたものであり、シフト装置の小型化を図って走行抵抗を減らすことができる船外機を提供することを目的とする。
【課題を解決するための手段】
【0007】
本発明の一態様の船外機は、エンジン側からプロペラ側に延びるアッパシャフト及びロアシャフトと、前記アッパシャフトと前記ロアシャフトの間に介在した動力伝達機構と、前記動力伝達機構を操作して前記プロペラを逆回転させるシフト装置と、前記動力伝達機構及び前記シフト装置を収容するハウジングと、を備えた船外機であって、前記シフト装置は、アクチュエータ側から下方に延びるシフトシャフトと、前記シフトシャフトの回転を操作部の上下動に変換するカム機構と、前記操作部に連結して上下方向にスライド可能なシフトスライダと、上下方向に移動して前記動力伝達機構を操作するドグクラッチと、前記シフトスライダと前記ドグクラッチを連結するコネクタピンと、を有し、前記ハウジングは、前記プロペラの上方のアンチキャビテーションプレートと、前記アンチキャビテーションプレートよりも上側の幅広部と、前記アンチキャビテーションプレートよりも下側の幅狭部と、を有し、前記動力伝達機構が前記幅広部に収容され、前記シフト装置の少なくとも前記シフトスライダが前記幅狭部に収容されていることで上記課題を解決する。
【発明の効果】
【0008】
本発明の一態様の船外機によれば、アクチュエータにシフトシャフトが回転されると、カム機構によってシフトスライダが上下方向にスライドされる。シフトスライダにはコネクタピンを介してドグクラッチが連結されており、ドグクラッチの上下方向の移動によって動力伝達機構が操作されてプロペラの回転方向が切り替えられる。また、動力伝達機構がハウジングの幅広部に収容されているが、シフト装置の少なくともシフトスライダはハウジングの幅狭部に収容されている。このため、シフト装置の設置による幅広部の高さ寸法の増加が抑えられ、ハウジングの前面投影面積が小さくなって走行抵抗が低減される。
【図面の簡単な説明】
【0009】
本実施例の船外機の側面図である。
本実施例の船外機の前面図である。
本実施例の第1のギア機構及びシフト装置の斜視図である。
本実施例の第1のギア機構及びシフト装置の側面図である。
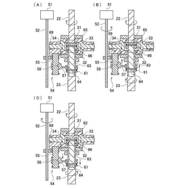
本実施例のシフトポジションの切替動作の説明図である。
本実施例のシフト装置及び第1のギア機構の部品レイアウトの説明図である。
【発明を実施するための形態】
【0010】
本発明の一態様の船外機では、エンジン側からプロペラ側にアッパシャフト及びロアシャフトが延び、アッパシャフトとロアシャフトの間には動力伝達機構が介在している。シフト装置によって動力伝達機構が操作されることでプロペラが逆回転されている。シフト装置では、アクチュエータ側から下方にシフトシャフトが延び、カム機構によってシフトシャフトの回転が操作部の上下動に変換されている。操作部には上下方向にスライド可能なシフトスライダが連結され、シフトスライダにはコネクタピンを介してドグクラッチが連結されている。ドグクラッチが上下方向に移動して動力伝達機構が操作される。アクチュエータにシフトシャフトが回転されると、カム機構によってシフトスライダが上下方向にスライドされる。シフトスライダにはコネクタピンを介してドグクラッチが連結されており、ドグクラッチの上下方向の移動によって動力伝達機構が操作されてプロペラの回転方向が切り替えられる。ハウジングには、プロペラの上方にアンチキャビテーションプレートが設けられている。アンチキャビテーションプレートよりも上側のハウジングが幅広部になっており、アンチキャビテーションプレートよりも下側のハウジングが幅狭部になっている。動力伝達機構がハウジングの幅広部に収容され、シフト装置の少なくともシフトスライダが幅狭部に収容されている。このため、シフト装置の設置による幅広部の高さ寸法の増加が抑えられ、ハウジングの前面投影面積が小さくなって走行抵抗が低減される。
【実施例】
(【0011】以降は省略されています)
この特許をJ-PlatPat(特許庁公式サイト)で参照する
関連特許
スズキ株式会社
車両構造
1か月前
スズキ株式会社
開閉機構
17日前
スズキ株式会社
車両構造
1か月前
スズキ株式会社
車両構造
1か月前
スズキ株式会社
シート構造
17日前
スズキ株式会社
シート構造
17日前
スズキ株式会社
車両検査装置
1か月前
スズキ株式会社
車両後部構造
1か月前
スズキ株式会社
運転支援装置
2日前
スズキ株式会社
車両側部構造
25日前
スズキ株式会社
動力伝達装置
15日前
スズキ株式会社
車両制御装置
15日前
スズキ株式会社
車両用制御装置
1か月前
スズキ株式会社
車両の制御装置
1か月前
スズキ株式会社
車両の制御装置
29日前
スズキ株式会社
車両用制御装置
26日前
スズキ株式会社
パーツボックス
2日前
スズキ株式会社
パーツボックス
2日前
スズキ株式会社
車両用ルーフ構造
15日前
スズキ株式会社
車両の可動ゲート
1か月前
スズキ株式会社
車両の速度制御装置
16日前
スズキ株式会社
電動車両の後部構造
1か月前
スズキ株式会社
電動車両の後部構造
1か月前
スズキ株式会社
車両の制御システム
29日前
スズキ株式会社
車両の制御システム
29日前
スズキ株式会社
内燃機関の吸気装置
2日前
スズキ株式会社
車両用リアバンパ構造
1か月前
スズキ株式会社
キャブオーバー型車両
1か月前
スズキ株式会社
エンジンの排気浄化装置
10日前
スズキ株式会社
エンジンの排気浄化装置
10日前
スズキ株式会社
エンジンのベルト伝動装置
1か月前
スズキ株式会社
多気筒エンジンの制御装置
17日前
スズキ株式会社
車両用ルーフライニング構造
15日前
スズキ株式会社
運転支援装置及び運転支援方法
1か月前
スズキ株式会社
ハイブリッド車両の動力伝達装置
2日前
スズキ株式会社
ハイブリッド車両の動力伝達装置
15日前
続きを見る
他の特許を見る