TOP
|
特許
|
意匠
|
商標
特許ウォッチ
Twitter
他の特許を見る
10個以上の画像は省略されています。
公開番号
2025177164
公報種別
公開特許公報(A)
公開日
2025-12-05
出願番号
2024083745
出願日
2024-05-23
発明の名称
上下振動翼推進人力艇
出願人
個人
代理人
主分類
B63H
16/18 20060101AFI20251128BHJP(船舶またはその他の水上浮揚構造物;関連艤装品)
要約
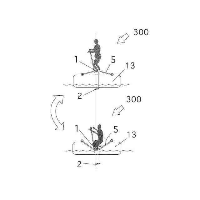
【課題】上下振動翼で走行する人力艇を提供することを目的とする。
【解決手段】水面に配置される浮力体6と、浮力体より上方に配置され、乗り手が乗る踏板と、踏板から延びる軸部材に接続され、水中に配置される推進翼と、踏板の上下移動を補助する補助部材と、乗り手が掴むハンドルとを備え、乗り手が体重を使って踏板を踏み下ろすことで、踏板が下方に移動し、推進翼が沈み、前方に向かう推進力を発生し、乗り手が踏板から抜重することで、補助部材の補助により、踏板が上方に移動する上下振動翼推進人力艇。
【選択図】図1
特許請求の範囲
【請求項1】
水面に配置される浮力体と、浮力体より上方に配置され、乗り手が乗る踏板と、踏板から延びる軸部材に接続され、水中に配置される推進翼と、踏板の上下移動を補助する補助部材と、乗り手が掴むハンドルとを備え、乗り手が体重を使って踏板を踏み下ろすことで、踏板が下方に移動し、推進翼が沈み、前方に向かう推進力を発生し、乗り手が踏板から抜重することで、補助部材の補助により、踏板が上方に移動する上下振動翼推進人力艇。
続きを表示(約 900 文字)
【請求項2】
推進翼は、両翼端が柔軟性を有する素材で形成され、走行中にも水流に対する仰角の振れ範囲を調整可能である請求項1に記載の上下振動翼推進人力艇。
【請求項3】
浮力体は、踏板の前後にそれぞれ配置され、軸形状に形成され、一端が踏板の前方に配置された浮力体に回動自在に接続され、他端が踏板に回動自在に接続された第1フレームと、軸形状に形成され、一端が踏板の後方に配置された浮力体に回動自在に接続され、他端が踏板に回動自在に接続された第2フレームとを備え、補助部材は第1フレームと第2フレームとに接続され、第1フレーム及び第2フレームの一端側を互いに近接する方向に付勢する付勢部材であり、乗り手が体重を使って踏板を踏み下ろすことで、推進翼が沈み、前方に向かう推進力を発生し、第1フレーム及び第2フレームの一端側が互いに離間する方向に移動し、乗り手が踏板から抜重することで、付勢部材により、第1フレーム及び第2フレームの一端側を互いに近接する方向に移動する請求項1又は2に記載の上下振動翼推進人力艇。
【請求項4】
補助部材は、基端が踏板に接続され、先端が浮力体に接続され、弾性変形可能な複数の弾性フレームであり、
複数の弾性フレームは、上方から見て、踏板から放射方向にそれぞれ延び、
乗り手が体重を使って踏板を踏み下ろすことで、踏板が下方に移動し、弾性フレームが弾性変形し、弾性フレームの弾性変形後の復元力を、踏板を上方に移動させる力として利用可能な請求項1又は2に記載の上下振動翼推進人力艇。
【請求項5】
浮力体は、踏板の左右にそれぞれ配置され、補助部材は、左右の浮力体からそれぞれ踏板に延びる弾性部材で形成されている請求項1又は2に記載の上下振動翼推進人力艇。
【請求項6】
浮力体は、踏板の下方において前後方向に延びる中央浮力体と、踏板の左右にそれぞれ配置された横安定用サイドフロートと、を備え、補助剤は、踏板の下方から延びて、中央浮力体に接続されている請求項1又は2に記載の上下振動翼推進人力艇。
発明の詳細な説明
【技術分野】
【0001】
本発明は、上下振動翼推進人力艇に関するものである。
続きを表示(約 1,300 文字)
【背景技術】
【0002】
従来水平翼を上下に振動させて推進するものは、水棲哺乳類あるいは水中翼乗物が知られている。
【0003】
このような水中翼乗物は、全重量を水中翼で支えて翼走をするために大きなエネルギーを消費する。
【0004】
また、水中翼乗物以外で水平翼を上下に振動させて推進する艇も有るが、手で押し引きする等、効率が悪い。
【発明の概要】
【発明が解決しようとする課題】
【0005】
本発明は、上下振動翼で推進する人力艇を提供することを目的とする。
【課題を解決するための手段】
【0006】
(1)水面に配置される浮力体と、浮力体より上方に配置され、乗り手が乗る踏板と、踏板から延びる軸部材に接続され、水中に配置される推進翼と、踏板の上下移動を補助する補助部材と、乗り手が掴むハンドルとを備え、乗り手が体重を使って踏板を踏み下ろすことで、踏板が下方に移動し、推進翼が沈み、前方に向かう推進力を発生し、乗り手が踏板から抜重することで、補助部材の補助により、踏板が上方に移動する上下振動翼推進人力艇。
【0007】
(2)推進翼は、両翼端が柔軟性を有する素材で形成され、走行中にも水流に対する仰角の振れ範囲を調整可能である(1)に記載の上下振動翼推進人力艇。
【0008】
(3)浮力体は、踏板の前後にそれぞれ配置され、軸形状に形成され、一端が踏板の前方に配置された浮力体に回動自在に接続され、他端が踏板に回動自在に接続された第1フレームと、軸形状に形成され、一端が踏板の後方に配置された浮力体に回動自在に接続され、他端が踏板に回動自在に接続された第2フレームとを備え、補助部材は第1フレームと第2フレームとに接続され、第1フレーム及び第2フレームの一端側を互いに近接する方向に付勢する付勢部材であり、乗り手が体重を使って踏板を踏み下ろすことで、推進翼が沈み、前方に向かう推進力を発生し、第1フレーム及び第2フレームの一端側が互いに離間する方向に移動し、乗り手が踏板から抜重することで、付勢部材により、第1フレーム及び第2フレームの一端側を互いに近接する方向に移動する(1)又は(2)に記載の上下振動翼推進人力艇。
【0009】
(4)補助部材は、基端が踏板に接続され、先端が浮力体に接続され、弾性変形可能な複数の弾性フレームであり、
複数の弾性フレームは、上方から見て、踏板から放射方向にそれぞれ延び、
乗り手が体重を使って踏板を踏み下ろすことで、踏板が下方に移動し、弾性フレームが弾性変形し、弾性フレームの弾性変形後の復元力を、踏板を上方に移動させる力として利用可能な(1)又は(2)に記載の上下振動翼推進人力艇。
【0010】
(5)浮力体は、踏板の左右にそれぞれ配置され、補助部材は、左右の浮力体からそれぞれ踏板に延びる弾性部材で形成されている(1)又は(2)に記載の上下振動翼推進人力艇。
(【0011】以降は省略されています)
この特許をJ-PlatPat(特許庁公式サイト)で参照する
関連特許
個人
水上遊具
6か月前
個人
洋上研究所
4か月前
個人
船用横揺防止具
10か月前
個人
補助機構
8か月前
個人
津波防災ウエア
3か月前
個人
コンパクトシティ船
8か月前
個人
上下振動翼推進人力艇
2日前
個人
渦流動力推進構造
8か月前
石田造船株式会社
内航船
1か月前
個人
セールのバテンガイド装置
5か月前
炎重工株式会社
浮標
11か月前
炎重工株式会社
浮標
11か月前
個人
水質浄化・集熱昇温システム
5か月前
住友重機械工業株式会社
船舶
5か月前
個人
船舶
11か月前
個人
スクリュープロペラ
8か月前
株式会社フルトン
水中捕捉装置
9か月前
株式会社ラフティ
サーフボード
5か月前
ペアリ株式会社
海の環境改善装置
1か月前
個人
回転式による流体流出防止タンカー
8か月前
オーケー工業株式会社
係留フック
9か月前
朝日電装株式会社
船外機用照明装置
4か月前
ヤマハ発動機株式会社
船外機
11か月前
スズキ株式会社
船外機
7か月前
株式会社アカデミー出版
船舶
4か月前
スズキ株式会社
船外機
8か月前
スズキ株式会社
船外機
8か月前
常石造船株式会社
メタノール燃料船
12か月前
スズキ株式会社
船外機
7か月前
ナブテスコ株式会社
主機制御システム
2か月前
株式会社ユピテル
システム及びプログラム等
8か月前
藤倉コンポジット株式会社
架台
11か月前
炎重工株式会社
自律航行浮遊体
11か月前
ヤマハ発動機株式会社
船外機および船舶
10か月前
個人
発光手段を備えたライフジャケット
7か月前
株式会社大林組
水中潜行システム
10か月前
続きを見る
他の特許を見る