TOP
|
特許
|
意匠
|
商標
特許ウォッチ
Twitter
他の特許を見る
公開番号
2025041089
公報種別
公開特許公報(A)
公開日
2025-03-26
出願番号
2023148165
出願日
2023-09-13
発明の名称
船外機
出願人
スズキ株式会社
代理人
個人
,
個人
,
個人
主分類
B63H
20/32 20060101AFI20250318BHJP(船舶またはその他の水上浮揚構造物;関連艤装品)
要約
【課題】微小塵捕捉装置の構造の複雑化、船外機の大型化、または船外機の製造コストの上昇を回避しつつ、微小塵の捕捉効率を高める。
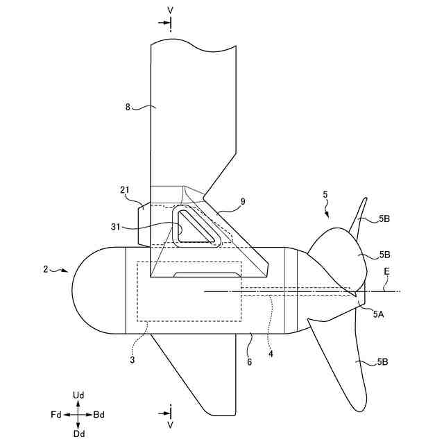
【解決手段】船外機1は、プロペラユニット2、支持部8および微小塵捕捉装置21を備え、支持部8は上下方向に伸長した柱状に形成され、支持部8の下端部にはプロペラユニット2が支持されている。微小塵捕捉装置21は、船外機1の周囲の水を流通させる通路27を有し、通路27内を流通する水に含まれる微小塵を捕捉する。また、微小塵捕捉装置21は、通路27の伸長方向が船外機1の前後方向となるように支持部8の下端部とプロペラユニット2のプロペラユニットケース6との間に設けられている。
【選択図】図1
特許請求の範囲
【請求項1】
船舶を推進させる船外機であって、
プロペラシャフト、前記プロペラシャフトに固定されたプロペラ、および前記プロペラシャフトを回転可能に支持するケースを有するプロペラユニットと、
上下方向に伸長した柱状に形成され、下端部に前記プロペラユニットが支持された支持部と、
前記支持部の上部に設けられ、前記支持部を前記船舶に取り付けるブラケットと、
当該船外機の周囲の水を流通させる通路を有し、前記通路内を流通する水に含まれる微小塵を捕捉する微小塵捕捉装置とを備え、
前記微小塵捕捉装置は、前記通路の伸長方向が当該船外機の前後方向となるように前記支持部の下端部と前記ケースとの間に設けられていることを特徴とする船外機。
続きを表示(約 1,000 文字)
【請求項2】
前記微小塵捕捉装置は前記支持部の下端部の左右方向中央に配置されていることを特徴とする請求項1に記載の船外機。
【請求項3】
前記支持部の下端部には2つの結合部が設けられ、前記2つの結合部のうち、一方の結合部は前記支持部の下端部と前記ケースの左部との間を結合し、他方の結合部は前記支持部の下端部と前記ケースの右部との間を結合し、前記支持部の下端部と前記ケースの上部の左右方向中央部との間には空間が形成され、前記空間内に前記微小塵捕捉装置が設けられていることを特徴とする請求項1に記載の船外機。
【請求項4】
前記2つの結合部のうち、一方の結合部は前記支持部の下端部から左に傾斜しつつ下方に伸長して前記ケースの左部に至り、他方の結合部は前記支持部の下端部から右に傾斜しつつ下方に伸長して前記ケースの右部に至っていることを特徴とする請求項3に記載の船外機。
【請求項5】
前記微小塵捕捉装置は前記ケースの上面に接していることを特徴とする請求項3または4に記載の船外機。
【請求項6】
当該船外機を前から見たとき前記空間の形状は三角形であり、前記微小塵捕捉装置は三角形の横断面形状を有する筒状に形成され、前記微小塵捕捉装置は、前記微小塵捕捉装置の三角形の横断面形状が前記空間の三角形の形状に合致するように前記空間内に設けられていることを特徴とする請求項3または4に記載の船外機。
【請求項7】
前記微小塵捕捉装置は、
筒状に形成された本体部と、
前記本体部の軸方向一端側に設けられ、当該船外機の周囲の水を前記通路内に流入させる取水口と、
前記本体部内において前記通路の途中に設けられ、前記通路を流通する水を通過させることにより当該水に含まれる微小塵を捕捉するフィルタと、
前記本体部の軸方向他端側に設けられ、前記フィルタを通過した後の水を当該船外機の周囲に排出する排出口とを備え、
前記通路は前記本体部内を前記本体部の軸方向に伸長していることを特徴とする請求項3または4に記載の船外機。
【請求項8】
前記本体部の少なくとも一部は透明な材料により形成され、前記2つの結合部のうち少なくとも一方の結合部には、当該結合部を貫通した貫通穴が形成され、前記微小塵捕捉装置が前記空間内に設けられた状態において、前記貫通穴は、前記本体部において透明な材料により形成された部分に対応する位置に配置されていることを特徴とする請求項7に記載の船外機。
発明の詳細な説明
【技術分野】
【0001】
本発明は、船舶を推進させる船外機に関する。
続きを表示(約 1,800 文字)
【背景技術】
【0002】
近年、海、湖、河川等において、例えばマイクロプラスチック等の微小塵による汚染が問題となっており、このような微小塵を海、湖、河川等から回収して、海、湖、河川等を浄化することが望まれている。
【0003】
特開2021-169240号公報(特許文献1)には、海、湖、河川等の水に含まれる微小塵を回収できるようにした船外機が記載されている。上記公報に記載された船外機には、微小塵を捕捉する微小塵捕捉装置が設けられている。微小塵捕捉装置は、取水口、捕捉器および排出口を有している。船舶の航行時には、海、湖、河川等の水が、取水口から捕捉器内に流入し、捕捉器内に設けられたフィルタを通過した後、排出口から海、湖、河川等へ排出される。水がフィルタを通過するときに、水に含まれる微小塵がフィルタにより捕捉される。
【先行技術文献】
【特許文献】
【0004】
特開2021-169240号公報
【発明の概要】
【発明が解決しようとする課題】
【0005】
海、湖、河川等の浄化を促進させるためには、船舶の単位航行時間当たりの微小塵の捕捉量、または単位航行距離当たりの微小塵の捕捉量を増やし、微小塵の捕捉効率を高めることが望まれる。
【0006】
特開2021-169240号公報に記載された従来の船外機に設けられた微小塵捕捉装置において、取水口は、船外機の前部であって水面下に位置する部分に配置され、排出口は、船外機において水面よりも上側に位置する部分に配置されている。また、当該微小塵捕捉装置には、取水口と排出口とを接続する通路が設けられ、その通路は捕捉器内を通っている。また、捕捉器内において通路の途中にフィルタが配置されている。また、当該微小塵捕捉装置においては、取水口が水面下に位置し、排水口が水面よりも上側に位置するので、取水口と排出口とを接続する通路は上下方向に伸長している。
【0007】
船舶の前進時には、水が船外機の周囲を船外機の前方から後方へ前後方向に流れる。上記従来の船外機に設けられた微小塵捕捉装置は、この船外機の前後方向の水流による水の圧力を利用して、通路内に水を流通させる。しかしながら、船外機の周囲の水流が前後方向であるのに対し、当該微小塵捕捉装置の通路の伸長方向は上下方向であるので、通路内を水が流通し難くなることがあり、通路内を流通する水の流量を増やすことが難しく、それゆえ、フィルタを通過する水の流量を増やすことが難しい。その結果、単位航行時間当たりの微小塵の捕捉量、または単位航行距離当たりの微小塵の捕捉量を増やすことが困難であり、微小塵の捕捉効率を高めることが難しい。
【0008】
この点、微小塵捕捉装置にポンプを追加し、ポンプにより、取水口から水を吸引して、通路内を流通する水の流量を増やすことが考えられる。しかしながら、ポンプの追加は、微小塵捕捉装置の構造の複雑化、船外機の大型化、または船外機の製造コストの上昇を招くため、好ましくない。
【0009】
本発明は例えば上述したような問題に鑑みなされたものであり、本発明の課題は、微小塵捕捉装置の構造の複雑化、船外機の大型化、または船外機の製造コストの上昇を回避しつつ、微小塵の捕捉効率を高めることができる船外機を提供することにある。
【課題を解決するための手段】
【0010】
上記課題を解決するために、本発明は、船舶を推進させる船外機であって、プロペラシャフト、前記プロペラシャフトに固定されたプロペラ、および前記プロペラシャフトを回転可能に支持するケースを有するプロペラユニットと、上下方向に伸長した柱状に形成され、下端部に前記プロペラユニットが支持された支持部と、前記支持部の上部に設けられ、前記支持部を前記船舶に取り付けるブラケットと、当該船外機の周囲の水を流通させる通路を有し、前記通路内を流通する水に含まれる微小塵を捕捉する微小塵捕捉装置とを備え、前記微小塵捕捉装置は、前記通路の伸長方向が当該船外機の前後方向となるように前記支持部の下端部と前記ケースとの間に設けられていることを特徴とする。
【発明の効果】
(【0011】以降は省略されています)
この特許をJ-PlatPat(特許庁公式サイト)で参照する
関連特許
スズキ株式会社
車両構造
23日前
スズキ株式会社
車両構造
23日前
スズキ株式会社
車両構造
23日前
スズキ株式会社
車両構造
23日前
スズキ株式会社
車室構造
23日前
スズキ株式会社
車室構造
23日前
スズキ株式会社
車室構造
23日前
スズキ株式会社
車両構造
23日前
スズキ株式会社
車両構造
23日前
スズキ株式会社
車両構造
23日前
スズキ株式会社
車両構造
23日前
スズキ株式会社
車両後部構造
17日前
スズキ株式会社
車両側部構造
5日前
スズキ株式会社
車両検査装置
18日前
スズキ株式会社
車両の制御装置
9日前
スズキ株式会社
車両用荷室構造
23日前
スズキ株式会社
車両の制御装置
16日前
スズキ株式会社
車両用制御装置
6日前
スズキ株式会社
車両用制御装置
18日前
スズキ株式会社
車体ルーフ構造
23日前
スズキ株式会社
車両の可動ゲート
12日前
スズキ株式会社
車両の制御システム
9日前
スズキ株式会社
車両の制御システム
9日前
スズキ株式会社
電動車両の後部構造
17日前
スズキ株式会社
電動車両の後部構造
17日前
スズキ株式会社
梱包対象物の緩衝構造
1か月前
スズキ株式会社
車両用リアバンパ構造
19日前
スズキ株式会社
キャブオーバー型車両
12日前
スズキ株式会社
エンジンの排気ポート構造
23日前
スズキ株式会社
エンジンのベルト伝動装置
18日前
スズキ株式会社
車両用グロメット周辺構造
24日前
スズキ株式会社
運転支援装置及び運転支援方法
11日前
スズキ株式会社
車両用シートベルトバックル固定構造
11日前
スズキ株式会社
内燃機関のオイルレベルゲージの支持構造
11日前
住友電装株式会社
電気接続箱および制御ユニット
25日前
スズキ株式会社
車両構造
19日前
続きを見る
他の特許を見る