TOP
|
特許
|
意匠
|
商標
特許ウォッチ
Twitter
他の特許を見る
公開番号
2025116331
公報種別
公開特許公報(A)
公開日
2025-08-08
出願番号
2024010685
出願日
2024-01-29
発明の名称
車両用ペダル構造
出願人
スズキ株式会社
代理人
個人
,
個人
主分類
B60K
26/02 20060101AFI20250801BHJP(車両一般)
要約
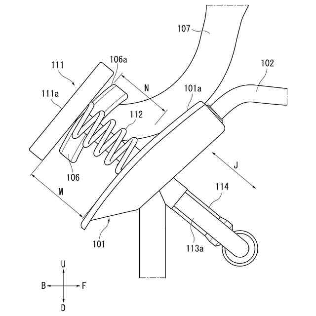
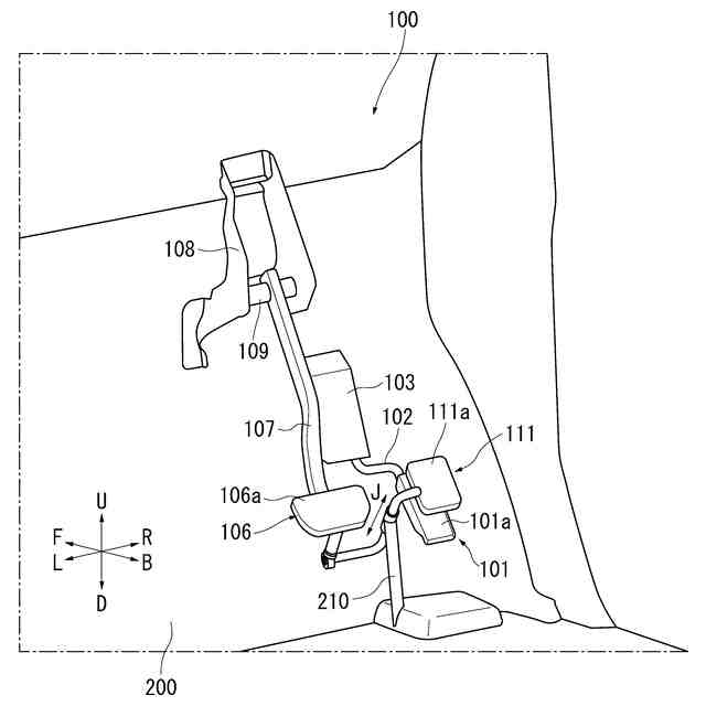
【課題】車両の乗員が急ブレーキをかけようとしてブレーキペダルでなくアクセルペダルを誤って選択してしまった場合に、より安全に車両を制動できる車両用ペダル構造を提供する。
【解決手段】互いに隣接するアクセルペダル101およびブレーキペダル106を備える車両用ペダル構造100であって、アクセルペダル101の踏面101aから乗員側に所定距離をおいて配置されアクセルペダル101よりも先に乗員に踏まれる補助ペダル111と、補助ペダル111とブレーキペダル106との間に介在し補助ペダル111が踏まれたときの力を受けるアブソーバ114とを備え、アブソーバ114は、力によってアブソーバ114に生じるストローク速度が所定値以上である場合に減衰力を発生させてブレーキペダル106を連動させることで制動を行う。
【選択図】図2
特許請求の範囲
【請求項1】
互いに隣接するアクセルペダルおよびブレーキペダルを備える車両用ペダル構造であって、
前記アクセルペダルの踏面から乗員側に所定距離をおいて配置され前記アクセルペダルよりも先に前記乗員に踏まれる補助ペダルと、
前記補助ペダルと前記ブレーキペダルとの間に介在し前記補助ペダルが踏まれたときの力を受けるアブソーバとを備え、
前記アブソーバは、前記力によって前記アブソーバに生じるストローク速度が所定値以上である場合に減衰力を発生させて前記ブレーキペダルを連動させることで制動を行うことを特徴とする車両用ペダル構造。
続きを表示(約 160 文字)
【請求項2】
前記所定距離は、前記ブレーキペダルのストローク量よりも大きいことを特徴とする請求項1に記載の車両用ペダル構造。
【請求項3】
当該車両用ペダル構造はさらに、
前記アクセルペダルと前記補助ペダルとを連結する弾性部材を備えることを特徴とする請求項1または2に記載の車両用ペダル構造。
発明の詳細な説明
【技術分野】
【0001】
本発明は、車両用ペダル構造に関するものである。
続きを表示(約 1,700 文字)
【背景技術】
【0002】
例えば特許文献1には、車両の急発進を防止する装置が開示されている。同装置は、アクセルペダルと、アクセルレバーの可動範囲を規制するアクセルペダルが当接するストッパとを備え、アクセルペダルがストッパに接触するまでは、アクセルペダルとアクセルレバーとを一体的に連結してアクセルを機能させる。アクセルペダルがストッパに接触した以降さらに踏み込まれると、アクセルペダルとアクセルレバーとの一体化を解いてブレーキペダルを押し下げて制動を行う。特許文献1は、この装置により、ブレーキペダルとアクセルペダルとの踏み間違いによる車両の急発進を防止できるとしている。
【先行技術文献】
【特許文献】
【0003】
特開2021-138304号公報
【発明の概要】
【発明が解決しようとする課題】
【0004】
しかし、特許文献1の装置では、誤って踏まれたアクセルペダルがストッパに接触して初めてブレーキペダルが押し下げられる。すなわち、ストッパに接触するまでのアクセルペダルの動きによって、わずかな時間にせよ加速が行われ、車両が動いてしまうおそれがある。
【0005】
本発明はこのような課題に鑑み、車両の乗員が急ブレーキをかけようとしてブレーキペダルでなくアクセルペダルを誤って選択してしまった場合に、より安全に車両を制動できる車両用ペダル構造を提供することを目的としている。
【課題を解決するための手段】
【0006】
上記課題を解決するために、本発明の代表的な構成は、互いに隣接するアクセルペダルおよびブレーキペダルを備える車両用ペダル構造であって、アクセルペダルの踏面から乗員側に所定距離をおいて配置されアクセルペダルよりも先に乗員に踏まれる補助ペダルと、補助ペダルとブレーキペダルとの間に介在し補助ペダルが踏まれたときの力を受けるアブソーバとを備え、アブソーバは、力によってアブソーバに生じるストローク速度が所定値以上である場合に減衰力を発生させてブレーキペダルを連動させることで制動を行うことを特徴とする。
【発明の効果】
【0007】
本発明によれば、車両の乗員が急ブレーキをかけようとしてブレーキペダルでなくアクセルペダルを誤って選択してしまった場合に、より安全に車両を制動できる車両用ペダル構造を提供することができる。
【図面の簡単な説明】
【0008】
本発明の実施例に係る車両用ペダル構造の斜視図である。
図1の車両用ペダル構造の拡大斜視図である。
図1の車両用ペダル構造を車幅方向右側から見た側面図である。
【発明を実施するための形態】
【0009】
本発明の一実施の形態は、互いに隣接するアクセルペダルおよびブレーキペダルを備える車両用ペダル構造であって、アクセルペダルの踏面から乗員側に所定距離をおいて配置されアクセルペダルよりも先に乗員に踏まれる補助ペダルと、補助ペダルとブレーキペダルとの間に介在し補助ペダルが踏まれたときの力を受けるアブソーバとを備え、アブソーバは、力によってアブソーバに生じるストローク速度が所定値以上である場合に減衰力を発生させてブレーキペダルを連動させることで制動を行うことを特徴とする。
【0010】
本発明によれば、車両の乗員が急ブレーキをかけようとしてブレーキペダルでなくアクセルペダルを誤って選択してしまった場合、すなわち所定値以上のストローク速度でアクセルペダルが踏まれようとした場合に、先に補助ペダルを踏むこととなる。その結果、補助ペダルはアブソーバに減衰力を発生させてブレーキペダルを連動させ、乗員は実質的にブレーキペダルを踏んで車両を制動する。すなわち補助ペダルを介してアクセルペダルが踏まれる前に車両の制動を開始するので、ブレーキペダルおよびアクセルペダルの踏み間違いにより引き起こされる車両の急加速を防止し、安全に車両を制動できる。
(【0011】以降は省略されています)
この特許をJ-PlatPat(特許庁公式サイト)で参照する
関連特許
スズキ株式会社
排気装置
29日前
スズキ株式会社
排気装置
29日前
スズキ株式会社
車両前部構造
1か月前
スズキ株式会社
車両用変速機
19日前
スズキ株式会社
運転支援装置
1か月前
スズキ株式会社
車両側部構造
28日前
スズキ株式会社
車両側部構造
28日前
スズキ株式会社
車両前部構造
19日前
スズキ株式会社
モータケース
19日前
スズキ株式会社
車両用バンパ
19日前
スズキ株式会社
燃料電池車両
6日前
スズキ株式会社
燃料電池車両
6日前
スズキ株式会社
車両の制御装置
21日前
スズキ株式会社
積立金管理装置
27日前
スズキ株式会社
車両の制御装置
1か月前
スズキ株式会社
車両の制御装置
12日前
スズキ株式会社
車両用送風構造
13日前
スズキ株式会社
車両用送風構造
13日前
スズキ株式会社
車両用送風構造
13日前
スズキ株式会社
車両用制御装置
28日前
スズキ株式会社
ブレーキシステム
20日前
スズキ株式会社
クラッチ冷却装置
28日前
スズキ株式会社
車両のルーフ構造
19日前
スズキ株式会社
衝突被害軽減装置
5日前
スズキ株式会社
ハイブリッド車両
19日前
スズキ株式会社
流体封入式防振装置
28日前
スズキ株式会社
車両の照明制御装置
6日前
スズキ株式会社
車両の制御システム
5日前
スズキ株式会社
車両用乗員保護装置
1か月前
スズキ株式会社
車両の制御システム
5日前
スズキ株式会社
内燃機関の制御装置
1か月前
スズキ株式会社
車両の熱害防止構造
6日前
スズキ株式会社
オイルポンプ軸構造
1か月前
スズキ株式会社
電動車両の制御装置
19日前
スズキ株式会社
内燃機関の制御装置
19日前
スズキ株式会社
梱包対象物の緩衝部材
5日前
続きを見る
他の特許を見る