TOP
|
特許
|
意匠
|
商標
特許ウォッチ
Twitter
他の特許を見る
公開番号
2025137011
公報種別
公開特許公報(A)
公開日
2025-09-19
出願番号
2024035976
出願日
2024-03-08
発明の名称
内燃機関の制御装置
出願人
スズキ株式会社
代理人
弁理士法人日誠国際特許事務所
主分類
F02D
45/00 20060101AFI20250911BHJP(燃焼機関;熱ガスまたは燃焼生成物を利用する機関設備)
要約
【課題】専用のセンサ類を設けることなくデポジット堆積量を推定して、デポジットの除去運転を実施することができる内燃機関の制御装置を提供すること。
【解決手段】エンジン2のノッキングの発生を検知するノッキングセンサ25と、エンジン2の回転数を検出するエンジン回転数センサ26と、ノッキングが発生した際のエンジン2の回転数及び負荷から筒内実圧縮比を推定し、推定された筒内実圧縮比に基づいてエンジン2の燃焼室7内に堆積したデポジット量を推定し、推定されたデポジット量に応じたデポジットの除去運転を実施するECU3と、を備える。
【選択図】図1
特許請求の範囲
【請求項1】
内燃機関のノッキングの発生を検知するノッキングセンサと、
前記内燃機関の回転数を検出するエンジン回転数センサと、を有する内燃機関の制御装置であって、
ノッキングが発生した際の前記内燃機関の回転数及び負荷から筒内実圧縮比を推定し、推定された筒内実圧縮比に基づいて前記内燃機関の燃焼室内に堆積したデポジット量を推定し、推定されたデポジット量に応じたデポジットの除去運転を実施する制御部を備える内燃機関の制御装置。
続きを表示(約 390 文字)
【請求項2】
前記制御部は、前記内燃機関のノッキングが発生した時の前記内燃機関の回転数と負荷から前記内燃機関の筒内実圧縮比を求めるマップを有し、
前記マップは、筒内実圧縮比に対応した複数の領域を有し、
前記制御部は、前記領域ごとに前記内燃機関のノッキングが発生した回数をカウントし、カウントされた値が前記領域ごとの所定の判定値以上に達したことで筒内実圧縮比が該領域に対応する筒内実圧縮比であると推定する請求項1に記載の内燃機関の制御装置。
【請求項3】
前記判定値は、対応する筒内実圧縮比が高いほど小さく設定される請求項2に記載の内燃機関の制御装置。
【請求項4】
前記制御部は、推定された筒内実圧縮比が所定値以上の場合、プレイグニッション抑制制御を実施する請求項1から請求項3のいずれか1項に記載の内燃機関の制御装置。
発明の詳細な説明
【技術分野】
【0001】
本発明は、内燃機関の制御装置に関する。
続きを表示(約 1,300 文字)
【背景技術】
【0002】
内燃機関の稼働時間が増加するのに伴って、燃焼室へのデポジットの堆積量が増加する。デポジットの堆積は、ノッキングやプレイグニッションといった異常燃焼の原因となるが、特にプレイグニッションは内燃機関へ大きなダメージを与えるおそれがある。
【0003】
そのため、デポジットの堆積量が多くなった場合など、適切なタイミングでデポジットの除去運転を実施し、プレイグニッションの発生を抑制させる必要がある。
【0004】
特許文献1には、デポジットの厚さを取得する専用のセンサを備えることで、除去運転が必要なほどデポジットが堆積しているかどうかを判断することが記載されている。
【先行技術文献】
【特許文献】
【0005】
国際公開第2013/084309号
【発明の概要】
【発明が解決しようとする課題】
【0006】
しかしながら、特許文献1に記載のような構成では、センサ類を追加する分の重量の増加や、ハードレイアウトの変更に伴う工数増加といった問題を避けられない。
【0007】
そこで、本発明は、専用のセンサ類を設けることなくデポジット堆積量を推定して、デポジットの除去運転を実施することができる内燃機関の制御装置を提供することを目的としている。
【課題を解決するための手段】
【0008】
上記課題を解決するため本発明は、内燃機関のノッキングの発生を検知するノッキングセンサと、前記内燃機関の回転数を検出するエンジン回転数センサと、を有する内燃機関の制御装置であって、ノッキングが発生した際の前記内燃機関の回転数及び負荷から筒内実圧縮比を推定し、推定された筒内実圧縮比に基づいて前記内燃機関の燃焼室内に堆積したデポジット量を推定し、推定されたデポジット量に応じたデポジットの除去運転を実施する制御部を備えるものである。
【発明の効果】
【0009】
このように、本発明によれば、専用のセンサ類を設けることなくデポジット堆積量を推定して、デポジットの除去運転を実施することができる。
【図面の簡単な説明】
【0010】
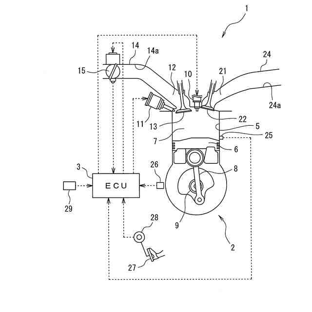
図1は、本発明の一実施例に係る内燃機関の制御装置を搭載した車両の概略構成図である。
図2は、本発明の一実施例に係る内燃機関の制御装置のエンジンのノッキングが発生した時のエンジン回転数と負荷からエンジンの筒内実圧縮比を求めるマップの例を示す図であり、図2(a)は、マップの初期状態の例を示す図であり、図2(b)は、マップのノッキング領域が拡大したときの例を示す図である。
図3は、本発明の一実施例に係る内燃機関の制御装置のデポジット除去制御処理の手順を示すフローチャートである。
図4は、本発明の一実施例に係る内燃機関の制御装置のデポジット除去制御処理によるノッキングカウントの変化を示すタイムチャートである。
【発明を実施するための形態】
(【0011】以降は省略されています)
この特許をJ-PlatPat(特許庁公式サイト)で参照する
関連特許
スズキ株式会社
車両構造
1か月前
スズキ株式会社
車両構造
1か月前
スズキ株式会社
車両構造
1か月前
スズキ株式会社
車両構造
1か月前
スズキ株式会社
車両構造
1か月前
スズキ株式会社
車両構造
1か月前
スズキ株式会社
車室構造
1か月前
スズキ株式会社
車室構造
1か月前
スズキ株式会社
車両構造
1か月前
スズキ株式会社
車両構造
1か月前
スズキ株式会社
開閉機構
10日前
スズキ株式会社
車室構造
1か月前
スズキ株式会社
シート構造
10日前
スズキ株式会社
シート構造
10日前
スズキ株式会社
車両後部構造
1か月前
スズキ株式会社
燃料電池車両
1か月前
スズキ株式会社
燃料電池車両
1か月前
スズキ株式会社
車両用変速機
1か月前
スズキ株式会社
モータケース
1か月前
スズキ株式会社
車両用バンパ
1か月前
スズキ株式会社
車両前部構造
1か月前
スズキ株式会社
車両検査装置
1か月前
スズキ株式会社
車両側部構造
2か月前
スズキ株式会社
車両制御装置
8日前
スズキ株式会社
動力伝達装置
8日前
スズキ株式会社
車両側部構造
18日前
スズキ株式会社
車両の制御装置
22日前
スズキ株式会社
車両用送風構造
1か月前
スズキ株式会社
車両用制御装置
19日前
スズキ株式会社
車両用制御装置
1か月前
スズキ株式会社
車両用荷室構造
1か月前
スズキ株式会社
車両の制御装置
1か月前
スズキ株式会社
車両用送風構造
1か月前
スズキ株式会社
車両の制御装置
29日前
スズキ株式会社
積立金管理装置
2か月前
スズキ株式会社
車両用送風構造
1か月前
続きを見る
他の特許を見る