TOP
|
特許
|
意匠
|
商標
特許ウォッチ
Twitter
他の特許を見る
10個以上の画像は省略されています。
公開番号
2025110971
公報種別
公開特許公報(A)
公開日
2025-07-30
出願番号
2024005067
出願日
2024-01-17
発明の名称
リモートコントロール装置
出願人
スズキ株式会社
代理人
個人
,
個人
,
個人
主分類
B63H
25/02 20060101AFI20250723BHJP(船舶またはその他の水上浮揚構造物;関連艤装品)
要約
【課題】リモートコントロール装置に設けられたディスプレイの画面に表示された情報が、外からの光の具合、設置面の傾斜角度または操船の態様等によって見難くなることを抑制する。
【解決手段】リモートコントロール装置11は、本体ケース13およびリモートコントロールレバー17を有するリモートコントロール装置本体12と、ディスプレイケース23およびディスプレイ25を有するディスプレイユニット22と、ディスプレイユニット22とリモートコントロール装置本体12とを互いに結合し、かつディスプレイユニット22を支持する支持アーム41とを備え、支持アーム41は、左右方向に伸長した回動軸X2を中心にディスプレイユニット22をリモートコントロール装置本体12に対して回動させることができるようにディスプレイユニット22とリモートコントロール装置本体12とを結合している。
【選択図】図3
特許請求の範囲
【請求項1】
船舶に設けられた船舶推進機を遠隔操作するリモートコントロール装置であって、
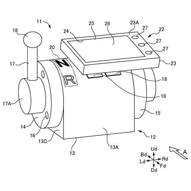
前記船舶に設けられた設置面に設置される本体ケース、および前記本体ケースに取り付けられたリモートコントロールレバーを有するリモートコントロール装置本体と、
ディスプレイケース、および前記ディスプレイケース内に設けられたディスプレイを有し、前記本体ケース外に設けられたディスプレイユニットと、
前記ディスプレイユニットと前記リモートコントロール装置本体とを互いに結合し、前記ディスプレイユニットを支持する支持機構とを備え、
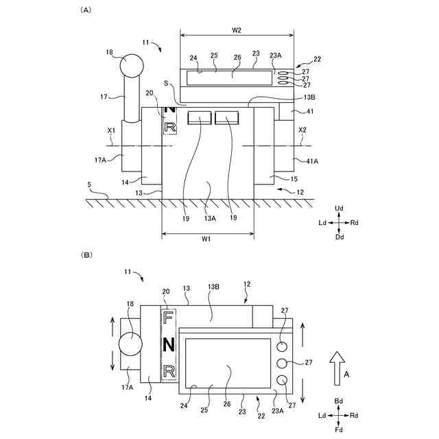
前記設置面と直交する方向を上下方向とし、上下方向と直交する一の方向を前後方向とし、上下方向および前後方向と直交する方向を左右方向とすると、前記支持機構は、左右方向に伸長した回動軸を中心に前記ディスプレイユニットを前記リモートコントロール装置本体に対して回動させることができるように前記ディスプレイユニットと前記リモートコントロール装置本体とを結合していることを特徴とするリモートコントロール装置。
続きを表示(約 1,400 文字)
【請求項2】
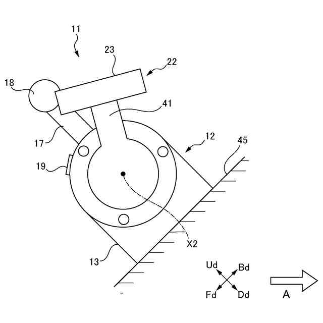
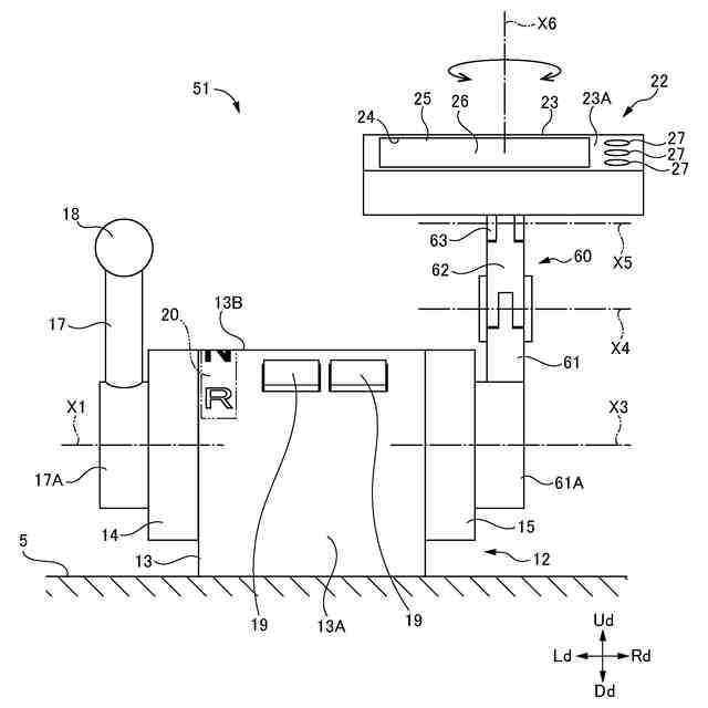
前記支持機構は左右方向と交わる方向に伸長した支持アームであり、前記支持アームの基端部は、前記支持アームが左右方向に伸長した回動軸を中心に前記リモートコントロール装置本体に対して回動可能となるように前記本体ケースに結合され、前記支持アームの先端部は前記ディスプレイケースに結合されていることを特徴とする請求項1に記載のリモートコントロール装置。
【請求項3】
前記支持機構は左右方向と交わる方向に伸長した支持アームであり、前記支持アームの基端部は前記本体ケースに結合され、前記支持アームの先端部は、前記ディスプレイユニットが左右方向に伸長した回動軸を中心に前記支持アームに対して回動可能となるように前記ディスプレイケースに結合されていることを特徴とする請求項1に記載のリモートコントロール装置。
【請求項4】
前記支持機構は左右方向と交わる方向に伸長した支持アームであり、前記支持アームの基端部は、前記支持アームが左右方向に伸長した回動軸を中心に前記リモートコントロール装置本体に対して回動可能となるように前記本体ケースに結合され、前記支持アームの先端部は、前記ディスプレイユニットが左右方向に伸長した回動軸を中心に前記支持アームに対して回動可能となるように前記ディスプレイケースに結合されていることを特徴とする請求項1に記載のリモートコントロール装置。
【請求項5】
前記支持機構は左右方向と交わる方向に伸長した支持アームであり、前記支持アームは、前記支持アームの基端側部分を形成する第1のアーム片と、前記支持アームの先端側部分を形成する第2のアーム片とを有し、前記第2のアーム片の基端部は、前記第2のアーム片が左右方向に伸長した回動軸を中心に前記第1のアーム片に対して回動可能となるように前記第1のアーム片の先端部に結合され、前記第1のアーム片の基端部は前記本体ケースに結合され、前記第2のアーム片の先端部は前記ディスプレイケースに結合されていることを特徴とする請求項1に記載のリモートコントロール装置。
【請求項6】
前記支持アームは、前記支持アームの基端側部分を形成する第1のアーム片と、前記支持アームの先端側部分を形成する第2のアーム片とを有し、前記第2のアーム片の基端部は、前記第2のアーム片が左右方向に伸長した回動軸を中心に前記第1のアーム片に対して回動可能となるように前記第1のアーム片の先端部に結合されていることを特徴とする請求項2ないし4のいずれかに記載のリモートコントロール装置。
【請求項7】
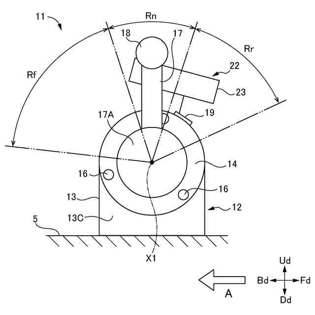
前記本体ケースの上面は、前記支持アームの基端部が前記リモートコントロール装置本体に対して回動する回動軸を中心とした円弧を描くように湾曲していることを特徴とする請求項2または4に記載のリモートコントロール装置。
【請求項8】
前記支持アームの基端部が前記リモートコントロール装置本体に対して回動する回動軸は、前記リモートコントロールレバーの回動軸と一致していることを特徴とする請求項2または4に記載のリモートコントロール装置。
【請求項9】
前記ディスプレイユニットは、前記ディスプレイの画面と直交する方向に伸長した回動軸を中心に回動可能となるように前記支持アームの先端部に結合されていることを特徴とする請求項2ないし5のいずれかに記載のリモートコントロール装置。
発明の詳細な説明
【技術分野】
【0001】
本発明は、船舶推進機を遠隔操作するリモートコントロール装置に関する。
続きを表示(約 1,900 文字)
【背景技術】
【0002】
船外機等の船舶推進機を遠隔操作するリモートコントロール装置は、多くの場合、船舶に設けられたコンソール(操作卓または制御卓)に設置される。リモートコントロール装置には、リモートコントロールレバーが設けられ、操船者は、リモートコントロールレバーを傾ける操作を行うことにより、船舶推進機により生成される推進力の大きさまたは方向を制御することができる。
【0003】
また、特開2022-176618号公報(特許文献1)には、筐体内にディスプレイを組み込み、船舶推進機または船舶に関する種々の情報をディスプレイに表示することができるようにしたリモートコントロール装置が記載されている。
【先行技術文献】
【特許文献】
【0004】
特開2022-176618号公報
【発明の概要】
【発明が解決しようとする課題】
【0005】
特開2022-176618号公報に記載されたリモートコントロール装置において、ディスプレイは、リモートコントロール装置の筐体内に固定され、筐体に対して不動である。また、同公報の図3または図4に示されているように、リモートコントロール装置を水平な設置面上に設置した場合に、筐体の上面は、リモートコントロール装置を操作する操船者から見て、手前に向かって若干下降するように傾斜しており、ディスプレイは、その画面が筐体の上面と平行となるように配置されている。すなわち、特開2022-176618号公報に記載されたリモートコントロール装置のディスプレイの画面の角度は、リモートコントロール装置を水平な設置面上に設置した場合に、操船者から見て、手前に向かって若干下降する角度に固定されている。
【0006】
このディスプレイの画面の角度は、一般的に、操船者にとって見易い角度であると考えられるが、時刻や場所によっては、例えば太陽光等、外からの光がディスプレイの画面に反射して操船者の目に入り、そのため、ディスプレイの画面に表示された情報が見難くなることがある。
【0007】
また、コンソールの中には、設置面が、操船者から見て、手前に向かって下降するように傾斜しているものがある。このように傾斜した設置面上に、特開2022-176618号公報に記載されたリモートコントロール装置を設置した場合には、ディスプレイの画面の角度が垂直に近い角度となり、その結果、ディスプレイの画面に表示された情報が見難くなってしまう。
【0008】
また、操船者の操船の態様には、操船者がコンソールの手前に立って操船する態様と、操船者がコンソールの手前に設けられた椅子に座って操船する態様があり、操船の態様によって操船者の目の高さ位置が変わる。リモートコントロール装置のディスプレイの画面の角度が固定されている場合、操船の態様によっては、ディスプレイの画面に表示された情報が見難くなることがある。
【0009】
本発明は例えば上述したような問題に鑑みなされたものであり、本発明の課題は、外からの光の具合、設置面の傾斜角度または操船の態様等によってディスプレイの画面に表示された情報が見難くなることを抑制することができるリモートコントロール装置を提供することにある。
【課題を解決するための手段】
【0010】
上記課題を解決するために、本発明は、船舶に設けられた船舶推進機を遠隔操作するリモートコントロール装置であって、前記船舶に設けられた設置面に設置される本体ケース、および前記本体ケースに取り付けられたリモートコントロールレバーを有するリモートコントロール装置本体と、ディスプレイケース、および前記ディスプレイケース内に設けられたディスプレイを有し、前記本体ケース外に設けられたディスプレイユニットと、前記ディスプレイユニットと前記リモートコントロール装置本体とを互いに結合し、前記ディスプレイユニットを支持する支持機構とを備え、前記設置面と直交する方向を上下方向とし、上下方向と直交する一の方向を前後方向とし、上下方向および前後方向と直交する方向を左右方向とすると、前記支持機構は、左右方向に伸長した回動軸を中心に前記ディスプレイユニットを前記リモートコントロール装置本体に対して回動させることができるように前記ディスプレイユニットと前記リモートコントロール装置本体とを結合していることを特徴とする。
【発明の効果】
(【0011】以降は省略されています)
この特許をJ-PlatPat(特許庁公式サイト)で参照する
関連特許
スズキ株式会社
車両構造
今日
スズキ株式会社
車両構造
今日
スズキ株式会社
車両構造
今日
スズキ株式会社
排気装置
1か月前
スズキ株式会社
排気装置
1か月前
スズキ株式会社
車両構造
今日
スズキ株式会社
車両構造
今日
スズキ株式会社
車両構造
今日
スズキ株式会社
車室構造
今日
スズキ株式会社
車室構造
今日
スズキ株式会社
車室構造
今日
スズキ株式会社
車両構造
今日
スズキ株式会社
車両構造
今日
スズキ株式会社
燃料電池車両
8日前
スズキ株式会社
車両前部構造
1か月前
スズキ株式会社
運転支援装置
1か月前
スズキ株式会社
車両側部構造
1か月前
スズキ株式会社
車両側部構造
1か月前
スズキ株式会社
車両前部構造
21日前
スズキ株式会社
車両用バンパ
21日前
スズキ株式会社
モータケース
21日前
スズキ株式会社
車両用変速機
21日前
スズキ株式会社
車両側部構造
1か月前
スズキ株式会社
燃料電池車両
8日前
スズキ株式会社
車両の制御装置
1か月前
スズキ株式会社
車両用荷室構造
今日
スズキ株式会社
車体ルーフ構造
今日
スズキ株式会社
車両用制御装置
1か月前
スズキ株式会社
積立金管理装置
29日前
スズキ株式会社
車両の制御装置
23日前
スズキ株式会社
車両の制御装置
14日前
スズキ株式会社
車両用送風構造
15日前
スズキ株式会社
車両用送風構造
15日前
スズキ株式会社
車両用送風構造
15日前
スズキ株式会社
衝突被害軽減装置
7日前
スズキ株式会社
ブレーキシステム
22日前
続きを見る
他の特許を見る