TOP
|
特許
|
意匠
|
商標
特許ウォッチ
Twitter
他の特許を見る
公開番号
2025125331
公報種別
公開特許公報(A)
公開日
2025-08-27
出願番号
2024021314
出願日
2024-02-15
発明の名称
車両側部構造
出願人
スズキ株式会社
代理人
個人
,
個人
,
個人
,
個人
,
個人
,
個人
主分類
B60K
1/04 20190101AFI20250820BHJP(車両一般)
要約
【課題】給電部に対する手動操作の操作性を向上させる。
【解決手段】車両側部構造100は、サイドパネル10と、サイドパネル10の上部に対して車幅方向内側に設けられるケーブル保持構造部30と、サイドパネル10に設けられる給電部20の手動解除部23からケーブル保持構造部30まで延びるケーブル41及び把持部42を有する手動操作用のケーブル部材40と、を含む。ケーブル保持構造部30は、サイドパネル10に沿って車両前後方向に延び且つ車両上方を臨む上壁31と、上壁31からのケーブル部材40の離脱を阻止し、且つ、ケーブル41を車両前後方向に移動可能にガイドするガイド部32と、把持部42が配置される配置部33と、を有し、ガイド部32及び配置部33は上壁31に設けられており、配置部33は上壁31のうちガイド部32に対して車両前後方向の一方に離隔した位置に設けられている。
【選択図】図2
特許請求の範囲
【請求項1】
車両側部の前側において車幅方向外側の意匠面の一部をなすサイドパネルと、該サイドパネルの上部に対して車幅方向内側に設けられるケーブル保持構造部と、前記サイドパネルに設けられる給電部の手動解除部から前記ケーブル保持構造部まで延びるケーブル及び該ケーブルの先端に設けられる把持部を有する手動操作用のケーブル部材と、を含む、車両側部構造であって、
前記ケーブル保持構造部は、
前記サイドパネルに沿って車両前後方向に延び且つ車両上方を臨む上壁と、
前記上壁からの前記ケーブル部材の離脱を阻止し、且つ、前記ケーブルを車両前後方向に移動可能にガイドするガイド部と、
前記把持部が配置される配置部と、
を有し、
前記ガイド部及び前記配置部は、前記上壁に設けられており、
前記配置部は、前記上壁のうち前記ガイド部に対して車両前後方向の一方に離隔した位置に設けられている、車両側部構造。
続きを表示(約 910 文字)
【請求項2】
前記上壁のうち前記配置部に対して前記車両前後方向の前記一方側の部分は、前記上壁のうち前記ガイド部及び前記配置部が設けられている部分に対して、上方にオフセットされている、請求項1に記載の車両側部構造。
【請求項3】
前記ケーブル保持構造部は、前記上壁の車幅方向外縁部に沿って車両前後方向に延び且つ車両上方に隆起した、隆起部を有する、請求項1に記載の車両側部構造。
【請求項4】
前記サイドパネルは、前記上壁のうち前記配置部に対して前記車両前後方向の前記一方側の部分の下方に延び且つ前記上壁に固定される、延出部を有する、請求項3に記載の車両側部構造。
【請求項5】
前記配置部には、下方に凹む凹部又は貫通孔である逃げ部が形成されている、請求項1に記載の車両側部構造。
【請求項6】
前記ガイド部は、
車両前後方向に延び且つ前記ケーブルを挿入可能であるケーブルガイド孔が開口されている、ケーブルガイド片と、
前記ケーブルガイド片を前記上壁に対して着脱自在に係止するガイド片係止要素と、
を有し、
前記ガイド部は、前記ケーブルが前記ケーブルガイド孔に挿入されている状態で、前記ガイド片係止要素によって前記ケーブルガイド片を係止することで前記ケーブル部材の離脱を阻止し、前記ケーブルガイド孔の孔壁によって前記ケーブルを車両前後方向に移動可能にガイドする、請求項1に記載の車両側部構造。
【請求項7】
前記ガイド部は、前記上壁のうち前記車両前後方向の前記一方とは反対側の端部で開放されるスリットが形成されているケーブルガイドスリット部を有し、
前記スリットは、前記ケーブルの通過を許容し且つ前記把持部の通過を阻止可能な大きさの開口形状で形成されており、
前記ガイド部は、前記スリットにおいて前記把持部の通過を阻止することで前記ケーブル部材の離脱を阻止し、前記スリットにおいて前記ケーブルの通過を許容することで前記ケーブルを車両前後方向に移動可能にガイドする、請求項1に記載の車両側部構造。
発明の詳細な説明
【技術分野】
【0001】
本発明は、車両側部構造に関する。
続きを表示(約 2,100 文字)
【背景技術】
【0002】
電気自動車などの車両では、車両のフロントフェンダなどに給電部が設けられる場合がある。このような車両では、給電部のリッドをロックする電子ロック装置が搭載される場合や、給電部のインレットと外部の充電コネクタとの接続部をロックする電子ロック装置が搭載される場合がある。これらの電子ロック装置は、モータの駆動力によってロック及びロック解除を実行する。
【0003】
給電部のリッドや給電部のインレットをロックする電子ロック装置を含む構造の一例として特許文献1に開示された構造が知られている。特許文献1に開示された構造では、電子ロック装置によるロックを解除するための手動解除部が設けられている。そして、車両の使用中に何らかの異常によって電子ロック装置によるロックを電気的に解除できなくなった場合には、手動解除部に接続されるケーブルモジュールが手動操作されることで、電子ロック装置によるロックが手動で解除される。そして、ケーブルモジュールは、車両のフロントフェンダの内側に設けられたフロントインサイドパネルの上に固定される保持部材と、保持部材のベース部上に配置されるケーブル部材と、を有し、ケーブル部材は、操作者に把持される把持部と、把持部の先端に接続されるケーブルとを有している。
【先行技術文献】
【特許文献】
【0004】
特開2022-151011号公報
【発明の概要】
【発明が解決しようとする課題】
【0005】
しかしながら、特許文献1に開示されたケーブルモジュールでは、ケーブル部材はケーブル長手方向を車幅方向に向けた状態で保持部材に保持されている。したがって、特許文献1に開示されたケーブルモジュールでは、操作者は、配線やヒンジなどの障害物が存在し得る車幅方向内側に向けて、把持部を引っ張ることで、ロックを解除しなければならないため、操作性の観点において、改善の余地がある。
【0006】
そこで、本発明は、サイドパネルに設けられる給電部に対する手動操作の操作性を向上させることのできる構造を有した車両側部構造を提供することを目的とする。
【課題を解決するための手段】
【0007】
上記目的を達成するため本発明の一態様によると、車両側部の前側において車幅方向外側の意匠面の一部をなすサイドパネルと、該サイドパネルの上部に対して車幅方向内側に設けられるケーブル保持構造部と、前記サイドパネルに設けられる給電部の手動解除部から前記ケーブル保持構造部まで延びるケーブル及び該ケーブルの先端に設けられる把持部を有する手動操作用のケーブル部材と、を含む、車両側部構造が提供される。この車両側部構造において、前記ケーブル保持構造部は、前記サイドパネルに沿って車両前後方向に延び且つ車両上方を臨む上壁と、前記上壁からの前記ケーブル部材の離脱を阻止し、且つ、前記ケーブルを車両前後方向に移動可能にガイドするガイド部と、前記把持部が配置される配置部と、を有し、前記ガイド部及び前記配置部は、前記上壁に設けられており、前記配置部は、前記上壁のうち前記ガイド部に対して車両前後方向の一方に離隔した位置に設けられている。
【発明の効果】
【0008】
本発明の一態様によれば、サイドパネルに設けられる給電部に対する手動操作の操作性を向上させることのできる構造を有した車両側部構造を提供することができる。
【図面の簡単な説明】
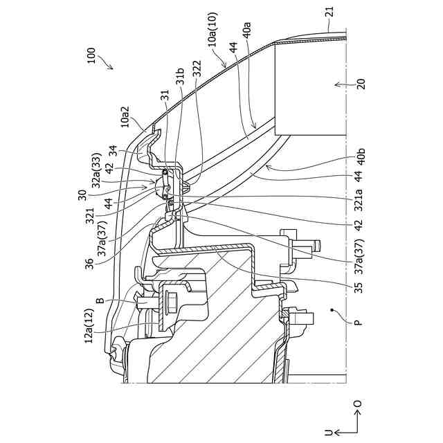
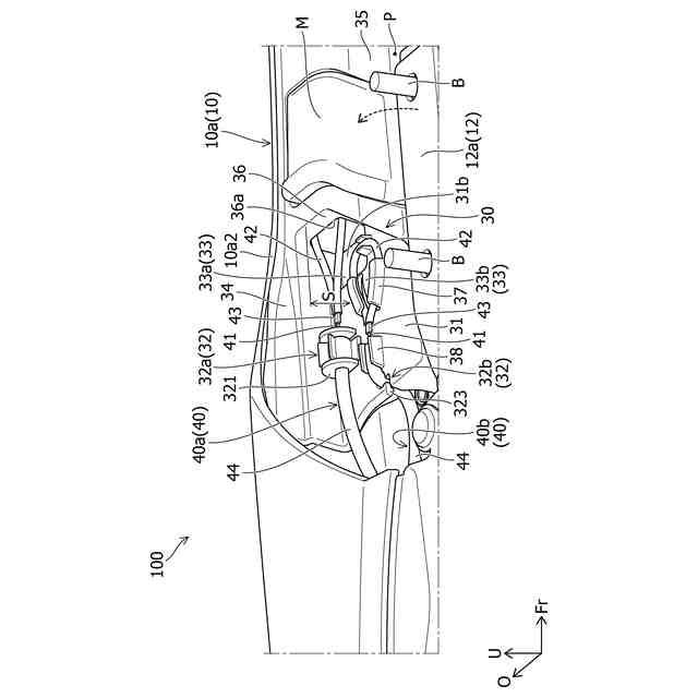
【0009】
本発明の実施形態に係る車両側部構造を含む車両の部分側面図である。
前記車両側部構造の要部上面図である。
前記車両側部構造を車幅方向内側から視た要部斜視図である。
図2に示すA-A線における断面図である。
図2に示すB-B線における断面図である。
前記車両側部構造の手動操作用のケーブル部材の組付け方法を説明するための斜視図である。
前記車両側部構造の要部の拡大斜視図である。
前記ケーブル部材の操作方向を説明するための斜視図である。
【発明を実施するための形態】
【0010】
以下、本発明の実施の形態について添付図面を参照して説明する。図1は本発明の一実施形態に係る車両側部構造を含む車両の部分側面図であり、図2は車両側部構造の要部上面図であり、図3は車両側部構造を車幅方向内側から視た要部斜視図である。なお、図において、矢印Fr方向は車両前後方向で車両前方を示し、矢印O方向は車幅方向で外方を示し、矢印U方向は車両上下方向で上方を示している。以下の説明における「前」及び「後」は車両前後方向における前及び後に対応し、「上」及び「下」は車両上下方向における上及び下に対応している。また、本実施形態では、車幅方向については、車室内から車両前方を視た状態で、「左」及び「右」が規定されている。
(【0011】以降は省略されています)
この特許をJ-PlatPat(特許庁公式サイト)で参照する
関連特許
スズキ株式会社
車両構造
27日前
スズキ株式会社
車両構造
27日前
スズキ株式会社
車両構造
27日前
スズキ株式会社
車両構造
27日前
スズキ株式会社
車両構造
27日前
スズキ株式会社
開閉機構
1日前
スズキ株式会社
車室構造
27日前
スズキ株式会社
車室構造
27日前
スズキ株式会社
車室構造
27日前
スズキ株式会社
車両構造
27日前
スズキ株式会社
車両構造
27日前
スズキ株式会社
車両構造
27日前
スズキ株式会社
シート構造
1日前
スズキ株式会社
シート構造
1日前
スズキ株式会社
車両検査装置
22日前
スズキ株式会社
燃料電池車両
1か月前
スズキ株式会社
車両側部構造
9日前
スズキ株式会社
燃料電池車両
1か月前
スズキ株式会社
車両後部構造
21日前
スズキ株式会社
車両用荷室構造
27日前
スズキ株式会社
車体ルーフ構造
27日前
スズキ株式会社
車両の制御装置
1か月前
スズキ株式会社
車両用送風構造
1か月前
スズキ株式会社
車両用送風構造
1か月前
スズキ株式会社
車両用制御装置
22日前
スズキ株式会社
車両用送風構造
1か月前
スズキ株式会社
車両の制御装置
13日前
スズキ株式会社
車両の制御装置
20日前
スズキ株式会社
車両用制御装置
10日前
スズキ株式会社
車両の可動ゲート
16日前
スズキ株式会社
衝突被害軽減装置
1か月前
スズキ株式会社
車両の速度制御装置
今日
スズキ株式会社
車両の照明制御装置
1か月前
スズキ株式会社
車両の熱害防止構造
1か月前
スズキ株式会社
電動車両の後部構造
21日前
スズキ株式会社
車両の制御システム
1か月前
続きを見る
他の特許を見る