TOP
|
特許
|
意匠
|
商標
特許ウォッチ
Twitter
他の特許を見る
公開番号
2025117334
公報種別
公開特許公報(A)
公開日
2025-08-12
出願番号
2024012115
出願日
2024-01-30
発明の名称
車体下部構造
出願人
スズキ株式会社
代理人
個人
,
個人
,
個人
,
個人
,
個人
,
個人
主分類
B62D
25/20 20060101AFI20250804BHJP(鉄道以外の路面車両)
要約
【課題】シートベルトアンカ固定部とシート後側固定部とが互いに近接して配置された場合に、固定部の接合状態の入力荷重による影響を低減する。
【解決手段】車体下部構造1においてシートベルトアンカ固定部1Cがシートブラケット20により補強されるシート後側固定部1Aの周辺に配置され、車体下部構造1はシート後側固定部1Aの前方で前後方向に延びると共にシートベルトアンカ固定部1Cを有しフロアパネル10の上面に接合されるアンカリンフォース30と、シート後側固定部1Aの後方で前後方向に延びるリアリンフォース40と、を含み、シートブラケット20はフロアパネル10に接合されると共にアンカリンフォース30の後部とリアリンフォース40の前部とに接合され、アンカリンフォース30及びリアリンフォース40を構成する金属製板材の剛性はシートブラケット20を構成する金属製板材の剛性に比べて高い。
【選択図】図6
特許請求の範囲
【請求項1】
車体下部に配置されシート後側固定部を有するフロアパネルと、前記シート後側固定部を補強するシートブラケットと、を含み、前記車体下部においてシートベルトアンカ固定部が前記シート後側固定部に対して車両前方で且つ前記シート後側固定部の周辺に配置されている、車体下部構造であって、
前記シート後側固定部に対して車両前方において車両前後方向に延びると共に前記シートベルトアンカ固定部を有し、前記フロアパネルの上面に接合されるアンカリンフォースと、
前記シート後側固定部に対して車両後方において車両前後方向に延びるリアリンフォースと、
を含み、
前記シートブラケットは、前記フロアパネルに接合されると共に、前記アンカリンフォースと前記リアリンフォースとの間を架け渡すように前記アンカリンフォースの後部と前記リアリンフォースの前部とに接合され、
前記アンカリンフォース及び前記リアリンフォースのそれぞれを構成する金属製板材の剛性は、前記シートブラケットを構成する金属製板材の剛性に比べて高い、ことを特徴とする車体下部構造。
続きを表示(約 600 文字)
【請求項2】
前記シートブラケットは、前記フロアパネルに対して車室外側から、前記フロアパネルに接合されている、請求項1に記載の車体下部構造。
【請求項3】
前記フロアパネルは、前記シート後側固定部に対して車両前方において、車両下方に屈曲する屈曲部を有し、
前記シートブラケットは、前記屈曲部に対して車両前方において、前記フロアパネル及び前記アンカリンフォースに接合されている、請求項2に記載の車体下部構造。
【請求項4】
前記リアリンフォースの下方において該リアリンフォースに沿って車両前後方向に延びるリアサイドメンバを含み、
前記リアサイドメンバは、前記シートブラケットを下方から覆うように前記リアリンフォースの前端に対して車両前方に張り出す張り出し部を有しており、
前記シートブラケットは、前記張り出し部に接合されている、請求項1に記載の車体下部構造。
【請求項5】
前記フロアパネルは、前記シート後側固定部を囲むように延びるビード部を有し、
前記シートブラケットにおける、前記シート後側固定部に対向する部分に対して車両後方に位置する部分には、車両上下方向に膨らむ補強形状部が形成されており、
前記補強形状部及び前記ビード部は、互いに部分的に上下に重なるように配置されている、請求項4に記載の車体下部構造。
発明の詳細な説明
【技術分野】
【0001】
本発明は、車体下部構造に関する。
続きを表示(約 2,500 文字)
【背景技術】
【0002】
車体下部におけるシートの近傍には、シートベルトを支持するシートベルトアンカが固定されるシートベルトアンカ固定部と、スライドレール後部などのシート後部が固定されるシート後側固定部とが、設けられている。シートベルトアンカ固定部やシート後側固定部のそれぞれには、各固定部を前方且つ斜め上方に引っ張る荷重が作用し得る。そのため、各固定部を補強すべく、リンフォース(リテーナとも呼ばれ得る)などの補強部材が各固定部にスポット溶接によって接合されることが多い。
【0003】
シートベルトアンカ固定部及びシート後側固定部が補強された構造を有する車体下部構造の一例として、特許文献1に開示された構造が知られている。特許文献1に開示された構造では、シートベルトアンカ固定部に相当する箇所では、シートベルトアンカ用のリテーナがフロアパネルの下面に溶接され、シートベルトアンカはリテーナの長手方向中央部にフロアパネルと一緒にボルトによって共締めされており、シート後側固定部に相当する箇所では、断面ハット形のクロスメンバがフロアパネルの下面に溶接され、スライドレールの後端部はクロスメンバとフロアパネルとで形成された閉断面部にボルトにより締結固定され得る。そして、特許文献1に開示された構造では、リテーナには、前後方向に延出された一対の剛性強化部がフロアパネルに対する前記ボルトによる締結固定点を挟むように設けられており、リテーナの後端部はフロアパネルの下面に溶接されたクロスメンバのフランジの下面に溶接され、さらに、リテーナはクロスメンバのフランジに対する溶接固定点と剛性強化部の後端との間の領域においてフロアパネルの下面に溶接されている。
【0004】
特許文献1に開示された構造では、上記の構成を有することで、フロアパネルに車体上方への負荷が加わり、リテーナのフロアパネルとの締結固定点(換言するとシートベルトアンカ固定部)が上方へ移動変形して、剛性強化部の後端部がフロアパネルを上方へ持ち上げたとき、リテーナの後端部とクロスメンバのフランジとのスポット溶接打点の剥離を防止しようとするものである。そして、特許文献1に開示された構造では、シートベルトアンカ固定部(フロアパネルに対するリテーナの締結固定点)はリテーナの長手方向中央部に設けられており、シートベルトアンカ固定部と、シート後側固定部(前記閉断面部に対するスライドレールの後端部の締結固定点)とが、互いに十分に離隔している。
【先行技術文献】
【特許文献】
【0005】
特開2012-218519号公報
【発明の概要】
【発明が解決しようとする課題】
【0006】
ところで、車体下部において、シートベルトアンカ固定部がシート後側固定部に対して車両前方で且つシート後側固定部の周辺に配置され、荷重の入力点である、シートベルトアンカ固定部とシート後側固定部とが互いに近接して配置される場合がある。この場合において、入力される荷重に伴うフロアパネルなどの変形を抑制すべく、シートベルトアンカ固定部やシート後側固定部に、特許文献1のようにリテーナやクロスメンバなどの補強部材が溶接されることで、高剛性化を図ることが考えられる。しかし、シートベルトアンカ固定部とシート後側固定部とが互いに近接して配置されたレイアウトにおいて、各固定部の剛性が補強部材により高められることで各固定部(シートベルトアンカ固定部、シート後側固定部)の周辺に応力が集中し、フロアパネルなどが想定以上に変形してしまい、固定部の接合状態に影響が生じるおそれがある。
【0007】
そこで、本発明は、シートベルトアンカ固定部とシート後側固定部とが互いに近接して配置されたとしても、固定部の接合状態の入力荷重による影響を低減することのできる構造を有した車体下部構造を提供することを目的とする。
【課題を解決するための手段】
【0008】
上記目的を達成するため本発明の一態様によると、車体下部に配置されシート後側固定部を有するフロアパネルと、前記シート後側固定部を補強するシートブラケットと、を含み、前記車体下部においてシートベルトアンカ固定部が前記シート後側固定部に対して車両前方で且つ前記シート後側固定部の周辺に配置されている、車体下部構造が提供される。当該車体下部構造は、前記シート後側固定部に対して車両前方において車両前後方向に延びると共に前記シートベルトアンカ固定部を有し、前記フロアパネルの上面に接合されるアンカリンフォースと、前記シート後側固定部に対して車両後方において車両前後方向に延びるリアリンフォースと、を含み、前記シートブラケットは、前記フロアパネルに接合されると共に、前記アンカリンフォースと前記リアリンフォースとの間を架け渡すように前記アンカリンフォースの後部と前記リアリンフォースの前部とに接合され、前記アンカリンフォース及び前記リアリンフォースのそれぞれを構成する金属製板材の剛性は、前記シートブラケットを構成する金属製板材の剛性に比べて高い。
【発明の効果】
【0009】
本発明の一態様によれば、シートベルトアンカ固定部とシート後側固定部とが互いに近接して配置されたとしても、固定部の接合状態の入力荷重による影響を低減することのできる構造を有した車体下部構造を提供することができる。
【図面の簡単な説明】
【0010】
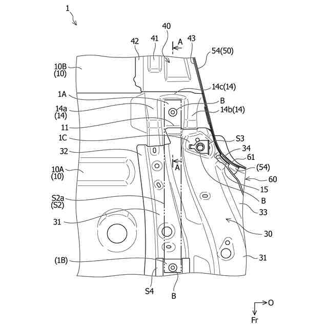
本発明の実施形態に係る車体下部構造の斜視図である。
車体下部構造の部分下面図である。
車体下部構造の要部の拡大上面図である。
車体下部構造の要部の斜視図である。
車体下部構造のシートブラケットを含む部分の下方から視た斜視図である。
図3に示されたA-A線における断面図である。
【発明を実施するための形態】
(【0011】以降は省略されています)
この特許をJ-PlatPat(特許庁公式サイト)で参照する
関連特許
スズキ株式会社
排気装置
29日前
スズキ株式会社
排気装置
29日前
スズキ株式会社
車両前部構造
1か月前
スズキ株式会社
車両用変速機
19日前
スズキ株式会社
車両前部構造
19日前
スズキ株式会社
車両前部構造
1か月前
スズキ株式会社
車両側部構造
28日前
スズキ株式会社
車両側部構造
28日前
スズキ株式会社
運転支援装置
1か月前
スズキ株式会社
車両用バンパ
19日前
スズキ株式会社
車体下部構造
1か月前
スズキ株式会社
運転支援装置
1か月前
スズキ株式会社
燃料電池車両
6日前
スズキ株式会社
燃料電池車両
6日前
スズキ株式会社
車両側部構造
1か月前
スズキ株式会社
動力伝達装置
1か月前
スズキ株式会社
運転支援装置
1か月前
スズキ株式会社
モータケース
19日前
スズキ株式会社
車両の制御装置
1か月前
スズキ株式会社
車両用制御装置
1か月前
スズキ株式会社
車両用制御装置
1か月前
スズキ株式会社
積立金管理装置
27日前
スズキ株式会社
車両の制御装置
21日前
スズキ株式会社
車両用空調装置
1か月前
スズキ株式会社
車両用制御装置
1か月前
スズキ株式会社
車両用制御装置
28日前
スズキ株式会社
車両用送風構造
13日前
スズキ株式会社
車両用送風構造
13日前
スズキ株式会社
車両の制御装置
12日前
スズキ株式会社
車両用送風構造
13日前
スズキ株式会社
衝突被害軽減装置
5日前
スズキ株式会社
駐車支援システム
1か月前
スズキ株式会社
駐車支援システム
1か月前
スズキ株式会社
クラッチ冷却装置
28日前
スズキ株式会社
車両のルーフ構造
19日前
スズキ株式会社
燃料電池スタック
1か月前
続きを見る
他の特許を見る