TOP
|
特許
|
意匠
|
商標
特許ウォッチ
Twitter
他の特許を見る
公開番号
2025115696
公報種別
公開特許公報(A)
公開日
2025-08-07
出願番号
2024010282
出願日
2024-01-26
発明の名称
車両用制御装置
出願人
スズキ株式会社
代理人
弁理士法人日誠国際特許事務所
主分類
B60L
15/20 20060101AFI20250731BHJP(車両一般)
要約
【課題】前輪側モータと後輪側モータとが同一タイミングでトルク方向の切り替えを実施することができる車両用制御装置を提供すること。
【解決手段】制御部は、前輪駆動トルクと後輪駆動トルクとの合算トルクである車両全体トルクが所定閾値T(th)未満の低トルク領域にある場合、前後トルク分配率を前輪駆動トルクと後輪駆動トルクとが等しい基本分配率に設定し、かつ、前輪駆動トルクのトルク変化率と後輪駆動トルクのトルク変化率とを略同一値に設定する。制御部は、車両全体トルクが所定閾値T(th)以上の高トルク領域にある場合、前後トルク分配率を基本分配率とは異なる分配率に設定し、かつ、前輪駆動トルクのトルク変化率と後輪駆動トルクのトルク変化率とを異なる値に設定する。制御部は、高トルク領域において車両全体トルクが低トルク領域との境界に近づくほど、前後トルク分配率を基本分配率に近づくように設定する。
【選択図】図2
特許請求の範囲
【請求項1】
前輪に前輪駆動トルクを出力する前輪側モータと、
後輪に後輪駆動トルクを出力する後輪側モータと、を備える車両に搭載される車両用制御装置であって、
前記前輪駆動トルクと前記後輪駆動トルクとの分配率である前後トルク分配率を設定し、前記前後トルク分配率に基づいて前記前輪側モータと前記後輪側モータとを制御する制御部を備え、
前記制御部は、
前記前輪駆動トルクと前記後輪駆動トルクとの合算トルクである車両全体トルクが所定閾値未満の低トルク領域にある場合、前記前後トルク分配率を前記前輪駆動トルクと前記後輪駆動トルクとが等しい基本分配率に設定し、かつ、前記前輪駆動トルクのトルク変化率と前記後輪駆動トルクのトルク変化率とを略同一値に設定し、
前記車両全体トルクが所定閾値以上の高トルク領域にある場合、前記前後トルク分配率を前記基本分配率とは異なる分配率に設定し、かつ、前記前輪駆動トルクのトルク変化率と前記後輪駆動トルクのトルク変化率とを異なる値に設定し、
前記高トルク領域において前記車両全体トルクが前記低トルク領域との境界に近づくほど、前記前後トルク分配率を前記基本分配率に近づくように設定することを特徴とする車両用制御装置。
続きを表示(約 220 文字)
【請求項2】
前記制御部は、前記高トルク領域では、前記前輪側モータのトルク変化率と前記後輪側モータのトルク変化率の合計値を一定に保つことを特徴とする請求項1に記載の車両用制御装置。
【請求項3】
前記高トルク領域は、トルク値の正負両方で絶対値が前記所定閾値以上の領域であり、
前記低トルク領域は、トルク値の正負両方で絶対値が前記所定閾値未満の領域であることを特徴とする請求項1または請求項2に記載の車両用制御装置。
発明の詳細な説明
【技術分野】
【0001】
本発明は、車両用制御装置に関する。
続きを表示(約 2,200 文字)
【背景技術】
【0002】
特許文献1には、4つの車輪のうち一部または全部の車輪に対してモータトルクを付与して走行する電動四輪駆動車両のトルク配分制御が記載されている。
【先行技術文献】
【特許文献】
【0003】
国際公開第2023/148860号公報
【発明の概要】
【発明が解決しようとする課題】
【0004】
しかしながら、特許文献1に記載の技術にあっては、前輪駆動トルクの大きさと後輪駆動トルクの大きさとが異なる場合に、前輪側モータと後輪側モータとで、トルク方向が切り替わるゼロトルク跨ぎのタイミングが異なってしまうという課題があった。例えば、前輪側モータと後輪側モータとのモータ最大トルクや最大出力が異なる場合、高アクセル開度に応じた高トルク領域からのチップアウト(力行から回生への転換)のときに、前輪側モータと後輪側モータとで、ゼロトルク跨ぎのタイミング異なってしまう。
【0005】
ゼロトルク跨ぎのタイミングが異なると、前輪駆動トルクと後輪駆動トルクとが力行と回生とに分かれるため、走行が不安定になってしまう。一方、ゼロトルク跨ぎのタイミングを合わせるために、前輪側モータまたは後輪側モータの一方のモータが先に0Nm付近に到着してから他方のモータが略0Nm付近に到着するまで待つようにした場合、トルクの加速度の変化率であるやく度(躍度)が意図せずに変化してしまいドライバビリティが悪化してしまう。
【0006】
本発明は、上記のような事情に着目してなされたものであり、前輪側モータと後輪側モータとが同一タイミングでトルク方向の切り替えを実施することができる車両用制御装置を提供することを目的とするものである。
【課題を解決するための手段】
【0007】
本発明は、前輪に前輪駆動トルクを出力する前輪側モータと、後輪に後輪駆動トルクを出力する後輪側モータと、を備える車両に搭載される車両用制御装置であって、前記前輪駆動トルクと前記後輪駆動トルクとの分配率である前後トルク分配率を設定し、前記前後トルク分配率に基づいて前記前輪側モータと前記後輪側モータとを制御する制御部を備え、前記制御部は、前記前輪駆動トルクと前記後輪駆動トルクとの合算トルクである車両全体トルクが所定閾値未満の低トルク領域にある場合、前記前後トルク分配率を前記前輪駆動トルクと前記後輪駆動トルクとが等しい基本分配率に設定し、かつ、前記前輪駆動トルクのトルク変化率と前記後輪駆動トルクのトルク変化率とを略同一値に設定し、前記車両全体トルクが所定閾値以上の高トルク領域にある場合、前記前後トルク分配率を前記基本分配率とは異なる分配率に設定し、かつ、前記前輪駆動トルクのトルク変化率と前記後輪駆動トルクのトルク変化率とを異なる値に設定し、前記高トルク領域において前記車両全体トルクが前記低トルク領域との境界に近づくほど、前記前後トルク分配率を前記基本分配率に近づくように設定することを特徴とする。
【発明の効果】
【0008】
このように上記の本発明によれば、前輪側モータと後輪側モータとが同一タイミングでトルク方向の切り替えを実施することができる車両用制御装置を提供することができる。
【図面の簡単な説明】
【0009】
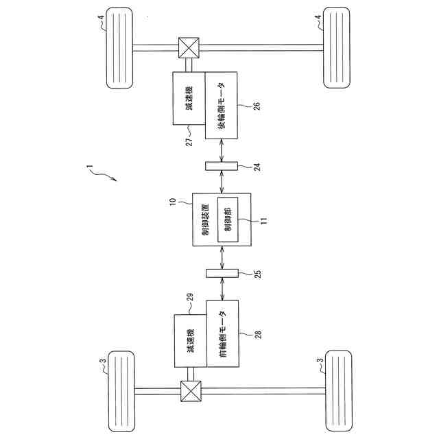
図1は、本発明の一実施例に係る車両用制御装置を備える車両の構成を示すブロック図である。
図2は、本発明の一実施例に係る車両用制御装置が参照する前後トルク分配率の設定マップである。
図3は、本発明の一実施例に係る車両用制御装置の動作時の前輪駆動トルクおよび後輪駆動トルクのやく度の時間推移を示すタイミングチャートである。
図4は、比較例に係る前輪駆動トルクおよび後輪駆動トルクのやく度の時間推移を示すタイミングチャートである。
【発明を実施するための形態】
【0010】
本発明の一実施の形態に係る車両用制御装置は、前輪に前輪駆動トルクを出力する前輪側モータと、後輪に後輪駆動トルクを出力する後輪側モータと、を備える車両に搭載される車両用制御装置であって、前輪駆動トルクと後輪駆動トルクとの分配率である前後トルク分配率を設定し、前後トルク分配率に基づいて前輪側モータと後輪側モータとを制御する制御部を備え、制御部は、前輪駆動トルクと後輪駆動トルクとの合算トルクである車両全体トルクが所定閾値未満の低トルク領域にある場合、前後トルク分配率を前輪駆動トルクと後輪駆動トルクとが等しい基本分配率に設定し、かつ、前輪駆動トルクのトルク変化率と後輪駆動トルクのトルク変化率とを略同一値に設定し、車両全体トルクが所定閾値以上の高トルク領域にある場合、前後トルク分配率を基本分配率とは異なる分配率に設定し、かつ、前輪駆動トルクのトルク変化率と後輪駆動トルクのトルク変化率とを異なる値に設定し、高トルク領域において車両全体トルクが低トルク領域との境界に近づくほど、前後トルク分配率を基本分配率に近づくように設定することを特徴とする。これにより、本発明の一実施の形態に係る車両用制御装置は、前輪側モータと後輪側モータとが同一タイミングでトルク方向の切り替えを実施することができる。
【実施例】
(【0011】以降は省略されています)
この特許をJ-PlatPat(特許庁公式サイト)で参照する
関連特許
スズキ株式会社
車両構造
1日前
スズキ株式会社
車室構造
1日前
スズキ株式会社
車両構造
1日前
スズキ株式会社
車両構造
1日前
スズキ株式会社
車両構造
1日前
スズキ株式会社
車両構造
1日前
スズキ株式会社
車両構造
1日前
スズキ株式会社
車室構造
1日前
スズキ株式会社
車室構造
1日前
スズキ株式会社
車両構造
1日前
スズキ株式会社
車両構造
1日前
スズキ株式会社
モータケース
22日前
スズキ株式会社
燃料電池車両
9日前
スズキ株式会社
燃料電池車両
9日前
スズキ株式会社
車両前部構造
22日前
スズキ株式会社
車両用バンパ
22日前
スズキ株式会社
車両用変速機
22日前
スズキ株式会社
車両用送風構造
16日前
スズキ株式会社
車両用送風構造
16日前
スズキ株式会社
車両用送風構造
16日前
スズキ株式会社
車体ルーフ構造
1日前
スズキ株式会社
車両の制御装置
15日前
スズキ株式会社
車両用荷室構造
1日前
スズキ株式会社
車両の制御装置
24日前
スズキ株式会社
車両のルーフ構造
22日前
スズキ株式会社
衝突被害軽減装置
8日前
スズキ株式会社
ブレーキシステム
23日前
スズキ株式会社
ハイブリッド車両
22日前
スズキ株式会社
内燃機関の制御装置
22日前
スズキ株式会社
電動車両の制御装置
22日前
スズキ株式会社
車両の照明制御装置
9日前
スズキ株式会社
車両の熱害防止構造
9日前
スズキ株式会社
車両の制御システム
8日前
スズキ株式会社
車両の制御システム
8日前
スズキ株式会社
梱包対象物の緩衝構造
8日前
スズキ株式会社
梱包対象物の緩衝部材
8日前
続きを見る
他の特許を見る