TOP
|
特許
|
意匠
|
商標
特許ウォッチ
Twitter
他の特許を見る
10個以上の画像は省略されています。
公開番号
2025146148
公報種別
公開特許公報(A)
公開日
2025-10-03
出願番号
2024046777
出願日
2024-03-22
発明の名称
梱包対象物の緩衝部材
出願人
スズキ株式会社
代理人
個人
,
個人
,
個人
,
個人
,
個人
,
個人
主分類
B65D
81/02 20060101AFI20250926BHJP(運搬;包装;貯蔵;薄板状または線条材料の取扱い)
要約
【課題】 梱包対象物を保護するための緩衝部材として小形状でありながら良好な緩衝効果が得られ、産業廃棄物の削減にも有利な緩衝部材を提供する。
【解決手段】 梱包枠の内底部に固定された梱包対象物を保護するために、前記梱包対象物を囲む前記梱包枠の側部の内側に配設される緩衝部材は、前記梱包対象物に隣接して配置される表面と、前記表面と反対側の裏面とを有する第1緩衝部材と、前記第1緩衝部材の前記裏面に当接する上端と、前記梱包枠の前記側部側に配設される底部とを有する第2緩衝部材と、を備え、前記第1緩衝部材は発泡材で構成され、前記第2緩衝部材は、段ボールの組立体で構成されている。
【選択図】図4
特許請求の範囲
【請求項1】
梱包枠の内底部に固定された梱包対象物を保護するために、前記梱包対象物を囲む前記梱包枠の側部の内側に配設される緩衝部材であって、
前記梱包対象物に隣接して配置される表面と、前記表面と反対側の裏面と、を有する第1緩衝部材と、
前記第1緩衝部材の前記裏面に当接する上端と、前記梱包枠の前記側部側に配設される底部とを有する第2緩衝部材と、を備え、
前記第1緩衝部材は発泡材で構成され、前記第2緩衝部材は、段ボールの組立体で構成されている、緩衝部材。
続きを表示(約 1,000 文字)
【請求項2】
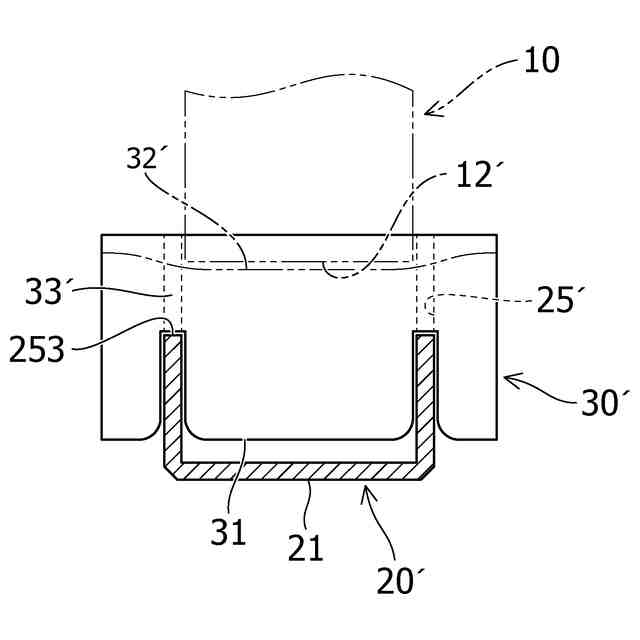
前記第1緩衝部材は、前記表面および前記裏面を有しかつ第1の幅を有して長手方向に延びる本体部と、前記本体部の前記裏面に前記長手方向に間隔を有して突設された複数の脚部とを備えており、
前記第2緩衝部材は、前記第1の幅より大きい第2の幅を有して前記長手方向に延びる溝を形成するように、前記長手方向に延びる底壁部と、前記底壁部の両側に折曲部を介して連続する一対の側壁部と、前記一対の側壁部を前記長手方向に間隔を有して複数個所で橋絡する複数の橋絡部と、を有し、前記複数の橋絡部のうちの隣接した2つの橋絡部と、前記一対の側壁部とによって、前記橋絡部の上端が前記第1緩衝部材の前記裏面に当接した状態で前記脚部を保持するソケット部が形成されている、請求項1記載の緩衝部材。
【請求項3】
前記橋絡部の上端が前記第1緩衝部材の前記裏面に当接した状態で、前記脚部の端部と前記底壁部との間に間隙が形成されている、請求項2記載の緩衝部材。
【請求項4】
前記第1緩衝部材の前記脚部は、前記本体部の長手方向の両端部を除く中間部に設けられており、前記第1緩衝部材の前記本体部は、前記脚部に隣接した前記裏面に、前記橋絡部の上端との間に間隙を画成するように幅方向に延びる凹部を有する、請求項3記載の緩衝部材。
【請求項5】
前記凹部は、前記脚部から離れるに従って深さが小さくなる傾斜を有している、請求項4記載の緩衝部材。
【請求項6】
前記凹部の最大深さは、前記脚部の端部と前記底壁部との間の前記間隙より小さい、請求項5記載の緩衝部材。
【請求項7】
前記橋絡部は、前記一対の側壁部を橋絡すべく前記一対の側壁部に係合する一対の係合部を有し、前記係合部は、前記側壁部の上端から前記底壁部に向けて延びるスリットに係合すべく側方に延出した係合片部を含む、請求項2記載の緩衝部材。
【請求項8】
前記橋絡部の前記係合片部は、前記側壁部の前記スリットの下側部分に係合する係合溝を形成するように、前記スリットを超えて延出した拡大部をさらに含む、請求項7記載の緩衝部材。
【請求項9】
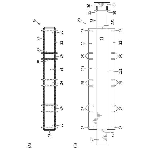
前記第2緩衝部材の前記底壁部および前記一対の側壁部は、前記長手方向と直交する前記幅方向をフルート方向とする1枚の第1の段ボール製ブランクから形成され、前記複数の橋絡部は、前記上端から下端に向かう方向をフルート方向とする複数の第2の段ボール製ブランクから形成されている、請求項2記載の緩衝部材。
発明の詳細な説明
【技術分野】
【0001】
本発明は、梱包対象物を保護するための緩衝部材に関する。
続きを表示(約 1,700 文字)
【背景技術】
【0002】
工業製品などを遠隔(例えば海外)の仕向地に輸送コンテナなどを利用して輸送する場合、輸送中の振動や衝撃から製品を保護するために梱包枠の内部に製品を固定する梱包構造が採用される。
【0003】
例えば、特許文献1には、船外機を横にした状態で発泡スチロール製のパッドで上下から挟み、木製のスキッド上に角柱とアングル紙管で固定する梱包構造が開示されている。この梱包構造は、軽量な小型船外機を対象としており、中型ないし大型の船外機には利用できない。また、扁平な荷姿の割に多段積みに耐える強度を有しておらず、荷役効率が悪いうえ、荷重を分散させるために広い面積のパッドで荷重を受ける構成を前提としており、産業廃棄物となる発泡スチロールの使用量が多くなる問題もあった。
【0004】
船外機、特に中型以上の船外機の場合は、船外機を船体に固定するための構造であるスターンブラケットを利用して、船外機の推進方向を下方向にして立てた状態で、梱包枠の内底部に立設された架台にボルト留めして収納する梱包形態が採用される。
【0005】
この梱包形態では、実質的にスターンブラケット以外に梱包枠に対する支持構造を有しておらず、船外機は、梱包枠の内側で架台の両側にオーバーハングした状態で支持されることに加えて、支持位置に対して重心が高くかつエンジン側に偏っているので、荷役作業時や輸送中に外部要因により衝撃が作用した場合に、梱包対象物である船外機が梱包枠に対して揺動して接触する虞がある。そこで、接触による損傷を防止するために、発泡スチロールなどによる緩衝材が併用される。
【0006】
ところで、船外機のような最終製品は、梱包状態で納入先まで輸送される。したがって、梱包枠は基本的にワンウェイの梱包資材であり、追加のコストを抑えるために、通常の荷役作業や輸送に必要な最小限の強度と剛性を有するように設計される。そのため、外部要因により大きな衝撃が作用した場合、特に、梱包枠が転倒した場合には、発泡スチロールなどによる緩衝材が衝撃を吸収しきれずに破断し、梱包対象物である船外機が損傷する虞があった。
【先行技術文献】
【特許文献】
【0007】
特開平10-250768号公報
【発明の概要】
【発明が解決しようとする課題】
【0008】
本発明はこのような実状に鑑みてなされたものであって、その目的は、梱包対象物を保護するための緩衝部材として小形状でありながら良好な緩衝効果が得られ、産業廃棄物の削減にも有利な緩衝部材を提供することにある。
【課題を解決するための手段】
【0009】
上記課題を解決するために、本発明は、
梱包枠の内底部に固定された梱包対象物を保護するために、前記梱包対象物を囲む前記梱包枠の側部の内側に配設される緩衝部材であって、
前記梱包対象物に隣接して配置される表面と、前記表面と反対側の裏面と、を有する第1緩衝部材と、
前記第1緩衝部材の前記裏面に当接する上端と、前記梱包枠の前記側部側に配設される底部とを有する第2緩衝部材と、を備え、
前記第1緩衝部材は発泡材で構成され、前記第2緩衝部材は、段ボールの組立体で構成されている、緩衝部材にある。
【発明の効果】
【0010】
本発明に係る緩衝部材は、上記のような構成により、外部要因により大きな衝撃が作用した場合に、梱包対象物から緩衝部材に作用する衝撃荷重が、発泡材で構成された第1緩衝部材の弾性変形により緩和されるとともに、段ボールの組立体で構成された第2緩衝部材の塑性変形により吸収され、第1緩衝部材の破断、特に初期段階における破断が抑制されることで、良好な緩衝効果が得られる。また、緩衝部材全体が発泡材で構成される場合と比較して、使用後に産業廃棄物となる発泡材の使用量を削減できる。
【図面の簡単な説明】
(【0011】以降は省略されています)
この特許をJ-PlatPat(特許庁公式サイト)で参照する
関連特許
スズキ株式会社
開閉機構
17日前
スズキ株式会社
シート構造
17日前
スズキ株式会社
シート構造
17日前
スズキ株式会社
動力伝達装置
15日前
スズキ株式会社
車両後部構造
1か月前
スズキ株式会社
車両制御装置
15日前
スズキ株式会社
車両側部構造
25日前
スズキ株式会社
運転支援装置
2日前
スズキ株式会社
車両の制御装置
29日前
スズキ株式会社
車両用制御装置
26日前
スズキ株式会社
車両の制御装置
1か月前
スズキ株式会社
パーツボックス
2日前
スズキ株式会社
パーツボックス
2日前
スズキ株式会社
車両の可動ゲート
1か月前
スズキ株式会社
車両用ルーフ構造
15日前
スズキ株式会社
車両の制御システム
29日前
スズキ株式会社
車両の制御システム
29日前
スズキ株式会社
内燃機関の吸気装置
2日前
スズキ株式会社
車両の速度制御装置
16日前
スズキ株式会社
電動車両の後部構造
1か月前
スズキ株式会社
電動車両の後部構造
1か月前
スズキ株式会社
キャブオーバー型車両
1か月前
スズキ株式会社
エンジンの排気浄化装置
10日前
スズキ株式会社
エンジンの排気浄化装置
10日前
スズキ株式会社
エンジンのベルト伝動装置
1か月前
スズキ株式会社
多気筒エンジンの制御装置
17日前
スズキ株式会社
車両用ルーフライニング構造
15日前
スズキ株式会社
運転支援装置及び運転支援方法
1か月前
スズキ株式会社
ハイブリッド車両の動力伝達装置
15日前
スズキ株式会社
ハイブリッド車両の動力伝達装置
15日前
スズキ株式会社
ハイブリッド車両の動力伝達装置
15日前
スズキ株式会社
ハイブリッド車両の動力伝達装置
2日前
スズキ株式会社
車両用シートベルトバックル固定構造
1か月前
スズキ株式会社
内燃機関のオイルレベルゲージの支持構造
1か月前
スズキ株式会社
車室構造
23日前
スズキ株式会社
車室構造
23日前
続きを見る
他の特許を見る