TOP
|
特許
|
意匠
|
商標
特許ウォッチ
Twitter
他の特許を見る
10個以上の画像は省略されています。
公開番号
2025146150
公報種別
公開特許公報(A)
公開日
2025-10-03
出願番号
2024046779
出願日
2024-03-22
発明の名称
梱包対象物の緩衝構造
出願人
スズキ株式会社
代理人
個人
,
個人
,
個人
,
個人
,
個人
,
個人
主分類
B65D
81/02 20060101AFI20250926BHJP(運搬;包装;貯蔵;薄板状または線条材料の取扱い)
要約
【課題】 梱包対象物を保護するための緩衝構造として小形状でありながら良好な緩衝効果が得られ、産業廃棄物の削減にも有利な緩衝構造を提供する。
【解決手段】 梱包枠の内底部に固定された梱包対象物を保護するために、梱包対象物を囲む梱包枠のクレート部の内側に配設される緩衝構造は、梱包対象物の側面に隣接して配置される発泡材で構成された第1緩衝部材と、前記第1緩衝部材を支持する段ボールの組立体で構成された第2緩衝部材と、梱包枠のクレート部を構成する複数の縦フレームのうち隣接した2つの縦フレームのそれぞれの少なくとも一部の内側に重ねて配置され、第1緩衝部材を支持した第2緩衝部材の底部が接合される段ボール製のベース部と、その裏面に突設され前記2つの縦フレームの間に嵌入される段ボール製のアンカー部を備える。
【選択図】図3
特許請求の範囲
【請求項1】
梱包枠の内底部に固定された梱包対象物を保護するために、前記梱包対象物を囲む前記梱包枠のクレート部の内側に配設される緩衝構造であって、
前記梱包対象物の側面に隣接して配置される表面を有する発泡材で構成された第1緩衝部材と、
前記第1緩衝部材の裏面に当接した状態で前記第1緩衝部材を支持する段ボールの組立体で構成された第2緩衝部材と、
前記梱包枠の前記クレート部を構成する複数の縦フレームのうち隣接した2つの縦フレームのそれぞれの少なくとも一部の内側に重ねて配置され、前記第1緩衝部材を支持した前記第2緩衝部材の底部が接合される表面を有する段ボール製のベース部と、
前記ベース部の裏面に突設された段ボール製のアンカー部であって、前記2つの縦フレームの間に嵌入され、前記ベース部を前記クレート部に固定するアンカー部と、
を備えた、緩衝構造。
続きを表示(約 770 文字)
【請求項2】
前記ベース部は、前記2つの縦フレームの上端から下端までの長さに対応する上下方向の長さを有し、前記ベース部の下端が、前記梱包枠の前記内底部に支持されるように構成されている、請求項1記載の緩衝構造。
【請求項3】
前記アンカー部は、段ボールの積層体で構成されている、請求項1記載の緩衝構造。
【請求項4】
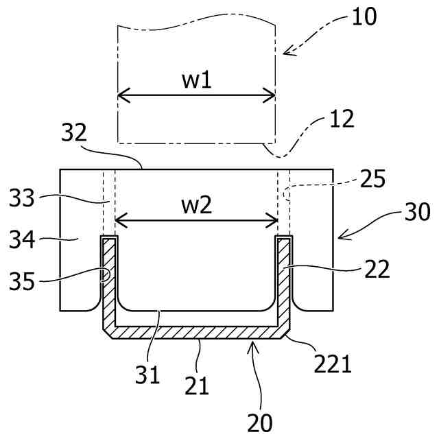
前記第1緩衝部材は、第1の幅を有して長手方向に延び、前記第2緩衝部材は、前記第1の幅より大きい第2の幅を有して前記長手方向に延びる溝を形成する底壁部とその両側に折曲部を介して連続する一対の側壁部と、前記一対の側壁部を前記長手方向に間隔を有して複数個所で橋絡する複数の橋絡部と、を有しており、
前記第1緩衝部材は、前記溝の範囲内で前記橋絡部の上端に当接した状態で前記第2緩衝部材に固定されている、請求項1~3の何れか一項記載の緩衝構造。
【請求項5】
前記第2緩衝部材の前記底壁部および前記一対の側壁部は、前記長手方向と直交する前記幅方向をフルート方向とする1枚の第1の段ボール製ブランクから形成され、前記複数の橋絡部は、前記上端から下端に向かう方向をフルート方向とする複数の第2の段ボール製ブランクから形成されている、請求項4記載の緩衝構造。
【請求項6】
前記梱包対象物は船外機であり、前記梱包枠の前記内底部に設けられたブラケットに、前記船外機のスターンブラケットを締結することにより、前記船外機の推進方向を下方向にして、前記ブラケット上に固定されており、
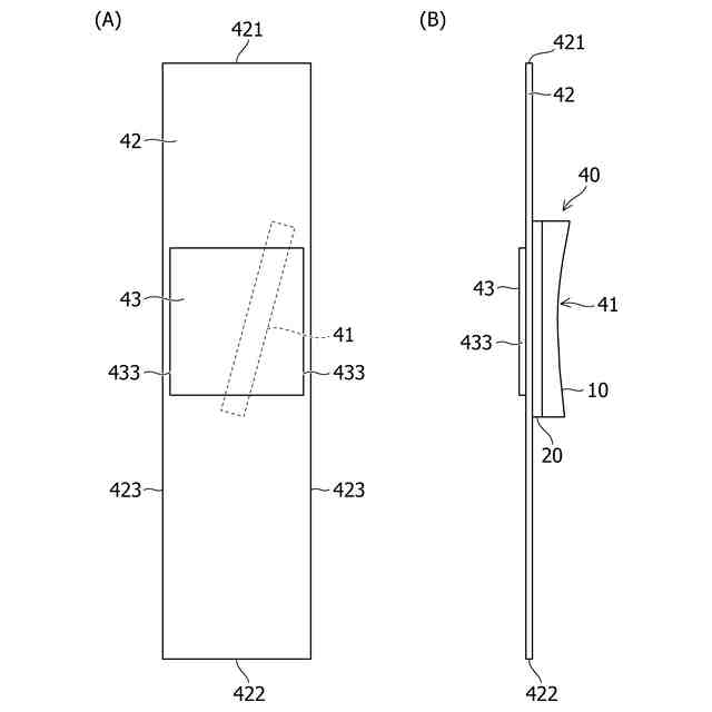
前記第1緩衝部材を支持した前記第2緩衝部材は、前記船外機のボトムカウル部に沿って、前記ベース部の表面上に斜めに位置決めされている、請求項1~3の何れか一項記載の緩衝構造。
発明の詳細な説明
【技術分野】
【0001】
本発明は、梱包対象物を保護するための緩衝構造に関する。
続きを表示(約 1,800 文字)
【背景技術】
【0002】
工業製品などを遠隔(例えば海外)の仕向地に輸送コンテナなどを利用して輸送する場合、輸送中の振動や衝撃から製品を保護するために梱包枠の内部に製品を固定する梱包構造が採用される。
【0003】
例えば、特許文献1には、船外機を横にした状態で発泡スチロール製のパッドで上下から挟み、木製のスキッド上に角柱とアングル紙管で固定する梱包構造が開示されている。この梱包構造は、軽量な小型船外機を対象としており、中型ないし大型の船外機には利用できない。また、扁平な荷姿の割に多段積みに耐える強度を有しておらず、荷役効率が悪いうえ、荷重を分散させるために広い面積のパッドで荷重を受ける構成を前提としており、産業廃棄物となる発泡スチロールの使用量が多くなる問題もあった。
【0004】
船外機、特に中型以上の船外機の場合は、船外機を船体に固定するための構造であるスターンブラケットを利用して、船外機の推進方向を下方向にして立てた状態で、梱包枠の内底部に立設された架台にボルト留めして収納する梱包形態が採用される。
【0005】
この梱包形態では、実質的にスターンブラケット以外に梱包枠に対する支持構造を有しておらず、船外機は、梱包枠の内側で架台の両側にオーバーハングした状態で支持されることに加えて、支持位置に対して重心が高くかつエンジン側に偏っているので、荷役作業時や輸送中に外部要因により衝撃が作用した場合に、梱包対象物である船外機が梱包枠に対して揺動して接触する虞がある。そこで、接触による損傷を防止するために、発泡スチロールなどによる緩衝材が併用される。
【0006】
ところで、船外機のような最終製品は、梱包状態で納入先まで輸送される。したがって、梱包枠は基本的にワンウェイの梱包資材であり、追加のコストを抑えるために、通常の荷役作業や輸送に必要な最小限の強度と剛性を有するように設計される。そのため、外部要因により大きな衝撃が作用した場合、特に、梱包枠が転倒した場合には、発泡スチロールなどによる緩衝材が衝撃を吸収しきれずに破断し、梱包対象物である船外機が損傷する虞があった。
【先行技術文献】
【特許文献】
【0007】
特開平10-250768号公報
【発明の概要】
【発明が解決しようとする課題】
【0008】
本発明はこのような実状に鑑みてなされたものであって、その目的は、梱包対象物を保護するための緩衝構造として小形状でありながら良好な緩衝効果が得られ、産業廃棄物の削減にも有利な緩衝構造を提供することにある。
【課題を解決するための手段】
【0009】
上記課題を解決するために、本発明は、
梱包枠の内底部に固定された梱包対象物を保護するために、前記梱包対象物を囲む前記梱包枠のクレート部の内側に配設される緩衝構造であって、
前記梱包対象物の側面に隣接して配置される表面を有する発泡材で構成された第1緩衝部材と、
前記第1緩衝部材の裏面に当接した状態で前記第1緩衝部材を支持する段ボールの組立体で構成された第2緩衝部材と、
前記梱包枠の前記クレート部を構成する複数の縦フレームのうち隣接した2つの縦フレームのそれぞれの少なくとも一部の内側に重ねて配置され、前記第1緩衝部材を支持した前記第2緩衝部材の底部が接合される表面を有する段ボール製のベース部と、
前記ベース部の裏面に突設された段ボール製のアンカー部であって、前記2つの縦フレームの間に嵌入され、前記ベース部を前記クレート部に固定するアンカー部と、
を備えた、緩衝構造にある。
【発明の効果】
【0010】
本発明に係る緩衝構造は、上記のような構成により、外部要因により大きな衝撃が作用した場合に、梱包対象物から緩衝構造に作用する衝撃荷重が、発泡材で構成された第1緩衝部材の弾性変形により緩和されるとともに、段ボールの組立体で構成された第2緩衝部材の塑性変形により吸収され、さらに、ベース部とアンカー部が第3緩衝部材として機能することにより、良好な緩衝効果が得られる。また、緩衝構造全体が発泡材で構成される場合と比較して、使用後に産業廃棄物となる発泡材の使用量を削減できる。
【図面の簡単な説明】
(【0011】以降は省略されています)
この特許をJ-PlatPat(特許庁公式サイト)で参照する
関連特許
スズキ株式会社
車室構造
1か月前
スズキ株式会社
車両構造
1か月前
スズキ株式会社
車両構造
1か月前
スズキ株式会社
車両構造
1か月前
スズキ株式会社
車両構造
1か月前
スズキ株式会社
車室構造
1か月前
スズキ株式会社
車両構造
1か月前
スズキ株式会社
車室構造
1か月前
スズキ株式会社
開閉機構
14日前
スズキ株式会社
車両構造
1か月前
スズキ株式会社
車両構造
1か月前
スズキ株式会社
車両構造
1か月前
スズキ株式会社
シート構造
14日前
スズキ株式会社
シート構造
14日前
スズキ株式会社
車両後部構造
1か月前
スズキ株式会社
車両検査装置
1か月前
スズキ株式会社
車両側部構造
22日前
スズキ株式会社
車両制御装置
12日前
スズキ株式会社
動力伝達装置
12日前
スズキ株式会社
車体ルーフ構造
1か月前
スズキ株式会社
車両用制御装置
23日前
スズキ株式会社
車両の制御装置
26日前
スズキ株式会社
車両用荷室構造
1か月前
スズキ株式会社
車両の制御装置
1か月前
スズキ株式会社
車両用制御装置
1か月前
スズキ株式会社
車両の可動ゲート
29日前
スズキ株式会社
車両用ルーフ構造
12日前
スズキ株式会社
車両の制御システム
26日前
スズキ株式会社
車両の制御システム
26日前
スズキ株式会社
電動車両の後部構造
1か月前
スズキ株式会社
電動車両の後部構造
1か月前
スズキ株式会社
車両の速度制御装置
13日前
スズキ株式会社
梱包対象物の緩衝構造
1か月前
スズキ株式会社
車両用リアバンパ構造
1か月前
スズキ株式会社
梱包対象物の緩衝部材
1か月前
スズキ株式会社
キャブオーバー型車両
29日前
続きを見る
他の特許を見る