TOP
|
特許
|
意匠
|
商標
特許ウォッチ
Twitter
他の特許を見る
公開番号
2025147241
公報種別
公開特許公報(A)
公開日
2025-10-07
出願番号
2024047405
出願日
2024-03-25
発明の名称
分析方法
出願人
住友電気工業株式会社
代理人
個人
,
個人
主分類
G01N
23/207 20180101AFI20250930BHJP(測定;試験)
要約
【課題】本開示の目的は、X線回折強度プロファイルの面内データを求める分析方法を提供することである。
【解決手段】
サンプルに外力を加えた状態において、入射X線のサンプルへの照射位置を入射X線の照射方向に交わる面内で走査し、それぞれの照射位置からのX線回折を測定することにより、サンプルのX線回折強度プロファイルの面内データを求める分析方法である。
【選択図】図1
特許請求の範囲
【請求項1】
サンプルに外力を加えた状態において、入射X線の前記サンプルへの照射位置を前記入射X線の照射方向に交わる面内で走査し、それぞれの前記照射位置からのX線回折を測定することにより、前記サンプルのX線回折強度プロファイルの面内データを求める分析方法。
続きを表示(約 1,000 文字)
【請求項2】
前記外力は複数の値であり、それぞれの前記外力が加わった状態において、複数の前記X線回折強度プロファイルの面内データを求める、請求項1に記載の分析方法。
【請求項3】
前記サンプルの変形量を連続的または離散的に変えることによって、前記外力を前記複数の値に変化させる、請求項2に記載の分析方法。
【請求項4】
前記サンプルの変形量を時間に対して一定の速さで増加させることによって、前記外力を複数の値に変化させる、請求項2に記載の分析方法。
【請求項5】
前記サンプルの変形量を離散的に変えることによって、前記外力を前記複数の値に変化させ、前記サンプルに一定の前記サンプルの変形量を加えた時点から前記X線回折強度プロファイルを測定するまでの間に所定の緩和時間を設ける、請求項2に記載の分析方法。
【請求項6】
前記サンプルに加えられる前記外力は、前記サンプルに加えられた引張力、圧縮力、ねじり力、または、曲げ力のいずれかである、請求項1または請求項2に記載の分析方法。
【請求項7】
前記X線回折強度プロファイルの面内データから、
前記サンプルに対して前記外力が加えられた状態における前記サンプルの弾性変形状態の面内分布と、
前記サンプルに対して前記外力が加えられた状態における前記サンプルの塑性変形状態の面内分布と、を取得する、請求項1または請求項2に記載の分析方法。
【請求項8】
前記X線回折強度プロファイルの面内データから、
前記サンプルに対して前記外力が加えられた状態における前記サンプルの応力に関する指標の面内分布と、
前記サンプルに対して前記外力が加えられた状態における前記サンプルの不均一歪または転位に関する指標の面内分布と、を取得する、請求項1または請求項2に記載の分析方法。
【請求項9】
前記X線回折強度プロファイルの面内データから、
前記サンプルに対して前記外力が加えられた状態における前記サンプルの厚みの面内分布を取得する、請求項1または請求項2に記載の分析方法。
【請求項10】
前記サンプルは試験機に保持されており、
前記試験機は、前記サンプルに前記外力を加える外力付与機構と、前記サンプルの位置を前記面内で変化させる可動機構と、を備える、請求項1または請求項2に記載の分析方法。
(【請求項11】以降は省略されています)
発明の詳細な説明
【技術分野】
【0001】
本開示は、分析方法に関する。
続きを表示(約 1,800 文字)
【背景技術】
【0002】
特許文献1には、試料表面に描かれたランダムパターンを用いて材料の歪を可視化する方法が開示されている。特許文献1の方法では、引張試験の前後でのランダムパターンをデジタルカメラで撮影し、ランダムパターンの変位量を求めている。
【先行技術文献】
【特許文献】
【0003】
特開2020-3234号公報
【発明の概要】
【発明が解決しようとする課題】
【0004】
特許文献1の方法では、試料表面の変形による変位量に関する分析しかできない。すなわち、試料に外力が加わった状態における、試料の結晶構造解析ができない。つまり、試料に外力が加わった状態において、試料の結晶構造解析が可能であるX線回折強度プロファイルのデータを取得し、かつ、そのX線回折強度プロファイルの取得をサンプルの面内で行う方法が開示されていない。本開示の目的は、試料に外力が加わった状態において、X線回折強度プロファイルの面内データを求める分析方法を提供することである。
【課題を解決するための手段】
【0005】
本開示における分析方法は、サンプルに外力を加えた状態において、入射X線のサンプルへの照射位置を入射X線の照射方向に交わる面内で走査し、それぞれの照射位置からのX線回折を測定することにより、サンプルのX線回折強度プロファイルの面内データを求める分析方法である。
【発明の効果】
【0006】
本開示によれば、X線回折強度プロファイルの面内データを求める分析方法を提供することができる。
【図面の簡単な説明】
【0007】
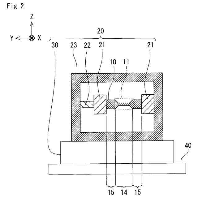
図1は、X線回折装置を上から見たときのサンプル、試験機、入射X線およびX線回折の位置関係を示す概念図である。
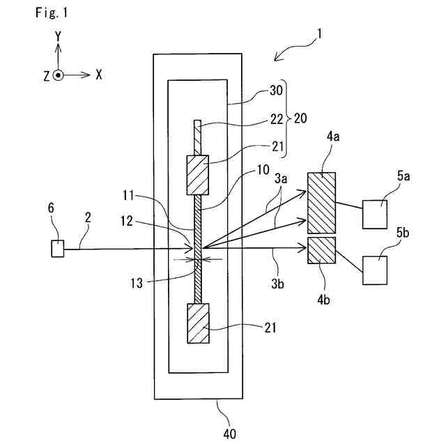
図2は、X線回折装置におけるサンプルおよび試験機の位置関係を示す概念図である。
図3は、第1実施形態における、分析方法のフローチャートである。
図4は、第2実施形態における、分析方法のフローチャートである。
図5は、サンプルの変形量を離散的に変えたときの、サンプルの変形量と時間との関係を示す図である。
図6は、サンプルの変形量を時間に対して一定の速さで増加させたときの、サンプルの変形量と時間との関係を示す図である。
図7は、サンプルのX線回折強度プロファイルの一例を示す図である。
図8は、サンプルに対して外力が加えられた状態における応力に関する指標の面内分布の一例を示す図である。
図9は、サンプルが外力によって破断した状態における応力に関する指標の面内分布の一例を示す図である。
図10は、サンプルに対して外力が加えられた状態における不均一歪または転位に関する指標の面内分布の一例を示す図である。
図11は、サンプルが外力によって破断した状態における不均一歪または転位に関する指標の面内分布の一例を示す図である。
【発明を実施するための形態】
【0008】
[本開示の実施形態の概要]
まず、本開示の実施形態の概要について説明する。
【0009】
(1)本開示における分析方法は、サンプルに外力を加えた状態において、入射X線のサンプルへの照射位置を入射X線の照射方向に交わる面内で走査し、それぞれの照射位置からのX線回折を測定することにより、サンプルのX線回折強度プロファイルの面内データを求める分析方法である。
【0010】
上記の方法によれば、サンプルに外力を加えた状態において、サンプルのX線回折強度プロファイルの面内データを求めることができる。ここで、本開示において、サンプルとは分析の対象とする試料であって、任意の形状を有する固体材料である。サンプルのX線回折強度プロファイルとは、サンプルのX線回折の回折角度に対するX線強度の関係のことである。サンプルに外力を加えた状態において、サンプルのX線回折強度プロファイルの面内データを得ることにより、そのサンプルの応力に関する指標の面内分布や、サンプルの不均一歪または転位に関する指標の面内分布を分析することができる。
(【0011】以降は省略されています)
この特許をJ-PlatPat(特許庁公式サイト)で参照する
関連特許
住友電気工業株式会社
分析方法
6日前
住友電気工業株式会社
受光素子
12日前
住友電気工業株式会社
半導体装置
14日前
住友電気工業株式会社
充電システム
4日前
住友電気工業株式会社
高周波用電線
5日前
住友電気工業株式会社
電線物理量測定装置
4日前
住友電気工業株式会社
光コネクタケーブル
4日前
住友電気工業株式会社
OLT及び帯域割当方法
10日前
住友電気工業株式会社
半導体装置およびその製造方法
11日前
住友電気工業株式会社
要因分析装置および要因分析方法
6日前
住友電気工業株式会社
センサシステム、座席、及びセンサユニット
6日前
住友電気工業株式会社
アクセスポイント装置および無線通信設定方法
10日前
住友電気工業株式会社
複合多孔質体、および複合多孔質体の製造方法
5日前
住友電気工業株式会社
半導体光素子、および半導体光素子の製造方法
4日前
住友電気工業株式会社
積層材の検査方法、積層材の製造方法、および積層材の検査システム
4日前
株式会社オートネットワーク技術研究所
コネクタ
6日前
株式会社オートネットワーク技術研究所
車載装置
4日前
株式会社オートネットワーク技術研究所
コネクタ
4日前
株式会社オートネットワーク技術研究所
コネクタ
6日前
株式会社オートネットワーク技術研究所
コネクタ
6日前
株式会社オートネットワーク技術研究所
接続構造体
4日前
株式会社オートネットワーク技術研究所
コネクタ装置
4日前
株式会社オートネットワーク技術研究所
コネクタ装置
6日前
株式会社オートネットワーク技術研究所
コネクタ装置
4日前
株式会社オートネットワーク技術研究所
コネクタ装置
6日前
株式会社オートネットワーク技術研究所
ワイヤハーネス
10日前
株式会社オートネットワーク技術研究所
バスバー締結構造
10日前
株式会社オートネットワーク技術研究所
バスバー締結構造
10日前
住友電気工業株式会社
走行支援方法、走行支援装置、コンピュータプログラム、および走行支援システム
6日前
株式会社オートネットワーク技術研究所
ジョイントコネクタ
10日前
株式会社オートネットワーク技術研究所
コネクタのガイド構造
4日前
住友電工オプティフロンティア株式会社
光コネクタおよび光コネクタの取り付け方法
3日前
株式会社オートネットワーク技術研究所
機器モジュールの取付構造
5日前
株式会社オートネットワーク技術研究所
筐体、および車両用充電装置
3日前
住友電気工業株式会社
占有状況通知方法、占有状況通知装置、コンピュータプログラム、および走行支援システム
6日前
株式会社オートネットワーク技術研究所
端子材料および電気接続端子
3日前
続きを見る
他の特許を見る