TOP
|
特許
|
意匠
|
商標
特許ウォッチ
Twitter
他の特許を見る
公開番号
2025145703
公報種別
公開特許公報(A)
公開日
2025-10-03
出願番号
2024046024
出願日
2024-03-22
発明の名称
バスバー締結構造
出願人
株式会社オートネットワーク技術研究所
,
住友電装株式会社
,
住友電気工業株式会社
代理人
弁理士法人暁合同特許事務所
主分類
H01R
4/58 20060101AFI20250926BHJP(基本的電気素子)
要約
【課題】締結時の軸力によってバスバーが変形することを抑制し、酸化膜による締結抵抗の上昇を抑制する。
【解決手段】本開示のバスバー締結構造は、座面35を有する相手部材と、締結部材と、純アルミニウムよりも強度が高い高強度アルミニウムにより形成されたバスバー60と、バスバー60に対して機械的かつ電気的に接続され、純アルミニウムよりも強度が高い高強度金属により形成された締結用ワッシャー70と、を備え、締結部材が相手部材に締結されることで締結用ワッシャー70がバスバー60と座面35との間に挟持されるとともに、バスバー60が締結用ワッシャー70を介して相手部材に電気的に接続され、締結用ワッシャー70のうち座面35と接触する接触面には表面処理が施されている。
【選択図】図4
特許請求の範囲
【請求項1】
座面を有する相手部材と、
締結部材と、
純アルミニウムよりも強度が高い高強度アルミニウムにより形成されたバスバーと、
前記バスバーに対して機械的かつ電気的に接続され、純アルミニウムよりも強度が高い高強度金属により形成された締結用ワッシャーと、を備え、
前記締結部材が前記相手部材に締結されることで前記締結用ワッシャーが前記バスバーと前記座面との間に挟持されるとともに、前記バスバーが前記締結用ワッシャーを介して前記相手部材に電気的に接続され、
前記締結用ワッシャーのうち前記座面と接触する接触面には表面処理が施されている、バスバー締結構造。
続きを表示(約 230 文字)
【請求項2】
前記締結用ワッシャーは、前記相手部材に接続される第1接続部と、前記バスバーに接続される第2接続部と、を備え、
前記第2接続部のうち、前記第1接続部よりも外周側に突出した部分は、前記バスバーに対して溶接されている、請求項1に記載のバスバー締結構造。
【請求項3】
前記締結用ワッシャーのうち前記バスバーに接続されるバスバー接続面は、前記バスバーに対して全面で溶接されている、請求項1に記載のバスバー締結構造。
発明の詳細な説明
【技術分野】
【0001】
本開示は、バスバー締結構造に関する。
続きを表示(約 1,700 文字)
【背景技術】
【0002】
従来、特開2023-82637号公報(下記特許文献1)に記載の締結構造が知られている。特許文献1に記載の締結構造は、純アルミニウム又はアルミニウム合金を含む第一被締結部材と、金属を含む第二被締結部材と、第一被締結部材と第二被締結部材とを互いに締結固定する締結部材と、を備える。第一被締結部材における第二被締結部材と対向する面には、純アルミニウム又はアルミニウム合金を含み、かつ、第二被締結部材に向けて突出する突起部が一体的に形成されている。第一被締結部材の突起部における純アルミニウム又はアルミニウム合金は、第二被締結部材の金属と直接接触している。
【先行技術文献】
【特許文献】
【0003】
特開2023-82637号公報
【発明の概要】
【発明が解決しようとする課題】
【0004】
上記の締結構造のように、導電性と軽量化の観点では純アルミニウムを使用することが望ましい。しかし、純アルミニウムの強度は低いため、締結時の軸力によって第一被締結部材(バスバー)が変形するおそれがある。また、バスバーをアルミ化すると、酸化膜によって締結抵抗が上昇するおそれがある。
【0005】
本開示は上記のような事情に基づいて完成されたものであって、締結時の軸力によってバスバーが変形することを抑制しつつ酸化膜による締結抵抗の上昇を抑制することを目的とする。
【課題を解決するための手段】
【0006】
本開示のバスバー締結構造は、座面を有する相手部材と、締結部材と、純アルミニウムよりも強度が高い高強度アルミニウムにより形成されたバスバーと、前記バスバーに対して機械的かつ電気的に接続され、純アルミニウムよりも強度が高い高強度金属により形成された締結用ワッシャーと、を備え、前記締結部材が前記相手部材に締結されることで前記締結用ワッシャーが前記バスバーと前記座面との間に挟持されるとともに、前記バスバーが前記締結用ワッシャーを介して前記相手部材に電気的に接続され、前記締結用ワッシャーのうち前記座面と接触する接触面には表面処理が施されている、バスバー締結構造である。
【発明の効果】
【0007】
本開示によれば、締結時の軸力によってバスバーが変形することを抑制でき、酸化膜による締結抵抗の上昇を抑制できる。
【図面の簡単な説明】
【0008】
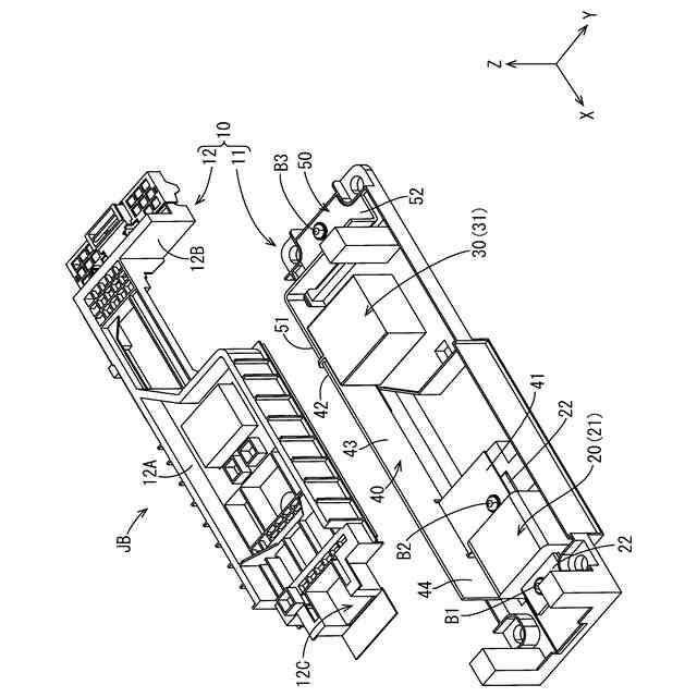
図1は、実施形態にかかる電気接続箱の分解斜視図である。
図2は、実施形態にかかる電気接続箱の平面図である。
図3は、実施形態にかかるリレー付近の拡大正面図である。
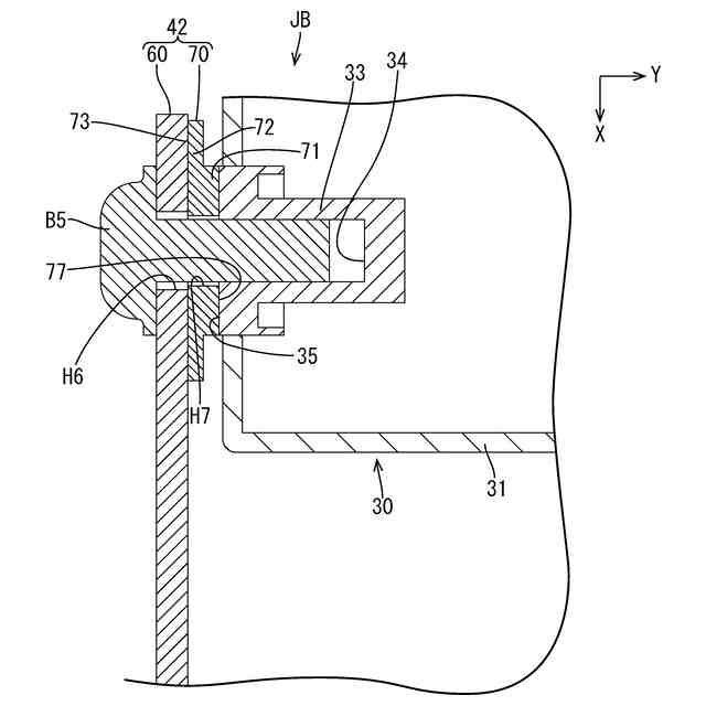
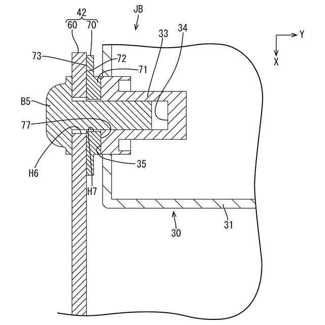
図4は、図3のA-A断面図である。
図5は、丸形状の締結用ワッシャーがバスバーに溶接された状態を示す図である。
図6は、四角形状の締結用ワッシャーがバスバーに溶接された状態を示す図である。
図7は、締結用ワッシャーがバスバーにレーザー溶接された状態を示す図である。
図8は、締結用ワッシャーがバスバーに超音波溶接された状態を示す図である。
【発明を実施するための形態】
【0009】
[本開示の実施形態の説明]
最初に本開示の実施形態を列挙して説明する。
【0010】
[1]本開示のバスバー締結構造は、座面を有する相手部材と、締結部材と、純アルミニウムよりも強度が高い高強度アルミニウムにより形成されたバスバーと、前記バスバーに対して機械的かつ電気的に接続され、純アルミニウムよりも強度が高い高強度金属により形成された締結用ワッシャーと、を備え、前記締結部材が前記相手部材に締結されることで前記締結用ワッシャーが前記バスバーと前記座面との間に挟持されるとともに、前記バスバーが前記締結用ワッシャーを介して前記相手部材に電気的に接続され、前記締結用ワッシャーのうち前記座面と接触する接触面には表面処理が施されている。
(【0011】以降は省略されています)
この特許をJ-PlatPat(特許庁公式サイト)で参照する
関連特許
個人
安全なNAS電池
1か月前
個人
フリー型プラグ安全カバー
1か月前
日本発條株式会社
積層体
7日前
東レ株式会社
多孔質炭素シート
26日前
キヤノン株式会社
電子機器
26日前
個人
防雪防塵カバー
7日前
ローム株式会社
半導体装置
5日前
エイブリック株式会社
半導体装置
28日前
エイブリック株式会社
半導体装置
28日前
ローム株式会社
半導体装置
5日前
ローム株式会社
半導体装置
5日前
ローム株式会社
半導体装置
3日前
ローム株式会社
半導体装置
26日前
沖電気工業株式会社
アンテナ
1か月前
オムロン株式会社
電磁継電器
1か月前
株式会社ティラド
面接触型熱交換器
18日前
太陽誘電株式会社
全固体電池
3日前
株式会社GSユアサ
蓄電装置
3日前
株式会社ホロン
冷陰極電子源
3日前
株式会社GSユアサ
蓄電装置
7日前
ニチコン株式会社
コンデンサ
19日前
ニチコン株式会社
コンデンサ
19日前
東レ株式会社
ガス拡散層の製造方法
26日前
株式会社GSユアサ
蓄電装置
1か月前
個人
半導体パッケージ用ガラス基板
6日前
トヨタ自動車株式会社
二次電池
7日前
日本特殊陶業株式会社
保持装置
7日前
日本特殊陶業株式会社
保持装置
3日前
マクセル株式会社
配列用マスク
18日前
日本特殊陶業株式会社
保持装置
3日前
ローム株式会社
電子装置
7日前
TDK株式会社
電子部品
3日前
日本特殊陶業株式会社
保持装置
5日前
株式会社ヨコオ
コネクタ
28日前
日本特殊陶業株式会社
保持装置
1か月前
TDK株式会社
コイル部品
3日前
続きを見る
他の特許を見る