TOP
|
特許
|
意匠
|
商標
特許ウォッチ
Twitter
他の特許を見る
公開番号
2025149610
公報種別
公開特許公報(A)
公開日
2025-10-08
出願番号
2024050360
出願日
2024-03-26
発明の名称
高周波用電線
出願人
住友電気工業株式会社
代理人
個人
,
個人
主分類
H01B
9/00 20060101AFI20251001BHJP(基本的電気素子)
要約
【課題】導体の温度上昇による交流導体抵抗の増加を低減できる高周波用電線を提供する。
【解決手段】筒状または柱状の芯材と、前記芯材の外周を覆う導体層と、前記導体層の外周を覆う絶縁体と、を備え、前記芯材は樹脂の成形体によって形成されており、前記導体層は複数の素線によって形成されており、前記絶縁体の材料は樹脂であり、前記芯材の線膨張係数に対する前記絶縁体の線膨張係数の比が1.0以上1.4以下である、高周波用電線。
【選択図】図1
特許請求の範囲
【請求項1】
筒状または柱状の芯材と、
前記芯材の外周を覆う導体層と、
前記導体層の外周を覆う絶縁体と、を備え、
前記芯材は樹脂の成形体によって形成されており、
前記導体層は複数の素線によって形成されており、
前記絶縁体の材料は樹脂であり、
前記芯材の線膨張係数に対する前記絶縁体の線膨張係数の比が1.0以上1.4以下である、
高周波用電線。
続きを表示(約 290 文字)
【請求項2】
前記絶縁体の材料が架橋ポリエチレンである、請求項1に記載の高周波用電線。
【請求項3】
前記芯材の材料が架橋ポリエチレンまたはポリプロピレンである、請求項2に記載の高周波用電線。
【請求項4】
前記芯材の材料と前記絶縁体の材料とが同じである、請求項1に記載の高周波用電線。
【請求項5】
前記複数の素線のそれぞれの直径が0.5mm以下である、請求項1または請求項2に記載の高周波用電線。
【請求項6】
20kHz以上の高周波電流の送電に使用される、請求項1または請求項2に記載の高周波用電線。
発明の詳細な説明
【技術分野】
【0001】
本開示は、高周波用電線に関する。
続きを表示(約 1,300 文字)
【背景技術】
【0002】
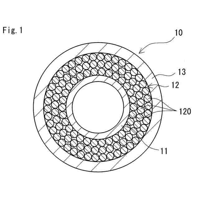
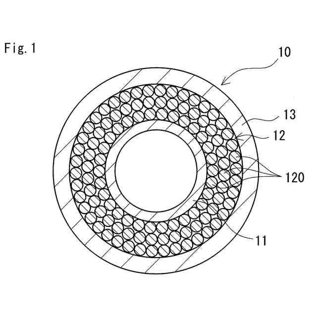
特許文献1および特許文献2は、高周波電流の送電に使用される高周波用電線に関する技術を開示する。一般に、高周波用電線は、中心から順に、芯材と、導体層と、絶縁体とを備える。芯材の形状は円筒状または円柱状である。導体層は、芯材の外周面に配置された複数の素線によって形成されている。絶縁体は、導体層の外周面に被覆されている。
【先行技術文献】
【特許文献】
【0003】
特開2023-90413号公報
特開2013-251101号公報
【発明の概要】
【発明が解決しようとする課題】
【0004】
高周波用電線に高周波電流が流れると、表皮効果によって導体層の表層部に電流が集中して流れる。その結果、実質的な交流導体抵抗が大きくなり、導体層の表層部の発熱が大きくなる。特に、高周波電流の周波数が高いほど、表皮効果がより顕著になる。導体層が発熱すると、芯材および絶縁体のそれぞれの温度が上昇し、芯材および絶縁体のそれぞれの長さが膨張する。芯材および絶縁体の温度上昇が大きいほど、芯材と絶縁体との熱膨張量の差に起因して導体層の変形が生じやすい。導体層の変形が生じると、表皮効果によって電流が流れる導体層の表層部の断面積が減少して、交流導体抵抗が増加する。
【0005】
本開示は、導体の温度上昇による交流導体抵抗の増加を低減できる高周波用電線を提供することを目的の一つとする。
【課題を解決するための手段】
【0006】
本開示の高周波用電線は、筒状または柱状の芯材と、前記芯材の外周を覆う導体層と、前記導体層の外周を覆う絶縁体と、を備える。前記芯材は樹脂の成形体によって形成されている。前記導体層は複数の素線によって形成されている。前記絶縁体の材料は樹脂である。前記芯材の線膨張係数に対する前記絶縁体の線膨張係数の比が1.0以上1.4以下である。
【発明の効果】
【0007】
本開示の高周波用電線は、導体の温度上昇による交流導体抵抗の増加を低減できる。
【図面の簡単な説明】
【0008】
図1は、実施形態に係る高周波用電線の一例を示す概略断面図である。
図2は、実施形態に係る高周波用電線の別の一例を示す断面図である。
図3は、実施形態に係る高周波用電線の断面の一部を拡大して示す部分断面図である。
図4は、実施形態に係る高周波用電線において導体層が変形した状態を示す部分断面図である。
【発明を実施するための形態】
【0009】
[本開示の実施形態の説明]
最初に本開示の実施態様を列記して説明する。
【0010】
(1)本開示の高周波用電線は、筒状または柱状の芯材と、前記芯材の外周を覆う導体層と、前記導体層の外周を覆う絶縁体と、を備える。前記芯材は樹脂の成形体によって形成されている。前記導体層は複数の素線によって形成されている。前記絶縁体の材料は樹脂である。前記芯材の線膨張係数に対する前記絶縁体の線膨張係数の比が1.0以上1.4以下である。
(【0011】以降は省略されています)
この特許をJ-PlatPat(特許庁公式サイト)で参照する
関連特許
住友電気工業株式会社
ペレット
22日前
住友電気工業株式会社
ペレット
22日前
住友電気工業株式会社
受光素子
12日前
住友電気工業株式会社
光検出装置
14日前
住友電気工業株式会社
半導体受光素子
27日前
住友電気工業株式会社
炭化珪素半導体装置
23日前
住友電気工業株式会社
炭化珪素半導体装置
23日前
住友電気工業株式会社
炭化珪素半導体装置
23日前
住友電気工業株式会社
炭化珪素半導体装置
23日前
住友電気工業株式会社
受光素子およびその製造方法
22日前
住友電気工業株式会社
集電体及びニッケル亜鉛電池
27日前
住友電気工業株式会社
アバランシェフォトダイオード
7日前
住友電気工業株式会社
画像処理装置、画像処理方法及び画像処理プログラム
13日前
住友電工プリントサーキット株式会社
プリント配線板
21日前
住友電気工業株式会社
光コネクタクリーナおよび光コネクタの端面の清掃方法
22日前
住友電気工業株式会社
絶縁層用樹脂組成物、絶縁電線および絶縁電線の製造方法
13日前
株式会社オートネットワーク技術研究所
雌端子
21日前
株式会社オートネットワーク技術研究所
電装品
12日前
株式会社SCREENホールディングス
成形方法、および、成形品
26日前
株式会社オートネットワーク技術研究所
電装品
12日前
株式会社オートネットワーク技術研究所
固定部材
13日前
株式会社オートネットワーク技術研究所
コネクタ
22日前
株式会社オートネットワーク技術研究所
コネクタ
22日前
株式会社オートネットワーク技術研究所
電子部品モジュール
今日
株式会社オートネットワーク技術研究所
端子金具、及びコネクタ
21日前
株式会社オートネットワーク技術研究所
端子金具、及びコネクタ
21日前
住友電気工業株式会社
圧粉成形体、コア、ステータ、及び回転電機
28日前
住友電気工業株式会社
レドックスフロー電池用電極、レドックスフロー電池セル、およびレドックスフロー電池システム
7日前
住友電気工業株式会社
運転支援システム、車載器、運転支援サーバ、運転支援方法、コンピュータプログラム及び記憶媒体
27日前
株式会社オートネットワーク技術研究所
端子接続構造および端子付きアルミ電線
22日前
住友電気工業株式会社
光ファイバの偏心量測定方法及び光ファイバの製造方法
20日前
住友電気工業株式会社
システム、サーバ、警告方法、及びコンピュータプログラム
1日前
株式会社オートネットワーク技術研究所
クランプ、ワイヤハーネス及びクランプセット
29日前
住友電気工業株式会社
炭化珪素結晶の製造方法、炭化珪素基板の製造方法、エピタキシャル基板の製造方法および半導体装置の製造方法
20日前
株式会社オートネットワーク技術研究所
コネクタ
26日前
株式会社オートネットワーク技術研究所
シールド端子
12日前
続きを見る
他の特許を見る