TOP
|
特許
|
意匠
|
商標
特許ウォッチ
Twitter
他の特許を見る
10個以上の画像は省略されています。
公開番号
2025170260
公報種別
公開特許公報(A)
公開日
2025-11-18
出願番号
2025127223,2022557258
出願日
2025-07-30,2021-09-02
発明の名称
システム、サーバ、警告方法、及びコンピュータプログラム
出願人
住友電気工業株式会社
代理人
弁理士法人サンクレスト国際特許事務所
主分類
G01C
21/34 20060101AFI20251111BHJP(測定;試験)
要約
【課題】災害発生時に、災害に関する適切な情報を提供できる情報提供システムを提供する。
【解決手段】移動端末と、前記移動端末と通信可能なサーバと、を備えた情報提供システムであって、前記サーバは、前記移動端末の位置情報、及び前記移動端末の位置する地域における気象情報を含む動的情報を逐次取得する動的情報取得部と、気象災害の発生が予測される気象状態である想定気象状態において気象災害の発生が予測される予測エリアを示すハザードマップ情報を含む静的情報を取得する静的情報取得部と、前記動的情報、及び前記静的情報に基づいて、前記移動端末のユーザに危険が及ぶ可能性がある危険エリアを前記予測エリアの中から定める設定部と、前記危険エリアに関する情報を前記移動端末へ送信する通信制御部と、を備え、前記設定部は、逐次取得される情報が示す気象状態が前記想定気象状態に至る前に、前記危険エリアを定める。
【選択図】図3
特許請求の範囲
【請求項1】
移動端末と、前記移動端末と通信可能なサーバと、を備えた情報提供システムであって、
前記サーバは、
前記移動端末の位置情報、及び前記移動端末の位置する地域における気象情報を含む動的情報を逐次取得する動的情報取得部と、
気象災害の発生が予測される気象状態である想定気象状態において気象災害の発生が予測される予測エリアを示すハザードマップ情報を含む静的情報を取得する静的情報取得部と、
前記動的情報、及び前記静的情報に基づいて、前記移動端末のユーザに危険が及ぶ可能性がある危険エリアを前記予測エリアの中から定める設定部と、
前記危険エリアに関する情報を前記移動端末へ送信する通信制御部と、を備え、
前記設定部は、逐次取得される情報が示す気象状態が前記想定気象状態に至る前に、前記危険エリアを定める
情報提供システム。
発明の詳細な説明
【技術分野】
【0001】
本開示は、情報提供システム、サーバ、情報提供方法、及びコンピュータプログラムに関する。
本出願は、2020年10月23日出願の日本出願第2020-178008号に基づく優先権を主張し、前記日本出願に記載された全ての記載内容を援用するものである。
続きを表示(約 2,500 文字)
【背景技術】
【0002】
特許文献1には、災害発生時に緊急情報を受信した場合に、車両の搭乗者に安全な誘導ルートを探索し、誘導ルートの案内を実行するナビゲーションシステムが開示されている。
このナビゲーションシステムは、自然災害発生時に発出される緊急情報の受信に応じて誘導ルートを探索するように構成されている。
【先行技術文献】
【特許文献】
【0003】
特開2005-321323号公報
【発明の概要】
【発明が解決しようとする課題】
【0004】
しかし、特許文献1のシステムでは、自然災害が発生してから誘導案内のための情報提供を開始するので、誘導ルートの選択肢が狭まったり、危険度が高い誘導ルートを案内せざるを得なかったり、災害に関する適切な情報を提供できないおそれがある。
【課題を解決するための手段】
【0005】
実施形態である情報提供システムは、移動端末と、前記移動端末と通信可能なサーバと、を備えた情報提供システムであって、前記サーバは、前記移動端末の位置情報、及び前記移動端末の位置する地域における気象情報を含む動的情報を逐次取得する動的情報取得部と、気象災害の発生が予測される気象状態である想定気象状態において気象災害の発生が予測される予測エリアを示すハザードマップ情報を含む静的情報を取得する静的情報取得部と、前記動的情報、及び前記静的情報に基づいて、前記移動端末のユーザに危険が及ぶ可能性がある危険エリアを前記予測エリアの中から定める設定部と、前記危険エリアに関する情報を前記移動端末へ送信する通信制御部と、を備え、前記設定部は、逐次取得される情報が示す気象状態が前記想定気象状態に至る前に、前記危険エリアを定める。
【0006】
他の実施形態であるサーバは、移動端末と通信可能なサーバであって、前記移動端末の位置情報、及び前記移動端末の位置する地域における気象情報を含む動的情報を逐次取得する動的情報取得部と、気象災害の発生が予測される気象状態である想定気象状態において気象災害の発生が予測される予測エリアを示すハザードマップ情報を含む静的情報を取得する静的情報取得部と、前記動的情報、及び前記静的情報に基づいて、前記移動端末のユーザに危険が及ぶ可能性がある危険エリアを前記予測エリアの中から定める設定部と、前記危険エリアに関する情報を前記移動端末へ送信する通信制御部と、を備え、前記設定部は、逐次取得される情報が示す気象状態が前記想定気象状態に至る前に、前記危険エリアを定める。
【0007】
また、他の実施形態である情報提供方法は、移動端末へ情報を提供する情報提供方法であって、前記移動端末の位置情報、及び前記移動端末の位置する地域における気象情報を含む動的情報を逐次取得する動的情報取得ステップと、気象災害の発生が予測される気象状態である想定気象状態において気象災害の発生が予測される予測エリアを示すハザードマップ情報を含む静的情報を取得する静的情報取得ステップと、前記動的情報、及び前記静的情報に基づいて、前記移動端末のユーザに危険が及ぶ可能性がある危険エリアを前記予測エリアの中から定める設定ステップと、前記危険エリアに関する情報を前記移動端末へ送信する送信ステップと、を含み、前記設定ステップでは、逐次取得される情報が示す気象状態が前記想定気象状態に至る前に、前記危険エリアを定める。
【0008】
他の実施形態であるコンピュータプログラムは、移動端末へ情報を提供する処理をコンピュータに実行させるためのコンピュータプログラムであって、前記コンピュータに前記移動端末の位置情報、及び前記移動端末の位置する地域における気象情報を含む動的情報を逐次取得する動的情報取得ステップと、気象災害の発生が予測される気象状態である想定気象状態において気象災害の発生が予測される予測エリアを示すハザードマップ情報を含む静的情報を取得する静的情報取得ステップと、前記動的情報、及び前記静的情報に基づいて、前記移動端末のユーザに危険が及ぶ可能性がある危険エリアを前記予測エリアの中から定める設定ステップと、前記危険エリアに関する情報を前記移動端末へ送信する送信ステップと、を実行させるコンピュータプログラムであり、前記設定ステップでは、逐次取得される情報が示す気象状態が前記想定気象状態に至る前に、前記危険エリアを定める。
【発明の効果】
【0009】
本開示によれば、気象災害に関する情報を適切に提供することができる。
【図面の簡単な説明】
【0010】
図1は、情報提供システムの全体構成の一例を示す図である。
図2は、洪水災害ハザードマップの一例を示す図である。
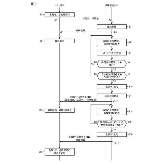
図3は、第1実施形態に係る情報提供サーバ及びユーザ端末において行われる処理の一例を示すシーケンス図である。
図4は、表示装置の表示画面を示す図であり、回避経路、危険エリア、及び危険区間を表示したときの一例を示している。
図5は、第2実施形態に係る情報提供サーバ及びユーザ端末において行われる処理の一例を示すシーケンス図である。
図6は、表示装置の表示画面を示す図であり、危険エリアを表示したときの一例を示している。
図7は、表示装置の表示画面を示す図であり、危険エリアを表示したときの他の例を示している。
図8は、表示装置の表示画面を示す図であり、図7にて示したユーザ端末が危険エリア内に位置したまま、降雨量が想定降雨量を超えた場合を示している。
図9は、上記各実施形態に係る情報提供サーバの構成例を示すブロック図である。
図10は、情報提供サーバの機能の一例を示す機能ブロック図である。
図11は、上記各実施形態に係るユーザ端末の構成例を示すブロック図である。
図12は、ユーザ端末の機能の一例を示す機能ブロック図である。
【発明を実施するための形態】
(【0011】以降は省略されています)
この特許をJ-PlatPat(特許庁公式サイト)で参照する
関連特許
住友電気工業株式会社
受光素子
11日前
住友電気工業株式会社
アバランシェフォトダイオード
6日前
住友電気工業株式会社
画像処理装置、画像処理方法及び画像処理プログラム
12日前
住友電気工業株式会社
絶縁層用樹脂組成物、絶縁電線および絶縁電線の製造方法
12日前
株式会社オートネットワーク技術研究所
電装品
11日前
株式会社オートネットワーク技術研究所
電装品
11日前
株式会社オートネットワーク技術研究所
固定部材
12日前
住友電気工業株式会社
レドックスフロー電池用電極、レドックスフロー電池セル、およびレドックスフロー電池システム
6日前
住友電気工業株式会社
システム、サーバ、警告方法、及びコンピュータプログラム
今日
株式会社オートネットワーク技術研究所
シールド端子
11日前
住友電気工業株式会社
管理装置、通信システム、車両、車両通信管理方法および車両通信管理プログラム
13日前
株式会社オートネットワーク技術研究所
車載ソフトウェア管理装置、車載ソフトウェア管理方法および車載ソフトウェア管理プログラム
11日前
個人
採尿及び採便具
19日前
日本精機株式会社
検出装置
13日前
個人
高精度同時多点測定装置
1か月前
個人
計量機能付き容器
8日前
個人
アクセサリー型テスター
1か月前
甲神電機株式会社
電流検出装置
13日前
株式会社ミツトヨ
測定器
25日前
アズビル株式会社
電磁流量計
28日前
トヨタ自動車株式会社
監視装置
1か月前
株式会社ヨコオ
ソケット
1か月前
ダイキン工業株式会社
監視装置
1か月前
大成建設株式会社
風洞実験装置
8日前
愛知電機株式会社
軸部材の外観検査装置
22日前
大和製衡株式会社
組合せ計量装置
22日前
大和製衡株式会社
組合せ計量装置
22日前
双庸電子株式会社
誤配線検査装置
14日前
日本特殊陶業株式会社
ガスセンサ
6日前
日本信号株式会社
距離画像センサ
11日前
愛知時計電機株式会社
ガスメータ
25日前
ローム株式会社
半導体装置
1か月前
ローム株式会社
半導体装置
1か月前
個人
計量具及び計量機能付き容器
8日前
長崎県
形状計測方法
1か月前
個人
システム、装置及び実験方法
28日前
続きを見る
他の特許を見る