TOP
|
特許
|
意匠
|
商標
特許ウォッチ
Twitter
他の特許を見る
10個以上の画像は省略されています。
公開番号
2025168681
公報種別
公開特許公報(A)
公開日
2025-11-12
出願番号
2022161800
出願日
2022-10-06
発明の名称
レドックスフロー電池用電極、レドックスフロー電池セル、およびレドックスフロー電池システム
出願人
住友電気工業株式会社
代理人
個人
,
個人
主分類
H01M
4/96 20060101AFI20251105BHJP(基本的電気素子)
要約
【課題】反応抵抗が小さいレドックスフロー電池用電極を提供する。
【解決手段】炭素繊維を含む繊維集合体を備え、前記炭素繊維は、前記炭素繊維の長さに沿って設けられている複数の溝部と、前記溝部の間にあって前記溝部よりも相対的に突出している畝部と、前記炭素繊維の周長が仮想円の周長よりも大きい横断面と、を備え、前記横断面は、前記炭素繊維を前記炭素繊維の長さと直交する平面で切断した断面であり、前記仮想円は、前記横断面の面積に等しい面積を有する真円である、レドックスフロー電池用電極。
【選択図】図2
特許請求の範囲
【請求項1】
炭素繊維を含む繊維集合体を備え、
前記炭素繊維は、
前記炭素繊維の長さに沿って設けられている複数の溝部と、
前記溝部の間にあって前記溝部よりも相対的に突出している畝部と、
前記炭素繊維の周長が仮想円の周長よりも大きい横断面と、を備え、
前記横断面は、前記炭素繊維を前記炭素繊維の長さと直交する平面で切断した断面であり、
前記仮想円は、前記横断面の面積に等しい面積を有する真円である、
レドックスフロー電池用電極。
続きを表示(約 570 文字)
【請求項2】
前記複数の溝部の少なくとも一つは、前記溝部の幅および深さの双方と直交する長さが前記仮想円の直径の5倍以上である、請求項1に記載のレドックスフロー電池用電極。
【請求項3】
前記複数の溝部の少なくとも一つは、前記溝部の底部の丸み半径が2μm以下である、請求項1または請求項2に記載のレドックスフロー電池用電極。
【請求項4】
前記炭素繊維は、疑似扁平率が0.15以上である、請求項1または請求項2に記載のレドックスフロー電池用電極。
【請求項5】
前記炭素繊維は、疑似扁平率の標準偏差が0.1以上である、請求項1または請求項2に記載のレドックスフロー電池用電極。
【請求項6】
前記仮想円の直径が1μm以上50μm以下である、請求項1または請求項2に記載のレドックスフロー電池用電極。
【請求項7】
前記繊維集合体は、不織布または織布である、請求項1または請求項2に記載のレドックスフロー電池用電極。
【請求項8】
請求項1に記載のレドックスフロー電池用電極を備える、
レドックスフロー電池セル。
【請求項9】
請求項8に記載のレドックスフロー電池セルを備える、
レドックスフロー電池システム。
発明の詳細な説明
【技術分野】
【0001】
本開示は、レドックスフロー電池用電極、レドックスフロー電池セル、およびレドックスフロー電池システムに関する。
続きを表示(約 1,300 文字)
【背景技術】
【0002】
特許文献1は、複数の炭素繊維を含む炭素繊維集合体で形成されたレドックスフロー電池用電極を開示する。
【先行技術文献】
【特許文献】
【0003】
国際公開第2019/167283号
【発明の概要】
【発明が解決しようとする課題】
【0004】
レドックスフロー電池用電極の反応抵抗を低減することが望まれている。特許文献1の技術では、反応抵抗の低減に関して、更なる改善の余地がある。
【0005】
本開示は、反応抵抗が小さいレドックスフロー電池用電極を提供することを目的の一つとする。
【課題を解決するための手段】
【0006】
本開示のレドックスフロー電池用電極は、炭素繊維を含む繊維集合体を備え、前記炭素繊維は、前記炭素繊維の長さに沿って設けられている複数の溝部と、前記溝部の間にあって前記溝部よりも相対的に突出している畝部と、前記炭素繊維の周長が仮想円の周長よりも大きい横断面と、を備え、前記横断面は、前記炭素繊維を前記炭素繊維の長さと直交する平面で切断した断面であり、前記仮想円は、前記横断面の面積に等しい面積を有する真円である。
【発明の効果】
【0007】
本開示のレドックスフロー電池用電極は、反応抵抗が小さい。
【図面の簡単な説明】
【0008】
図1は、実施形態のレドックスフロー電池用電極を示す概略斜視図である。
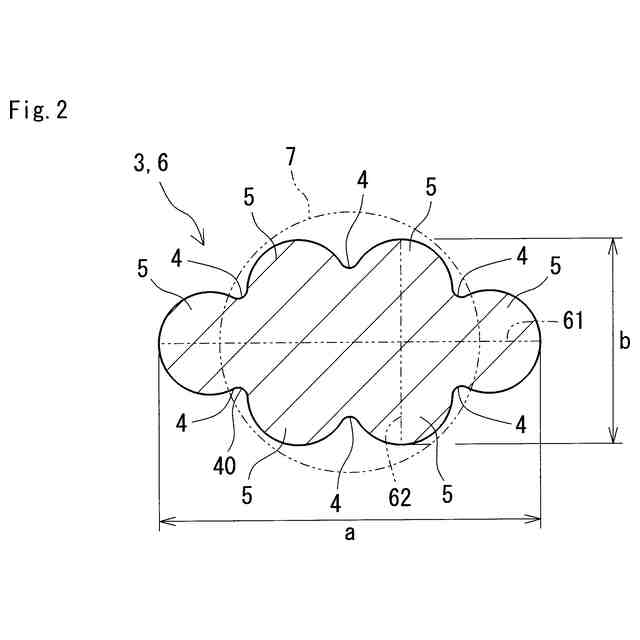
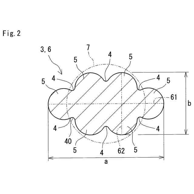
図2は、実施形態のレドックスフロー電池用電極に含まれる炭素繊維の横断面の一例を示す概略断面図である。
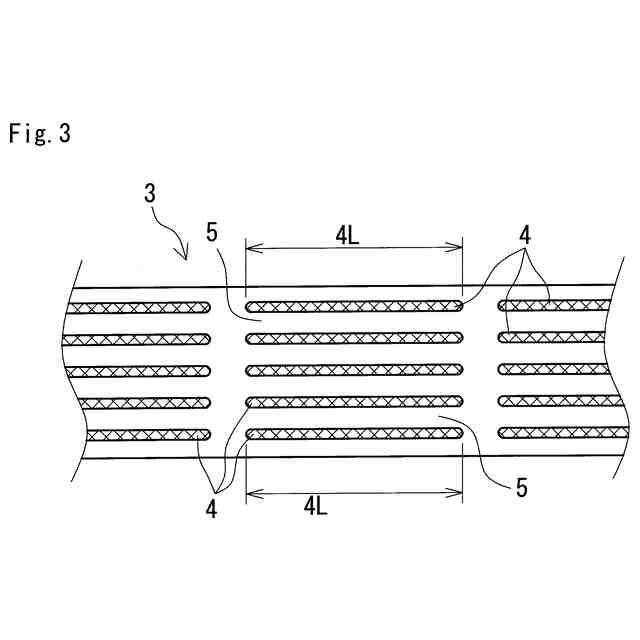
図3は、実施形態のレドックスフロー電池用電極に含まれる炭素繊維の一例を示す概略側面図である。
図4は、実施形態のレドックスフロー電池用電極に含まれる炭素繊維の別の一例を示す概略側面図である。
図5は、実施形態のレドックスフロー電池用電極に含まれる炭素繊維の別の一例を示す概略側面図である。
図6は、実施形態のレドックスフロー電池用電極に含まれる炭素繊維の別の一例を示す概略側面図である。
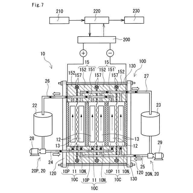
図7は、実施形態のレドックスフロー電池システムの概略構成図である。
図8は、実施形態のレドックスフロー電池システムに備わるセルスタックの概略構成図である。
【発明を実施するための形態】
【0009】
[本開示の実施形態の説明]
最初に本開示の実施態様を列記して説明する。
【0010】
(1)本開示の実施形態に係るレドックスフロー電池用電極は、炭素繊維を含む繊維集合体を備え、前記炭素繊維は、前記炭素繊維の長さに沿って設けられている複数の溝部と、前記溝部の間にあって前記溝部よりも相対的に突出している畝部と、前記炭素繊維の周長が仮想円の周長よりも大きい横断面と、を備え、前記横断面は、前記炭素繊維を前記炭素繊維の長さと直交する平面で切断した断面であり、前記仮想円は、前記横断面の面積に等しい面積を有する真円である。
(【0011】以降は省略されています)
この特許をJ-PlatPat(特許庁公式サイト)で参照する
関連特許
住友電気工業株式会社
受光素子
5日前
住友電気工業株式会社
アバランシェフォトダイオード
今日
株式会社オートネットワーク技術研究所
電装品
5日前
株式会社オートネットワーク技術研究所
電装品
5日前
住友電気工業株式会社
レドックスフロー電池用電極、レドックスフロー電池セル、およびレドックスフロー電池システム
今日
株式会社オートネットワーク技術研究所
シールド端子
5日前
株式会社オートネットワーク技術研究所
車載ソフトウェア管理装置、車載ソフトウェア管理方法および車載ソフトウェア管理プログラム
5日前
APB株式会社
蓄電セル
19日前
東ソー株式会社
絶縁電線
21日前
個人
フレキシブル電気化学素子
1か月前
マクセル株式会社
電源装置
13日前
株式会社ユーシン
操作装置
1か月前
ローム株式会社
半導体装置
20日前
株式会社東芝
端子台
13日前
日新イオン機器株式会社
イオン源
29日前
三菱電機株式会社
回路遮断器
今日
太陽誘電株式会社
コイル部品
1か月前
株式会社GSユアサ
蓄電設備
1か月前
株式会社GSユアサ
蓄電設備
1か月前
株式会社GSユアサ
蓄電装置
6日前
株式会社GSユアサ
蓄電装置
14日前
株式会社ホロン
冷陰極電子源
27日前
オムロン株式会社
電磁継電器
1か月前
株式会社GSユアサ
蓄電装置
14日前
日新イオン機器株式会社
基板処理装置
16日前
サクサ株式会社
電池の固定構造
1か月前
トヨタ自動車株式会社
バッテリ
1か月前
トヨタ自動車株式会社
冷却構造
21日前
トヨタ自動車株式会社
蓄電装置
1か月前
日本特殊陶業株式会社
保持装置
22日前
トヨタ自動車株式会社
蓄電装置
14日前
ノリタケ株式会社
熱伝導シート
1か月前
日東電工株式会社
積層体
1か月前
北道電設株式会社
配電具カバー
19日前
トヨタ自動車株式会社
バッテリ
19日前
日本特殊陶業株式会社
保持装置
5日前
続きを見る
他の特許を見る