TOP
|
特許
|
意匠
|
商標
特許ウォッチ
Twitter
他の特許を見る
10個以上の画像は省略されています。
公開番号
2025163950
公報種別
公開特許公報(A)
公開日
2025-10-30
出願番号
2024067615
出願日
2024-04-18
発明の名称
炭化珪素結晶の製造方法、炭化珪素基板の製造方法、エピタキシャル基板の製造方法および半導体装置の製造方法
出願人
住友電気工業株式会社
代理人
弁理士法人深見特許事務所
主分類
C30B
29/36 20060101AFI20251023BHJP(結晶成長)
要約
【課題】異種ポリタイプの発生を抑制可能な炭化珪素結晶の製造方法、炭化珪素基板の製造方法、エピタキシャル基板の製造方法および半導体装置の製造方法を提供する。
【解決手段】炭化珪素結晶の製造方法は、坩堝内に炭化珪素原料とバナジウム供給源と種結晶とを配置する工程と、炭化珪素原料と種結晶とが対向して配置された状態で、炭化珪素原料およびバナジウム供給源を昇華させることにより、種結晶上に炭化珪素結晶を成長させる工程と、を備えている。炭化珪素粒子のスパン値は、90%粒子径から10%粒子径を引いた値を50%粒子径で割った値として算出される。スパン値は、1.25以上である。
【選択図】図6
特許請求の範囲
【請求項1】
坩堝内に炭化珪素原料とバナジウム供給源と種結晶とを配置する工程と、
前記炭化珪素原料と前記種結晶とが対向して配置された状態で、前記炭化珪素原料および前記バナジウム供給源を昇華させることにより、前記種結晶上に炭化珪素結晶を成長させる工程と、を備え、
前記炭化珪素原料を構成する炭化珪素粒子の積算頻度が10%、50%および90%であるときの粒子径を、それぞれ10%粒子径、50%粒子径および90%粒子径とした場合、前記炭化珪素粒子のスパン値は、前記90%粒子径から前記10%粒子径を引いた値を前記50%粒子径で割った値として算出され、
前記スパン値は、1.25以上である、炭化珪素結晶の製造方法。
続きを表示(約 690 文字)
【請求項2】
前記炭化珪素原料を構成する炭化珪素粒子の積算頻度が5%および20%であるときの粒子径を、それぞれ5%粒子径および20%粒子径とした場合、前記20%粒子径から前記5%粒子径を引いた値を前記50%粒子径で割った値は、0.35以上である、請求項1に記載の炭化珪素結晶の製造方法。
【請求項3】
前記50%粒子径は、300μm以上であり、
前記10%粒子径は、200μm以下である、請求項2に記載の炭化珪素結晶の製造方法。
【請求項4】
請求項1から請求項3のいずれか1項に記載の炭化珪素結晶の製造方法を用いて炭化珪素結晶を準備する工程と、
前記炭化珪素結晶を切断する工程と、を備える、炭化珪素基板の製造方法。
【請求項5】
前記炭化珪素基板の27℃における電気抵抗率は、1×10
8
Ωcm以上である、請求項4に記載の炭化珪素基板の製造方法。
【請求項6】
前記炭化珪素基板の最大径は、150mm以上である、請求項4に記載の炭化珪素基板の製造方法。
【請求項7】
請求項4に記載の炭化珪素基板の製造方法を用いて炭化珪素基板を準備する工程と、
前記炭化珪素基板上に窒化物エピタキシャル層を形成する工程とを備える、エピタキシャル基板の製造方法。
【請求項8】
請求項7に記載のエピタキシャル基板の製造方法を用いてエピタキシャル基板を準備する工程と、
前記窒化物エピタキシャル層上に電極を形成する工程とを備える、半導体装置の製造方法。
発明の詳細な説明
【技術分野】
【0001】
本開示は、炭化珪素結晶の製造方法、炭化珪素基板の製造方法、エピタキシャル基板の製造方法および半導体装置の製造方法に関する。
続きを表示(約 1,800 文字)
【背景技術】
【0002】
特表2003-500321号公報(特許文献1)には、室温で少なくとも5000Ω・cmの抵抗率を有し、且つ、バナジウムを含有する炭化珪素単結晶が開示されている。
【先行技術文献】
【特許文献】
【0003】
特表2003-500321号公報(特許文献1)
【発明の概要】
【発明が解決しようとする課題】
【0004】
本開示の目的は、異種ポリタイプの発生を抑制可能な炭化珪素結晶の製造方法、炭化珪素基板の製造方法、エピタキシャル基板の製造方法および半導体装置の製造方法を提供することである。
【課題を解決するための手段】
【0005】
本開示に係る炭化珪素結晶の製造方法は、坩堝内に炭化珪素原料とバナジウム供給源と種結晶とを配置する工程と、炭化珪素原料と種結晶とが対向して配置された状態で、炭化珪素原料およびバナジウム供給源を昇華させることにより、種結晶上に炭化珪素結晶を成長させる工程と、を備えている。炭化珪素原料を構成する炭化珪素粒子の積算頻度が10%、50%および90%であるときの粒子径を、それぞれ10%粒子径、50%粒子径および90%粒子径とした場合、炭化珪素粒子のスパン値は、90%粒子径から10%粒子径を引いた値を50%粒子径で割った値として算出される。スパン値は、1.25以上である。
【発明の効果】
【0006】
本開示によれば、異種ポリタイプの発生を抑制可能な炭化珪素結晶の製造方法、炭化珪素基板の製造方法、エピタキシャル基板の製造方法および半導体装置の製造方法を提供することができる。
【図面の簡単な説明】
【0007】
図1は、本実施形態に係る炭化珪素基板の構成を示す平面模式図である。
図2は、図1のII-II線に沿った断面模式図である。
図3は、電気抵抗率の測定位置を示す平面模式図である。
図4は、本実施形態に係る炭化珪素基板の製造方法を概略的に示すフロー図である。
図5は、炭化珪素粒子の頻度分布の一例を示すヒストグラムである。
図6は、粒子径の積算頻度プロファイルの一例を示している。
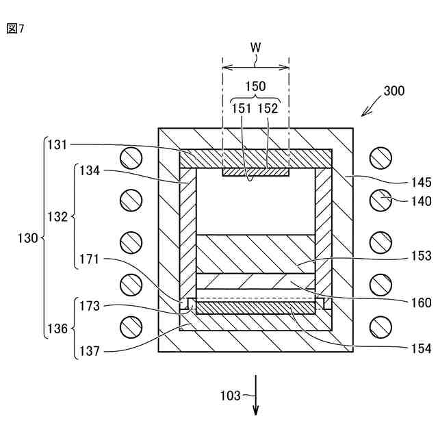
図7は、本実施形態に係る炭化珪素単結晶の製造装置の構成を示す断面模式図である。
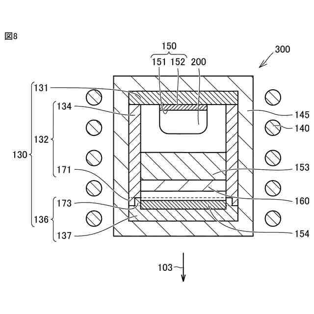
図8は、昇華工程を示す断面模式図である。
図9は、本実施形態に係る半導体装置の製造方法を概略的に示すフロー図である。
図10は、炭化珪素基板上にバッファ層を形成する工程を示す断面模式図である。
図11は、電子走行層および電子供給層を形成する工程を示す断面模式図である。
図12は、本実施形態に係る半導体装置の構成を示す断面模式図である。
図13は、サンプル1に係る炭化珪素結晶の製造方法に用いられた炭化珪素原料の粒子径と頻度との関係を示すヒストグラムを示している。
図14は、サンプル2に係る炭化珪素結晶の製造方法に用いられた炭化珪素原料の粒子径と頻度との関係を示すヒストグラムを示している。
【発明を実施するための形態】
【0008】
[本開示の実施形態の説明]
最初に本開示の実施態様を列記して説明する。
【0009】
(1)本開示に係る炭化珪素結晶の製造方法は、坩堝内に炭化珪素原料とバナジウム供給源と種結晶とを配置する工程と、炭化珪素原料と種結晶とが対向して配置された状態で、炭化珪素原料およびバナジウム供給源を昇華させることにより、種結晶上に炭化珪素結晶を成長させる工程と、を備えている。炭化珪素原料を構成する炭化珪素粒子の積算頻度が10%、50%および90%であるときの粒子径を、それぞれ10%粒子径、50%粒子径および90%粒子径とした場合、炭化珪素粒子のスパン値は、90%粒子径から10%粒子径を引いた値を50%粒子径で割った値として算出される。スパン値は、1.25以上である。
【0010】
(2)上記(1)に係る炭化珪素結晶の製造方法によれば、炭化珪素原料を構成する炭化珪素粒子の積算頻度が5%および20%であるときの粒子径を、それぞれ5%粒子径および20%粒子径とした場合、20%粒子径から5%粒子径を引いた値を50%粒子径で割った値は、0.35以上であってもよい。
(【0011】以降は省略されています)
この特許をJ-PlatPat(特許庁公式サイト)で参照する
関連特許
住友電気工業株式会社
窒化物半導体装置の製造方法
3日前
住友電気工業株式会社
アバランシェフォトダイオード
11日前
住友電気工業株式会社
画像処理装置、画像処理方法及び画像処理プログラム
3日前
住友電気工業株式会社
電力変換システム、制御方法、コンピュータプログラム
3日前
住友電気工業株式会社
マルチコア光ファイバ
3日前
住友電気工業株式会社
高電子移動度トランジスタおよび高電子移動度トランジスタの製造方法
3日前
株式会社オートネットワーク技術研究所
コネクタ
3日前
株式会社オートネットワーク技術研究所
基板用コネクタ
3日前
株式会社オートネットワーク技術研究所
電子部品モジュール
4日前
株式会社オートネットワーク技術研究所
オプション機器追加用内装部材
3日前
株式会社オートネットワーク技術研究所
基板用コネクタ及びコネクタ装置
3日前
株式会社オートネットワーク技術研究所
車載中継装置、中継方法および中継プログラム
3日前
住友電気工業株式会社
システム、サーバ、警告方法、及びコンピュータプログラム
5日前
株式会社オートネットワーク技術研究所
コネクタ
3日前
株式会社オートネットワーク技術研究所
オプション機器組込内装部材、オプション機器及び内装部材
3日前
SECカーボン株式会社
坩堝
7か月前
SECカーボン株式会社
結晶成長装置
6か月前
株式会社CUSIC
SiC積層体の製造方法
5か月前
アムジエン・インコーポレーテツド
SLC30A8発現を阻害するためのRNAiコンストラクト及びその使用方法
1か月前
住友金属鉱山株式会社
結晶育成装置
3か月前
学校法人 東洋大学
マルチカラー結晶の結晶成長方法
6か月前
株式会社FLOSFIA
構造体および構造体の製造方法
2か月前
株式会社SUMCO
単結晶の製造方法
4か月前
信越化学工業株式会社
炭化金属被覆材料
5か月前
富士電機株式会社
半導体装置及びその製造方法
3日前
コマディール・エス アー
サファイア棒状体の製造方法
6か月前
セイコーエプソン株式会社
人工水晶製造装置
2か月前
信越半導体株式会社
半導体ウェーハの製造方法
27日前
株式会社C&A
処理装置および方法
5か月前
株式会社レゾナック
SiCエピタキシャルウェハ
6か月前
日本碍子株式会社
AlN単結晶基板及びデバイス
1か月前
住友金属鉱山株式会社
圧電性酸化物単結晶基板の製造方法
6か月前
住友金属鉱山株式会社
圧電性酸化物単結晶基板の製造方法
5か月前
住友金属鉱山株式会社
単結晶の育成方法及びその装置
1か月前
信越半導体株式会社
3C-SiC単結晶基板の評価方法
3か月前
住友電気工業株式会社
炭化珪素基板の製造方法
3か月前
続きを見る
他の特許を見る