TOP
|
特許
|
意匠
|
商標
特許ウォッチ
Twitter
他の特許を見る
10個以上の画像は省略されています。
公開番号
2025171531
公報種別
公開特許公報(A)
公開日
2025-11-20
出願番号
2024076975
出願日
2024-05-10
発明の名称
半導体装置及びその製造方法
出願人
富士電機株式会社
代理人
個人
,
個人
主分類
C30B
29/06 20060101AFI20251113BHJP(結晶成長)
要約
【課題】シリコン基板中の酸素のドナー化に伴う耐圧低下を抑制することができる半導体装置を提供する。
【解決手段】半導体装置は、第1導電型の半導体基板1と、半導体基板1上に設けられた第1導電型のエピタキシャル成長層2と、を有する半導体基体10を備え、半導体基体10の厚さT1が200μm以上、400μm以下であり、半導体基体10中の酸素のピーク濃度の位置が、半導体基体10の上面から50μm以上、250μm以下の深さにある。
【選択図】図14
特許請求の範囲
【請求項1】
第1導電型の半導体基板と、前記半導体基板上に設けられた第1導電型のエピタキシャル成長層と、を有する半導体基体を備え、
前記半導体基体の厚さが200μm以上、400μm以下であり、
前記半導体基体中の酸素のピーク濃度の位置が、前記半導体基体の上面から50μm以上、250μm以下の深さにある
半導体装置。
続きを表示(約 1,100 文字)
【請求項2】
前記半導体基体中の酸素のピーク濃度が1×10
18
atoms/cm
3
未満である
請求項1に記載の半導体装置。
【請求項3】
前記半導体基体中の酸素の濃度が1×10
17
atoms/cm
3
以上、1×10
18
atoms/cm
3
未満である
請求項1又は2に記載の半導体装置。
【請求項4】
前記半導体基体中の酸素のピーク濃度の位置が、前記半導体基体の厚さの中央から上面側に50μmと前記半導体基体の厚さの中央から下面側に50μmとの間にある
請求項1又は2に記載の半導体装置。
【請求項5】
前記半導体基体中の酸素のピーク濃度の位置が、前記半導体基体の厚さの中央よりも下面側にある
請求項1又は2に記載の半導体装置。
【請求項6】
前記半導体基体の前記第1導電型のキャリア濃度の最小値の位置が、前記半導体基体中の酸素のピーク濃度の位置に対応する
請求項1又は2に記載の半導体装置。
【請求項7】
前記半導体基板と前記エピタキシャル成長層との間に設けられた第2導電型の埋込層を更に備える
請求項1又は2に記載の半導体装置。
【請求項8】
第1導電型の半導体基板と、前記半導体基板上に設けられた第1導電型のエピタキシャル成長層と、を備え、厚さが200μm以上、400μm以下の半導体基体を用意する工程と、
第1熱処理により、前記半導体基体中の酸素を前記半導体基体の上面側及び下面側へ外方拡散させて、前記半導体基体中の酸素のピーク濃度を減少させる工程と、
前記半導体基体中の酸素のピーク濃度を減少させた状態で、第2熱処理により、前記半導体基体中の酸素をドナー化する工程と、
を含む半導体装置の製造方法。
【請求項9】
前記半導体基体を用意する工程は、酸素濃度が1×10
18
atoms/cm
3
以上、1.3×10
18
atoms/cm
3
以下の前記半導体基体を用意する
請求項8に記載の半導体装置の製造方法。
【請求項10】
前記半導体基体を用意する工程は、
チョクラルスキー法により育成されたシリコン単結晶をスライスし、
前記半導体基板上に前記エピタキシャル成長層を成長させる
ことを含む
請求項8又は9に記載の半導体装置の製造方法。
(【請求項11】以降は省略されています)
発明の詳細な説明
【技術分野】
【0001】
本開示は、半導体装置及びその製造方法に関する。
続きを表示(約 1,900 文字)
【背景技術】
【0002】
特許文献1には、チョクラルスキー(CZ)法でシリコン単結晶を育成する際にシリコン単結晶中に酸素が混入し、350℃以上、500℃以下の熱処理により酸素が凝集し電子を放出することで、電気的に活性なサーマルドナーを形成することが開示されている。
【0003】
特許文献2には、350℃以上、500℃以下のアニール熱処理により、シリコン基板中の酸素が活性化してドナーとなること、及び、シリコン基板の表面側に形成されるMOS構造形成の際の熱処理により、表面側及び裏面側から酸素原子が外方拡散し、表面及び裏面から45μm程度の深さまで酸素濃度が減少した状態で酸素をドナー化することが開示されている。特許文献3には、磁場印加チョクラルスキー(MCZ)法が開示されている。
【先行技術文献】
【特許文献】
【0004】
特開2024-4663号公報
特許第5248741号明細書
特開平5-155682号公報
【発明の概要】
【発明が解決しようとする課題】
【0005】
特許文献1及び2に記載のように、シリコン基板中の酸素がドナー化することにより、シリコン基板の表面から深い領域において導電型がp型からn型に反転(N転)したり、高比抵抗化したりすることで、耐圧が低下する場合がある。
【0006】
上記課題に鑑み、本開示は、シリコン基板中の酸素のドナー化に伴う耐圧低下を抑制することができる半導体装置及びその製造方法を提供することを目的とする。
【課題を解決するための手段】
【0007】
本開示の一態様は、第1導電型の半導体基板と、半導体基板上に設けられた第1導電型のエピタキシャル成長層と、を有する半導体基体を備え、半導体基体の厚さが200μm以上、400μm以下であり、半導体基体中の酸素のピーク濃度の位置が、半導体基体の上面から50μm以上、250μm以下の深さにある半導体装置であることを要旨とする。
【0008】
本開示の他の態様は、第1導電型の半導体基板と、半導体基板上に設けられた第1導電型のエピタキシャル成長層と、を備え、厚さが200μm以上、400μm以下の半導体基体を用意する工程と、第1熱処理により、半導体基体中の酸素を半導体基体の上面側及び下面側へ外方拡散させて、半導体基体中の酸素のピーク濃度を減少させる工程と、半導体基体中の酸素のピーク濃度を減少させた状態で、第2熱処理により、半導体基体中の酸素をドナー化する工程と、を含む半導体装置の製造方法であることを要旨とする。
【発明の効果】
【0009】
本開示によれば、シリコン基板中の酸素のドナー化に伴う耐圧低下を抑制することができる半導体装置及びその製造方法を提供することができる。
【図面の簡単な説明】
【0010】
第1実施形態に係る半導体装置の断面図である。
第1実施形態に係る半導体装置の製造方法の工程断面図である。
第1実施形態に係る半導体装置の製造方法の図2に引き続く工程断面図である。
第1実施形態に係る半導体装置の製造方法の図3に引き続く工程断面図である。
第1実施形態に係る半導体装置の製造方法の図4に引き続く工程断面図である。
第1実施形態に係る半導体装置の製造方法の図5に引き続く工程断面図である。
第1実施形態に係る半導体装置の製造方法の図6に引き続く工程断面図である。
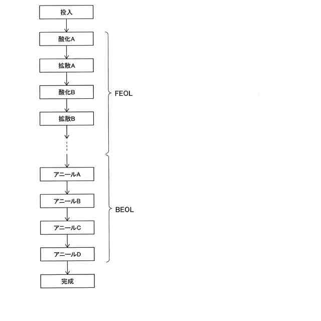
第1実施形態に係る半導体装置の製造方法の熱履歴例を示すフローチャートである。
図8の酸化工程及び拡散工程の熱処理条件例を示す表である。
図8のアニール工程の熱処理条件例を示す表である。
比較例に係る半導体装置の断面図である。
比較例に係る半導体装置の酸素濃度プロファイルを示すグラフである。
比較例に係る半導体装置のキャリア濃度プロファイルを示すグラフである。
第1実施形態に係る半導体装置の酸素濃度プロファイルを示すグラフである。
第1実施形態に係る半導体装置のキャリア濃度プロファイルを示すグラフである。
第2実施形態に係る半導体装置の製造方法の工程断面図である。
第2実施形態に係る半導体装置の製造方法の図16に引き続く工程断面図である。
第3実施形態に係る半導体装置の断面図である。
第4実施形態に係る半導体装置の断面図である。
【発明を実施するための形態】
(【0011】以降は省略されています)
この特許をJ-PlatPat(特許庁公式サイト)で参照する
関連特許
富士電機株式会社
駆動回路
22日前
富士電機株式会社
半導体装置
1か月前
富士電機株式会社
電磁接触器
1か月前
富士電機株式会社
電磁接触器
1か月前
富士電機株式会社
電磁接触器
1か月前
富士電機株式会社
電磁接触器
1か月前
富士電機株式会社
電磁接触器
1か月前
富士電機株式会社
半導体装置
1か月前
富士電機株式会社
自動販売機
29日前
富士電機株式会社
半導体装置
7日前
富士電機株式会社
電磁接触器
1日前
富士電機株式会社
商品収納装置
1か月前
富士電機株式会社
飲料抽出装置
24日前
富士電機株式会社
ショーケース
1か月前
富士電機株式会社
自動販売装置
1か月前
富士電機株式会社
硬貨処理装置
22日前
富士電機株式会社
金銭処理装置
1か月前
富士電機株式会社
硬貨処理装置
22日前
富士電機株式会社
学習システム
1か月前
富士電機株式会社
半導体モジュール
1か月前
富士電機株式会社
電力変換システム
1か月前
富士電機株式会社
半導体モジュール
28日前
富士電機株式会社
ガス処理システム
25日前
富士電機株式会社
チャンネルベース
1か月前
富士電機株式会社
チャンネルベース
1か月前
富士電機株式会社
半導体モジュール
17日前
富士電機株式会社
集積回路、電源回路
1か月前
富士電機株式会社
制御装置、制御方法
22日前
富士電機株式会社
冷却器及び半導体装置
1か月前
富士電機株式会社
セーフリスト管理方法
22日前
富士電機株式会社
半導体装置の製造方法
1か月前
富士電機株式会社
店舗情報設定システム
1か月前
富士電機株式会社
制御回路および電源装置
17日前
富士電機株式会社
半導体装置及びその製造方法
1か月前
富士電機株式会社
冷却器及び半導体モジュール
1か月前
富士電機株式会社
制御回路および電力供給回路
1か月前
続きを見る
他の特許を見る