TOP
|
特許
|
意匠
|
商標
特許ウォッチ
Twitter
他の特許を見る
10個以上の画像は省略されています。
公開番号
2025171634
公報種別
公開特許公報(A)
公開日
2025-11-20
出願番号
2024077160
出願日
2024-05-10
発明の名称
オプション機器組込内装部材、オプション機器及び内装部材
出願人
株式会社オートネットワーク技術研究所
,
住友電装株式会社
,
住友電気工業株式会社
,
トヨタ自動車株式会社
代理人
個人
,
個人
,
個人
,
個人
主分類
B60R
13/02 20060101AFI20251113BHJP(車両一般)
要約
【課題】オプション機器を車両に容易に追加できるようにすることを目的とする。
【解決手段】オプション機器組込内装部材20は、車室内から物を収納及び取出可能な収納部40を有する内装部材30と、少なくとも一部が収納部内に位置する状態で収納部に装着されたオプション機器50と、収納部に装着されたオプション機器に接続されたオプション用コネクタ60と、を備える。
【選択図】図2
特許請求の範囲
【請求項1】
車室内から物を収納及び取出可能な収納部を有する内装部材と、
少なくとも一部が前記収納部内に位置する状態で前記収納部に装着されたオプション機器と、
前記収納部に装着されたオプション機器に接続されたオプション用コネクタと、
を備えるオプション機器組込内装部材。
続きを表示(約 1,100 文字)
【請求項2】
請求項1に記載のオプション機器組込内装部材であって、
前記収納部の内面と前記オプション機器との間に圧縮状態で介在し、弾性復元力によって前記オプション機器を前記収納部内に保持する力を生じさせる弾性介在部材をさらに備えるオプション機器組込内装部材。
【請求項3】
請求項1又は請求項2に記載のオプション機器組込内装部材であって、
前記収納部又は前記オプション機器に、前記オプション機器又は前記収納部に係止して、前記オプション機器を前記収納部に装着した状態に保つ係止突部が形成されている、オプション機器組込内装部材。
【請求項4】
請求項1又は請求項2に記載のオプション機器組込内装部材であって、
前記オプション機器は、前記収納部の内面に応じた外面を有する介在ケースと、前記介在ケース内に収容された機器本体とを含む、オプション機器組込内装部材。
【請求項5】
請求項1又は請求項2に記載のオプション機器組込内装部材であって、
前記オプション用コネクタは、接続方向が前記収納部に対する前記オプション機器の装着方向に沿う姿勢で、前記収納部の外側開口よりも内側に、支持されている、オプション機器組込内装部材。
【請求項6】
請求項1又は請求項2に記載のオプション機器組込内装部材であって、
前記オプション用コネクタから延出するオプション用伝送線をさらに備え、
前記オプション用伝送線は、前記オプション用コネクタを前記収納部の底部から前記収納部の内側に移動可能にする余長部を有する、オプション機器組込内装部材。
【請求項7】
請求項1又は請求項2に記載のオプション機器組込内装部材であって、
前記収納部は、底側開口を有する、オプション機器組込内装部材。
【請求項8】
請求項7に記載のオプション機器組込内装部材であって、
前記底側開口の周縁の少なくとも一部は、破断痕を有する、オプション機器組込内装部材。
【請求項9】
請求項7に記載のオプション機器組込内装部材であって、
前記底側開口の周縁に、ヒンジ部を介して分離領域が開閉可能に連なっている、オプション機器組込内装部材。
【請求項10】
請求項1又は請求項2に記載のオプション機器組込内装部材であって、
前記内装部材は、ドア内装部材であり、
前記収納部は、車室内に向けて開口する収納部である、オプション機器組込内装部材。
(【請求項11】以降は省略されています)
発明の詳細な説明
【技術分野】
【0001】
本開示は、オプション機器組込内装部材、オプション機器及び内装部材に関する。
続きを表示(約 1,400 文字)
【背景技術】
【0002】
特許文献1は、電装部品と該電装部品と接続された接続コネクタを有するワイヤハーネスを覆って、ボディの内面側に取り付ける自動車用内装部品であって、外周部分に第1の重複部を有して前記電装部品と前記ワイヤハーネスの接続コネクタを覆って前記ボディに取り付ける第1の内装部品分割体と、前記第1の内装部品分割体の前記第1の重複部が重ね合わされる第2の重複部を有する第2の内装部品分割体とを備える自動車用内装部品を開示している。
【先行技術文献】
【特許文献】
【0003】
特開2015-189425号公報
【発明の概要】
【発明が解決しようとする課題】
【0004】
ここで、自動車にオプション機器の追加が望まれる場合がある。従来の内装部品は、オプション機器の追加を想定した構成を備えていないため、当該オプション機器の追加が困難であることが想定される。
【0005】
そこで、本開示は、オプション機器を車両に容易に追加できるようにすることを目的とする。
【課題を解決するための手段】
【0006】
本開示のオプション機器組込内装部材は、車室内から物を収納及び取出可能な収納部を有する内装部材と、少なくとも一部が前記収納部内に位置する状態で前記収納部に装着されたオプション機器と、前記収納部に装着されたオプション機器に接続されたオプション用コネクタと、を備えるオプション機器組込内装部材である。
【0007】
本開示のオプション機器は、収納部を有する車両の内装部材に追加可能なオプション機器であって、前記収納部の内面に応じた外面を有する介在ケースと、前記介在ケース内に収容された機器本体と、前記内装部材側のオプション用コネクタに接続可能な機器側コネクタと、を備えるオプション機器である。
【0008】
本開示の内装部材は、外側開口を通じて車室内に開口すると共に、前記外側開口の内側に収納スペースを形成する収納スペース形成部を有する収納部を備え、前記収納スペース形成部の少なくとも一部が、コネクタ接続用の開口を形成するように分離可能な分離領域を有する、内装部材である。
【発明の効果】
【0009】
本開示によれば、オプション機器を車両に容易に追加できる。
【図面の簡単な説明】
【0010】
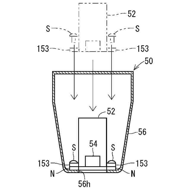
図1は実施形態に係るオプション機器組込内装部材を備えるドアを示す側面図である。
図2は図1のII-II線における概略断面図である。
図3は介在ケースに対する機器本体の固定構成例を示す図である。
図4は介在ケースに対する機器本体の他の固定構成例を示す図である。
図5はオプション機器を装着する前のドア内装部材を示す概略断面図である。
図6はドア内装部材に対するオプション機器の装着作業例を示す説明図である。
図7はドア内装部材に対するオプション機器の装着作業例を示す説明図である。
図8は収納部によるオプション機器の保持構造例を示す概略断面図である。
図9はオプション用コネクタの保持構造例を示す概略断面図である。
図10はオプション機器を装着する前のドア内装部材を示す概略断面図である。
【発明を実施するための形態】
(【0011】以降は省略されています)
この特許をJ-PlatPat(特許庁公式サイト)で参照する
関連特許
個人
カーテント
5か月前
個人
タイヤレバー
3か月前
個人
前輪キャスター
2か月前
個人
上部一体型自動車
1か月前
個人
タイヤ脱落防止構造
2か月前
個人
空間形成装置
22日前
個人
ルーフ付きトライク
3か月前
個人
車輪清掃装置
5か月前
個人
ホイルのボルト締結
4か月前
個人
キャンピングトライク
5か月前
日本精機株式会社
照明装置
17日前
個人
マスタシリンダ
1か月前
井関農機株式会社
作業車両
5か月前
日本精機株式会社
表示装置
3か月前
井関農機株式会社
作業車両
5か月前
個人
車両通過構造物
3か月前
日本精機株式会社
表示装置
3か月前
日本精機株式会社
表示装置
3か月前
日本精機株式会社
表示装置
3か月前
個人
アクセルのソフトウェア
4か月前
個人
常設収納型サンバイザー
28日前
個人
乗合路線バスの客室装置
4か月前
個人
キャンピングトレーラー
5か月前
個人
車両用スリップ防止装置
4か月前
日本精機株式会社
車載表示装置
25日前
日本精機株式会社
車載表示装置
1か月前
株式会社ニフコ
保持装置
4か月前
株式会社ニフコ
収納装置
2か月前
日本精機株式会社
車載表示装置
4か月前
株式会社ニフコ
照明装置
3か月前
個人
音声ガイド、音声サービス
4か月前
個人
車載小物入れ兼雨傘収納具
4か月前
日本精機株式会社
車載表示装置
2か月前
日本精機株式会社
車室演出装置
2か月前
個人
回転窓ワイパー装置
22日前
株式会社豊田自動織機
産業車両
17日前
続きを見る
他の特許を見る