TOP
|
特許
|
意匠
|
商標
特許ウォッチ
Twitter
他の特許を見る
公開番号
2025170847
公報種別
公開特許公報(A)
公開日
2025-11-20
出願番号
2024075634
出願日
2024-05-08
発明の名称
基板用コネクタ及びコネクタ装置
出願人
株式会社オートネットワーク技術研究所
,
住友電装株式会社
,
住友電気工業株式会社
代理人
弁理士法人グランダム特許事務所
主分類
H01R
12/71 20110101AFI20251113BHJP(基本的電気素子)
要約
【課題】ペグに生じる応力を低減する。
【解決手段】基板用コネクタ10は、基板側ハウジング11と、基板側ハウジング11の外側面11Sに取り付けられた状態で半田32によって回路基板Pに固着されたペグ20と、を備え、基板側ハウジング11には、背面41Rから電線43を導出させたハーネス側ハウジング41が前方から嵌合されるようになっており、ペグ20は、基板側ハウジング11の外側面11Sに固定されたハウジング固定部21と、基板側ハウジング11に対して非固定状態であって、回路基板Pに対して半田32によって固着される基板固着部25と、を有し、ハウジング固定部21と基板固着部25は、ペグ20の前後方向における後端側領域のみにおいて繋がっている。
【選択図】図1
特許請求の範囲
【請求項1】
基板側ハウジングと、
前記基板側ハウジングの外側面に取り付けられた状態で半田によって回路基板に固着されたペグと、を備え、
前記基板側ハウジングには、背面から電線を導出させたハーネス側ハウジングが前方から嵌合されるようになっており、
前記ペグは、
前記基板側ハウジングの前記外側面に固定されたハウジング固定部と、
前記基板側ハウジングに対して非固定状態であって、前記回路基板に対して半田によって固着される基板固着部と、を有し、
前記ハウジング固定部と前記基板固着部は、前記ペグの前後方向における後端側領域のみにおいて繋がっている基板用コネクタ。
続きを表示(約 470 文字)
【請求項2】
前記ペグのうち前記ハウジング固定部と前記基板固着部とを繋ぐ繋ぎ部には、前記繋ぎ部の変形を抑制する補強部が形成されている請求項1に記載の基板用コネクタ。
【請求項3】
前記ハウジング固定部には、前記ハウジング固定部の変形を抑制する第2補強部が形成されている請求項1又は請求項2に記載の基板用コネクタ。
【請求項4】
基板側ハウジングと、
前記基板側ハウジングの外側面に取り付けられた状態で半田によって回路基板に固着されたペグと、
背面から電線を導出させた状態で前記基板側ハウジングに対して前方から嵌合されたハーネス側ハウジングと、を備え、
前記ペグは、
前記基板側ハウジングの前記外側面に固定されたハウジング固定部と、
前記基板側ハウジングに対して非固定状態であって、前記回路基板に対して半田によって固着された基板固着部と、を有し、
前記ハウジング固定部と前記基板固着部は、前記ペグの前後方向における後端側領域のみにおいて繋がっているコネクタ装置。
発明の詳細な説明
【技術分野】
【0001】
本開示は、基板用コネクタ及びコネクタ装置に関するものである。
続きを表示(約 1,800 文字)
【背景技術】
【0002】
特許文献1には、左右両側壁にペグ固定部が形成されたハウジングと、ペグ固定部に圧入されるペグを有する基板用コネクタが開示されている。ペグ固定部は、各側壁において、前後方向に間隔を空けて対向するように一対設けられている。ペグは、金属板材からなり、一対のペグ固定部の間に圧入される本体と、本体の外縁部を折り曲げた形態の折曲部とを有する。折曲部は、前後方向に細長く延びた形状をなし、基板に対して半田付けによって固着される。ペグは、ペグ固定部に対して基板とは反対側から係止する大幅部を有する。大幅部は、ペグ固定部に係止することによって、ハウジングが基板から離れる方向へ移動することを防止する。
【先行技術文献】
【特許文献】
【0003】
特開2019-036477号公報
【発明の概要】
【発明が解決しようとする課題】
【0004】
ハウジングには、背面から電線が導出された相手側コネクタが嵌合される。電線が回路基板から遠ざかる方向へ引っ張られたときに、折曲部を回路基板に固定している半田には、回路基板からペグを引き剥がそうとする力が作用する。半田に生じる応力は、ペグの変位量が大きいほど増大する。特許文献1に記載されたものでは、相手側コネクタの背面が基板用コネクタの前端よりも前方に位置するため、ペグは、折曲部の後端部を支点として前端側を回路基板から離隔させるように傾こうとする。そのため、半田に生じる応力が、ペグの前端部において集中するという問題がある。
【0005】
本開示の基板用コネクタ及びコネクタ装置は、上記のような事情に基づいて完成されたものであって、ペグに生じる応力を低減することを目的とする。
【課題を解決するための手段】
【0006】
第1の開示の基板用コネクタは、
基板側ハウジングと、
前記基板側ハウジングの外側面に取り付けられた状態で半田によって回路基板に固着されたペグと、を備え、
前記基板側ハウジングには、背面から電線を導出させたハーネス側ハウジングが前方から嵌合されるようになっており、
前記ペグは、
前記基板側ハウジングの前記外側面に固定されたハウジング固定部と、
前記基板側ハウジングに対して非固定状態であって、前記回路基板に対して半田によって固着される基板固着部と、を有し、
前記ハウジング固定部と前記基板固着部は、前記ペグの前後方向における後端側領域のみにおいて繋がっている。
【0007】
第2の開示のコネクタ装置は、
基板側ハウジングと、
前記基板側ハウジングの外側面に取り付けられた状態で半田によって回路基板に固着されたペグと、
背面から電線を導出させた状態で前記基板側ハウジングに対して前方から嵌合されたハーネス側ハウジングと、を備え、
前記ペグは、
前記基板側ハウジングの前記外側面に固定されたハウジング固定部と、
前記基板側ハウジングに対して非固定状態であって、前記回路基板に対して前記半田によって固着された基板固着部と、を有し、
前記ハウジング固定部と前記基板固着部は、前記ペグの前後方向における後端側領域のみにおいて繋がっている。
【発明の効果】
【0008】
第1及び第2の開示によれば、ペグに生じる応力を低減することができる。
【図面の簡単な説明】
【0009】
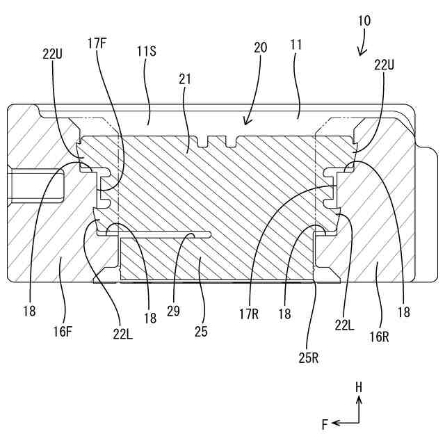
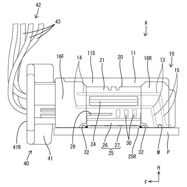
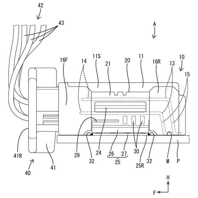
図1は、実施例1のコネクタ装置の側面図である。
図2は、基板用コネクタとハーネス側コネクタを離脱させた状態をあらわす斜視図である。
図3は、基板用コネクタにおける基板側ハウジングとペグとの嵌合状態をあらわす側断面図である。
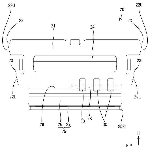
図4は、ペグの斜視図である。
図5は、ペグの側面図である。
【発明を実施するための形態】
【0010】
[本開示の実施形態の説明]
最初に本開示の実施形態を列記して説明する。下記の複数の実施形態を、矛盾を生じない範囲で任意に組み合わせたものも、発明を実施するための形態に含まれる。
(【0011】以降は省略されています)
この特許をJ-PlatPat(特許庁公式サイト)で参照する
関連特許
三菱電機株式会社
回路遮断器
9日前
株式会社GSユアサ
蓄電装置
1日前
富士電機株式会社
電磁接触器
1日前
ローム株式会社
半導体モジュール
2日前
矢崎総業株式会社
コネクタ
1日前
ヒロセ電機株式会社
電気コネクタ
1日前
住友電装株式会社
コネクタ
1日前
株式会社レゾナック
冷却器
9日前
株式会社デンソー
半導体装置
1日前
日本航空電子工業株式会社
コネクタ
14日前
新電元工業株式会社
半導体装置
1日前
TDK株式会社
電子部品
1日前
トヨタ自動車株式会社
電池
7日前
矢崎総業株式会社
コネクタ
2日前
FDK株式会社
組電池及びその作製方法
11日前
テラル株式会社
磁場発生装置
14日前
株式会社村田製作所
インダクタ部品
2日前
株式会社村田製作所
インダクタ部品
2日前
株式会社AESCジャパン
電池及び電気装置
1日前
矢崎総業株式会社
コネクタ
1日前
株式会社アルバック
プラズマ処理装置
1日前
株式会社アイシン
ヒートシンク
14日前
ニチコン株式会社
金属化フィルムコンデンサ
9日前
ケル株式会社
多極スイッチ
1日前
SMC株式会社
マグネットチャック
1日前
ケル株式会社
多極スイッチ
1日前
FDK株式会社
電池
1日前
株式会社デンソー
コンデンサモジュール
3日前
フタバ産業株式会社
熱交換器
9日前
北川工業株式会社
磁性積層体
7日前
トヨタバッテリー株式会社
二次電池
14日前
国立研究開発法人産業技術総合研究所
湿度変動発電素子
9日前
株式会社プロテリアル
ケーブル
1日前
浜松ホトニクス株式会社
光集積回路
1日前
浜松ホトニクス株式会社
光集積回路
1日前
浜松ホトニクス株式会社
光集積回路
1日前
続きを見る
他の特許を見る