TOP
|
特許
|
意匠
|
商標
特許ウォッチ
Twitter
他の特許を見る
公開番号
2025170947
公報種別
公開特許公報(A)
公開日
2025-11-20
出願番号
2024075818
出願日
2024-05-08
発明の名称
ケーブル
出願人
株式会社プロテリアル
代理人
名古屋国際弁理士法人
主分類
H01B
7/18 20060101AFI20251113BHJP(基本的電気素子)
要約
【課題】設備からしごきによるストレスを受けた場合でも、ドレンワイヤの導体に座屈や断線が発生することを抑制できるケーブルを提供すること。
【解決手段】ケーブルは、複数本の絶縁電線と、1本以上のドレンワイヤと、前記複数本の絶縁電線を被覆する遮蔽層と、シースと、を備える。前記ケーブルの直交断面において、前記ドレンワイヤの導体は、前記複数本の絶縁電線の導体を全て収容するという条件の下で直径が最小である仮想円の内側に配置されている。
【選択図】図1
特許請求の範囲
【請求項1】
複数本の絶縁電線と、
1本以上のドレンワイヤと、
前記複数本の絶縁電線を被覆する遮蔽層と、
シースと、
を備えるケーブルであって、
前記ケーブルの直交断面において、前記ドレンワイヤの導体は、前記複数本の絶縁電線の導体を全て収容するという条件の下で直径が最小である仮想円の内側に配置されている、
ケーブル。
続きを表示(約 460 文字)
【請求項2】
請求項1に記載のケーブルであって、
前記直交断面において、前記ドレンワイヤは、隣接する2本の前記絶縁電線により構成される谷間部分に配置されている、
ケーブル。
【請求項3】
請求項1又は2に記載のケーブルであって、
前記ドレンワイヤの導体における外径は、前記絶縁電線の導体における外径の1/3倍以上1/2倍以下である、
ケーブル。
【請求項4】
請求項1又は2に記載のケーブルであって、
前記ドレンワイヤの導体における断面積は、前記絶縁電線の導体における断面積の3%以上20%以下である、
ケーブル。
【請求項5】
請求項1又は2に記載のケーブルであって、
前記絶縁電線の本数は2本以上6本以下である、
ケーブル。
【請求項6】
請求項1又は2に記載のケーブルであって、
前記ドレンワイヤは、導体と、前記導体を被覆する導電ゴムとを備える、
ケーブル。
発明の詳細な説明
【技術分野】
【0001】
本開示はケーブルに関する。
続きを表示(約 1,400 文字)
【背景技術】
【0002】
ケーブルとして、複数本の絶縁電線と、1本以上のドレンワイヤとを備えるものが知られている。このようなケーブルは、特許文献1に開示されている。このようなケーブルは、例えば、キャリヤ用、リール用等のケーブルである。
【先行技術文献】
【特許文献】
【0003】
特開平1-189812号公報
【発明の概要】
【発明が解決しようとする課題】
【0004】
特許文献1に開示されているケーブルは、キャリアドラム、リール、ガイドローラ等の設備と接触しながら送られる。ケーブルは、設備からしごきによるストレスを受ける。この場合、ドレンワイヤの導体に座屈や断線が発生し易い。
【0005】
本開示の1つの局面では、設備からしごきによるストレスを受けた場合でも、ドレンワイヤの導体に座屈や断線が発生することを抑制できるケーブルを提供することが好ましい。
【課題を解決するための手段】
【0006】
本開示の1つの局面は、複数本の絶縁電線と、1本以上のドレンワイヤと、前記複数本の絶縁電線を被覆する遮蔽層と、シースと、を備えるケーブルである。前記ケーブルの直交断面において、前記ドレンワイヤの導体は、前記複数本の絶縁電線の導体を全て収容するという条件の下で直径が最小である仮想円の内側に配置されている。
【0007】
本開示の1つの局面であるケーブルは、設備からしごきによるストレスを受けた場合でも、ドレンワイヤの導体に座屈や断線が発生することを抑制できる。
【図面の簡単な説明】
【0008】
第1実施形態のケーブルにおける直交断面を表す断面図である。
第1実施形態のケーブルにおける、直交断面での絶縁電線、ドレンワイヤ、及び仮想円を表す説明図である。
比較例のケーブルにおける、直交断面での絶縁電線、ドレンワイヤ、及び仮想円を表す説明図である。
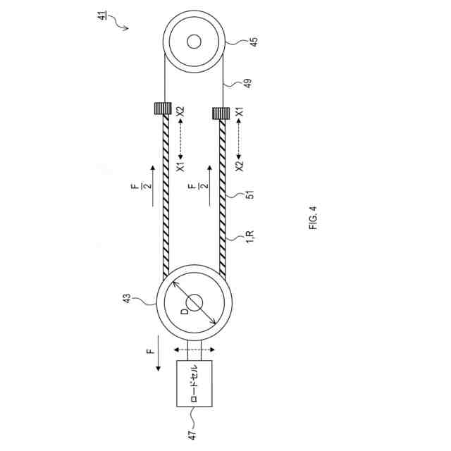
しごき試験に使用する試験装置と試験体との構成を表す説明図である。
実施例のケーブルについて、しごき回数とドレンワイヤの導体抵抗との関係を表すグラフである。
比較例のケーブルについて、しごき回数とドレンワイヤの導体抵抗との関係を表すグラフである。
しごき回数が10万回に達したとき、実施例のケーブルにおけるドレンワイヤを撮影した写真である。
しごき回数が10万回に達したとき、比較例のケーブルにおけるドレンワイヤを撮影した写真である。
【発明を実施するための形態】
【0009】
本開示の例示的な実施形態について図面を参照しながら説明する。
<第1実施形態>
1.ケーブル1の構成
ケーブル1の構成を、図1~図2に基づき説明する。ケーブル1は長尺の部材である。ケーブル1は、例えば、キャリヤ用、又はリール用のケーブルである。ケーブル1は、例えば、ドレンワイヤ複合丸形キャブタイヤケーブルである。
【0010】
図1に示すように、ケーブル1は、3本の絶縁電線3A、3B、3Cを備える。ケーブル1の長手方向に直交する断面(以下では直交断面とする)において、絶縁電線3A、3B、3Cは、それらの中心が三角形を成すように配置されている。三角形は正三角形であってもよいし、正三角形でなくてもよい。
(【0011】以降は省略されています)
この特許をJ-PlatPat(特許庁公式サイト)で参照する
関連特許
APB株式会社
蓄電セル
27日前
東ソー株式会社
絶縁電線
29日前
個人
フレキシブル電気化学素子
1か月前
ローム株式会社
半導体装置
28日前
日新イオン機器株式会社
イオン源
1か月前
マクセル株式会社
電源装置
21日前
株式会社東芝
端子台
21日前
株式会社ユーシン
操作装置
1か月前
株式会社ホロン
冷陰極電子源
1か月前
株式会社GSユアサ
蓄電装置
14日前
株式会社GSユアサ
蓄電装置
22日前
株式会社GSユアサ
蓄電装置
今日
太陽誘電株式会社
コイル部品
1か月前
富士電機株式会社
電磁接触器
今日
三菱電機株式会社
回路遮断器
8日前
オムロン株式会社
電磁継電器
1か月前
株式会社GSユアサ
蓄電装置
22日前
株式会社GSユアサ
蓄電設備
1か月前
株式会社GSユアサ
蓄電設備
1か月前
日新イオン機器株式会社
基板処理装置
24日前
トヨタ自動車株式会社
冷却構造
29日前
トヨタ自動車株式会社
蓄電装置
1か月前
ノリタケ株式会社
熱伝導シート
1か月前
北道電設株式会社
配電具カバー
27日前
トヨタ自動車株式会社
バッテリ
27日前
日本特殊陶業株式会社
保持装置
13日前
サクサ株式会社
電池の固定構造
1か月前
トヨタ自動車株式会社
蓄電装置
22日前
日本特殊陶業株式会社
保持装置
1か月前
トヨタ自動車株式会社
密閉型電池
23日前
甲神電機株式会社
変流器及び零相変流器
15日前
ベストテック株式会社
装置支持具
1か月前
住友電装株式会社
コネクタ
29日前
矢崎総業株式会社
コネクタ
今日
株式会社レゾナック
冷却器
8日前
トヨタ自動車株式会社
電池パック
1か月前
続きを見る
他の特許を見る