TOP
|
特許
|
意匠
|
商標
特許ウォッチ
Twitter
他の特許を見る
10個以上の画像は省略されています。
公開番号
2025171589
公報種別
公開特許公報(A)
公開日
2025-11-20
出願番号
2024077084
出願日
2024-05-10
発明の名称
光集積回路
出願人
浜松ホトニクス株式会社
代理人
個人
,
個人
,
個人
主分類
H01S
5/022 20210101AFI20251113BHJP(基本的電気素子)
要約
【課題】光導波路での光伝播特性の劣化を抑制することができる光集積回路を提供する。
【解決手段】光集積回路1は、基板31と、基板31上に配置されており、入力カプラ37及び光導波路38を含む光導波路層32と、光導波路層32上に配置された発光デバイス4と、Z軸方向から見た場合に入力カプラ37及び光導波路38と重ならないように、基板31と発光デバイス4との間に配置されており、少なくとも発光デバイス4と熱的に接続された導電部材8と、を備える。発光デバイス4は、発光層43及び位相変調層44を含む。位相変調層44は、基本層44a及び複数の異屈折率領域44bを含む。Z軸方向から見た場合に、発光層43は、入力カプラ37と重なっている。導電部材8の熱伝導率は、光導波路層32のうち発光デバイス4側に位置するクラッド層36の熱伝導率よりも高い。
【選択図】図2
特許請求の範囲
【請求項1】
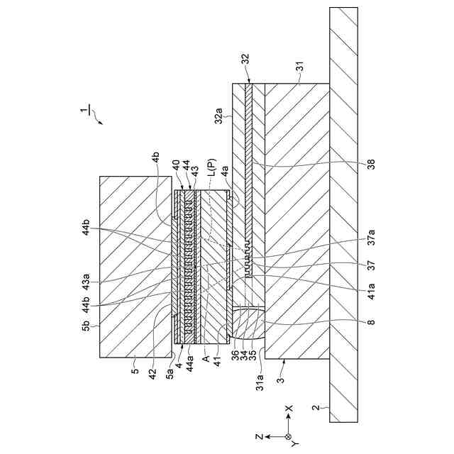
基板と、
前記基板の厚さ方向における一方の側において前記基板上に配置されており、入力カプラ、及び前記入力カプラと光学的に結合された光導波路を含む光導波路層と、
前記一方の側において前記光導波路層上に配置されており、前記光導波路層側の第1表面、及び前記光導波路層とは反対側の第2表面を有する発光デバイスと、
前記基板の前記厚さ方向から見た場合に前記入力カプラ及び前記光導波路と重ならないように、前記基板と前記発光デバイスとの間に配置されており、少なくとも前記発光デバイスと熱的に接続された第1排熱部材と、を備え、
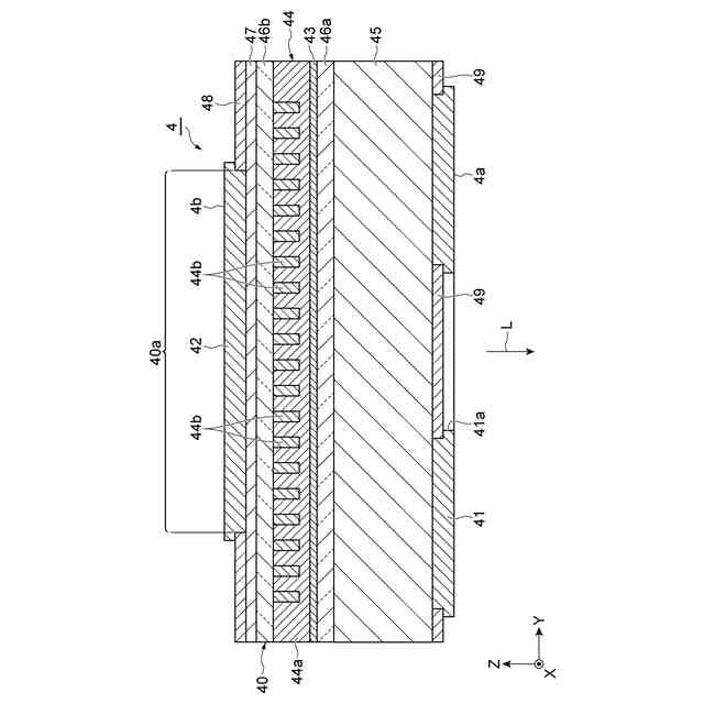
前記発光デバイスは、発光層、及び前記発光層と光学的に結合された位相変調層を含み、
前記位相変調層は、基本層、及び前記基本層とは屈折率が異なり且つ前記基本層の厚さ方向と交差する面内において二次元状に分布する複数の異屈折率領域を含み、
前記基板の前記厚さ方向から見た場合に、前記発光層は、前記入力カプラと重なっており、
前記第1排熱部材の熱伝導率は、前記光導波路層のうち前記発光デバイス側に位置するクラッド層の熱伝導率よりも高く、
前記第1排熱部材の少なくとも一部は、前記基板の前記厚さ方向において、前記光導波路層における前記発光デバイス側の表面よりも前記基板側に位置している、光集積回路。
続きを表示(約 770 文字)
【請求項2】
前記第1排熱部材は、前記基板及び前記発光デバイスのそれぞれと接続されている、請求項1に記載の光集積回路。
【請求項3】
前記発光層と前記第2表面との間の距離は、前記発光層と前記第1表面との間の距離よりも小さい、請求項1に記載の光集積回路。
【請求項4】
前記基板の前記厚さ方向における他方の側において前記基板上に配置された第2排熱部材を更に備える、請求項1に記載の光集積回路。
【請求項5】
前記位相変調層は、前記発光層と前記入力カプラとの間の光路に沿って進行する光の光軸を前記基板の前記厚さ方向に対して傾斜させるように構成されている、請求項1に記載の光集積回路。
【請求項6】
前記一方の側において前記発光デバイス上に配置されており、前記発光デバイス側の第3表面、及び前記発光デバイスとは反対側の第4表面を有する第3排熱部材を更に備える、請求項1に記載の光集積回路。
【請求項7】
前記発光デバイスは、前記第1表面側に配置された電極を含み、
前記電極は、前記発光層と前記入力カプラとの間の光路が通る開口を有する、請求項1に記載の光集積回路。
【請求項8】
前記基板の前記厚さ方向から見た場合に、前記開口の面積は、前記発光デバイスにおける電流注入領域の面積よりも小さい、請求項7に記載の光集積回路。
【請求項9】
前記クラッド層は、SiO
2
層である、請求項1に記載の光集積回路。
【請求項10】
前記基板の前記厚さ方向から見た場合に、前記発光層の中心は、前記入力カプラと重なっている、請求項1に記載の光集積回路。
(【請求項11】以降は省略されています)
発明の詳細な説明
【技術分野】
【0001】
本発明は、光集積回路に関する。
続きを表示(約 2,400 文字)
【背景技術】
【0002】
基板と、基板上に配置された光導波路層と、光導波路層上に配置された発光デバイスと、を備える光集積回路(PIC)が知られている。このような光集積回路では、光導波路層が、入力カプラ、及び入力カプラと光学的に結合された光導波路を含んでおり、発光デバイスから出射された光が、入力カプラによって光導波路層に結合されて、光導波路に沿って伝播する。
【0003】
発光デバイスと光導波路との間での光損失を抑制するために、非特許文献1に記載の光集積回路では、発光デバイスである垂直共振器型面発光レーザ(VCSEL)素子が、光導波路層に対して傾斜した状態で光導波路層上に配置されている。
【先行技術文献】
【非特許文献】
【0004】
Erik Haglund、他8名、“High-power singletransverse and polarization mode VCSEL for silicon photonics integration”、Vol. 27、No. 13、24Jun 2019、OPTICS EXPRESS、p.18892-18899
【発明の概要】
【発明が解決しようとする課題】
【0005】
しかしながら、非特許文献1に記載の光集積回路では、発光デバイスである垂直共振器型面発光レーザ素子の支持が不安定であるため、発光デバイスと光導波路との間での光損失が時間の経過とともに大きくなり、その結果、光導波路での光伝播特性が劣化するおそれがある。また、非特許文献1に記載の光集積回路では、発光デバイスである垂直共振器型面発光レーザ素子の排熱性が考慮されていないため、垂直共振器型面発光レーザ素子自体の光出力特性が劣化し、その結果、光導波路での光伝播特性が劣化するおそれがある。
【0006】
本発明は、光導波路での光伝播特性の劣化を抑制することができる光集積回路を提供することを目的とする。
【課題を解決するための手段】
【0007】
本発明の光集積回路は、[1]「基板と、前記基板の厚さ方向における一方の側において前記基板上に配置されており、入力カプラ、及び前記入力カプラと光学的に結合された光導波路を含む光導波路層と、前記一方の側において前記光導波路層上に配置されており、前記光導波路層側の第1表面、及び前記光導波路層とは反対側の第2表面を有する発光デバイスと、前記基板の前記厚さ方向から見た場合に前記入力カプラ及び前記光導波路と重ならないように、前記基板と前記発光デバイスとの間に配置されており、少なくとも前記発光デバイスと熱的に接続された第1排熱部材と、を備え、前記発光デバイスは、発光層、及び前記発光層と光学的に結合された位相変調層を含み、前記位相変調層は、基本層、及び前記基本層とは屈折率が異なり且つ前記基本層の厚さ方向と交差する面内において二次元状に分布する複数の異屈折率領域を含み、前記基板の前記厚さ方向から見た場合に、前記発光層は、前記入力カプラと重なっており、前記第1排熱部材の熱伝導率は、前記光導波路層のうち前記発光デバイス側に位置するクラッド層の熱伝導率よりも高く、前記第1排熱部材の少なくとも一部は、前記基板の前記厚さ方向において、前記光導波路層における前記発光デバイス側の表面よりも前記基板側に位置している、光集積回路」である。
[1]に記載の光集積回路では、発光層、及び発光層と光学的に結合された位相変調層を含む発光デバイスが用いられているため、例えば、発光デバイスが光導波路層に対して傾斜した構成を採用しなくても、発光デバイスから出射された光を所望の角度で入力カプラに入射させることができ、発光デバイスと光導波路との間での光損失を抑制することができる。また、基板の厚さ方向から見た場合に入力カプラ及び光導波路と重ならないように、基板と発光デバイスとの間に第1排熱部材が配置されており、第1排熱部材が少なくとも発光デバイスと熱的に接続されているため、光導波路層のうち発光デバイス側に位置するクラッド層の熱伝導率が低くても、発光デバイスにおいて発生した熱を、第1排熱部材に逃がすことができ、発光デバイス自体の光出力特性が劣化するのを抑制することができる。よって、[1]に記載の光集積回路によれば、光導波路での光伝播特性の劣化を抑制することができる。
【0008】
本発明の光集積回路は、[2]「前記第1排熱部材は、前記基板及び前記発光デバイスのそれぞれと接続されている、[1]に記載の光集積回路」であってもよい。[2]に記載の光集積回路によれば、発光デバイスにおいて発生した熱を、第1排熱部材を介して基板に効率良く逃がすことができる。
【0009】
本発明の光集積回路は、[3]「前記発光層と前記第2表面との間の距離は、前記発光層と前記第1表面との間の距離よりも小さい、[1]又は[2]に記載の光集積回路」であってもよい。[3]に記載の光集積回路によれば、熱の発生源となる発光層が光導波路層から遠くなるため、光導波路層が熱による影響を受けるのを抑制することができる。また、発光層と第1排熱部材との間の熱の伝播経路が緩やかになるため、発光層において発生した熱を第1排熱部材に効率良く逃がすことができる。
【0010】
本発明の光集積回路は、[4]「前記基板の前記厚さ方向における他方の側において前記基板上に配置された第2排熱部材を更に備える、[1]~[3]のいずれか一つに記載の光集積回路」であってもよい。[4]に記載の光集積回路によれば、発光デバイスにおいて発生した熱を、第1排熱部材及び基板を介して第2排熱部材に効率良く逃がすことができる。
(【0011】以降は省略されています)
この特許をJ-PlatPat(特許庁公式サイト)で参照する
関連特許
浜松ホトニクス株式会社
光集積回路
1日前
浜松ホトニクス株式会社
光集積回路
1日前
浜松ホトニクス株式会社
光集積回路
1日前
浜松ホトニクス株式会社
半導体レーザ
1日前
浜松ホトニクス株式会社
干渉計測装置
2日前
浜松ホトニクス株式会社
レーザモジュール
7日前
浜松ホトニクス株式会社
信号伝達回路及び信号伝達回路の製造方法
14日前
東ソー株式会社
絶縁電線
1か月前
APB株式会社
蓄電セル
28日前
株式会社東芝
端子台
22日前
ローム株式会社
半導体装置
29日前
マクセル株式会社
電源装置
22日前
日新イオン機器株式会社
イオン源
1か月前
株式会社GSユアサ
蓄電装置
23日前
株式会社ホロン
冷陰極電子源
1か月前
三菱電機株式会社
回路遮断器
9日前
株式会社GSユアサ
蓄電装置
1日前
株式会社GSユアサ
蓄電装置
23日前
富士電機株式会社
電磁接触器
1日前
株式会社GSユアサ
蓄電装置
15日前
トヨタ自動車株式会社
蓄電装置
23日前
トヨタ自動車株式会社
バッテリ
28日前
日新イオン機器株式会社
基板処理装置
25日前
日本特殊陶業株式会社
保持装置
1か月前
北道電設株式会社
配電具カバー
28日前
トヨタ自動車株式会社
冷却構造
1か月前
日本特殊陶業株式会社
保持装置
14日前
日亜化学工業株式会社
半導体レーザ素子
25日前
ヒロセ電機株式会社
電気コネクタ
1日前
住友電装株式会社
コネクタ
1日前
トヨタ自動車株式会社
電池パック
1か月前
甲神電機株式会社
変流器及び零相変流器
16日前
矢崎総業株式会社
コネクタ
1日前
ローム株式会社
半導体モジュール
2日前
株式会社トクヤマ
シリコンエッチング液
1か月前
トヨタ自動車株式会社
電池パック
1か月前
続きを見る
他の特許を見る