TOP
|
特許
|
意匠
|
商標
特許ウォッチ
Twitter
他の特許を見る
10個以上の画像は省略されています。
公開番号
2025168357
公報種別
公開特許公報(A)
公開日
2025-11-07
出願番号
2025130622,2021189281
出願日
2025-08-05,2021-11-22
発明の名称
信号伝達回路及び信号伝達回路の製造方法
出願人
浜松ホトニクス株式会社
代理人
個人
,
個人
,
個人
,
個人
主分類
H04N
25/70 20230101AFI20251030BHJP(電気通信技術)
要約
【課題】同一の回路パターンを有する複数の回路領域を横断するクロックツリーを形成することを可能にするクロック伝達回路を提供する。
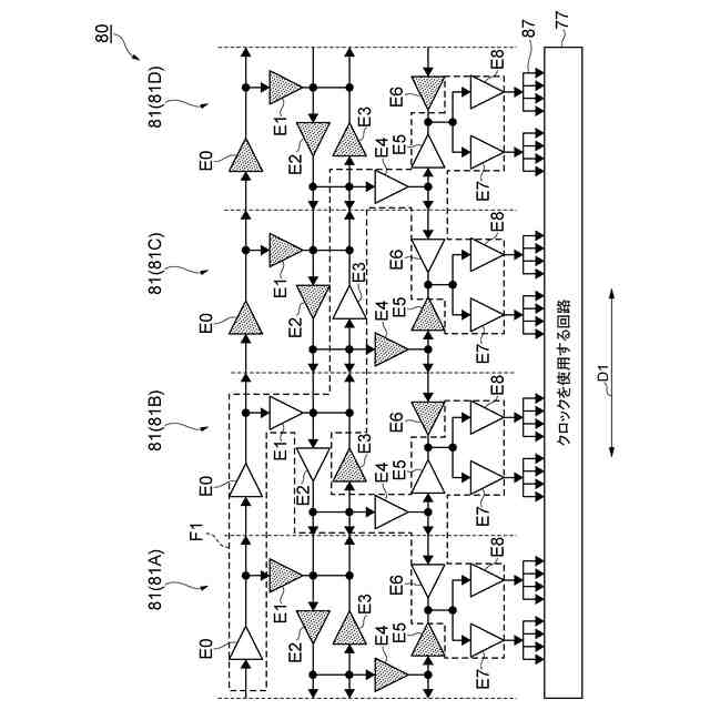
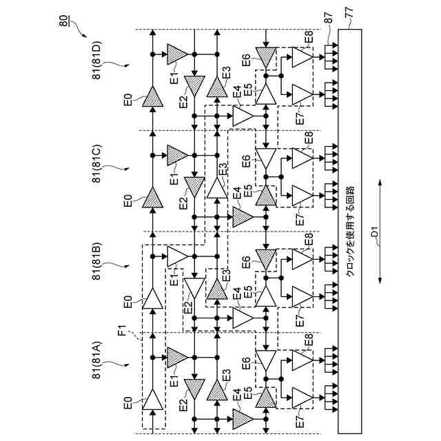
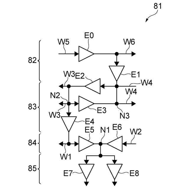
【解決手段】クロック伝達回路80は、互いに共通の回路パターンを有し方向D1に沿って並ぶ複数の回路領域81を備える。複数の回路領域81それぞれの回路パターンは、高インピーダンス状態および通過状態を切り替え可能な回路要素E0~E6と、隣接する回路領域81の回路パターンに接続される配線と、を有する。複数の回路領域81の回路要素E0~E6の状態が、回路領域81毎に定められる所定の状態に制御されることにより、複数の回路領域81を横断するクロックツリーが構成される。
【選択図】図6
特許請求の範囲
【請求項1】
単一の基板上に設けられた信号伝達回路であって、
互いに共通の回路パターンを有し一方向に並ぶ複数の回路領域を備え、
前記複数の回路領域それぞれの前記回路パターンは、
高インピーダンス状態および通過状態を切り替え可能である第1の回路要素、第2の回路要素及び第3の回路要素と、
前記第1の回路要素の出力端を、前記第2の回路要素の入力端と、前記第3の回路要素の入力端とに接続する第1の配線部分と、
前記第1の回路要素の入力端を、前記第2の回路要素の出力端と、一方側に隣接する前記回路領域の前記第1の配線部分とに接続するための第2の配線部分と、
を含む、信号伝達回路。
続きを表示(約 810 文字)
【請求項2】
前記複数の回路領域それぞれの前記回路パターンは、
高インピーダンス状態および通過状態を切り替え可能である第4の回路要素及び第5の回路要素と、
前記第4の回路要素の入力端を、前記第3の回路要素の出力端に接続する第3の配線部分と、
前記第4の回路要素の出力端を、前記第5の回路要素の出力端に接続する第4の配線部分と、
前記第5の回路要素の入力端を、前記一方側に隣接する前記回路領域の前記第3の配線部分に接続するための第5の配線部分と、
を更に含む、請求項1に記載の信号伝達回路。
【請求項3】
前記複数の回路領域それぞれの前記回路パターンは、
高インピーダンス状態および通過状態を切り替え可能である第6の回路要素及び第7の回路要素を更に含み、
前記第6の回路要素及び前記第7の回路要素それぞれの入力端は前記第4の配線部分に接続される、請求項2に記載の信号伝達回路。
【請求項4】
前記複数の回路領域それぞれの前記回路パターンは、
高インピーダンス状態および通過状態を切り替え可能である第8の回路要素及び第9の回路要素と、
前記第8の回路要素の入力端に接続される第7の配線部分と、
前記第8の回路要素の出力端を、前記第9の回路要素の入力端と、前記一方側に隣接する前記回路領域の前記第7の配線部分とに接続するための第8の配線部分と、
を更に含み、
前記第9の回路要素の出力端は前記第2の配線部分に接続される、請求項1~3のいずれか1項に記載の信号伝達回路。
【請求項5】
請求項1~4のいずれか1項に記載の信号伝達回路を製造する方法であって、
共通の露光パターンを用いて継ぎ露光を行うことにより、前記複数の回路領域を形成する工程を含む、信号伝達回路の製造方法。
発明の詳細な説明
【技術分野】
【0001】
本発明は、クロック伝達回路、撮像素子、及びクロック伝達回路の製造方法に関する。
続きを表示(約 1,800 文字)
【背景技術】
【0002】
特許文献1には、構造化遅延スキューを用いたバッファリング技術が開示されている。この特許文献1には、ツリー構造ルーティング方式が記載されている。特許文献2には、レチクルに形成されたパターンの投影像の一部を重ね継ぎ露光しながら所望のパターンを基板に形成する露光装置に関する技術が開示されている。特許文献3には、大型ディスプレイ装置の表示デバイスを製造する際に継ぎ露光を行うことが記載されている。
【先行技術文献】
【特許文献】
【0003】
特開2007-060036号公報
特開2001-110708号公報
特開2001-154371号公報
【発明の概要】
【発明が解決しようとする課題】
【0004】
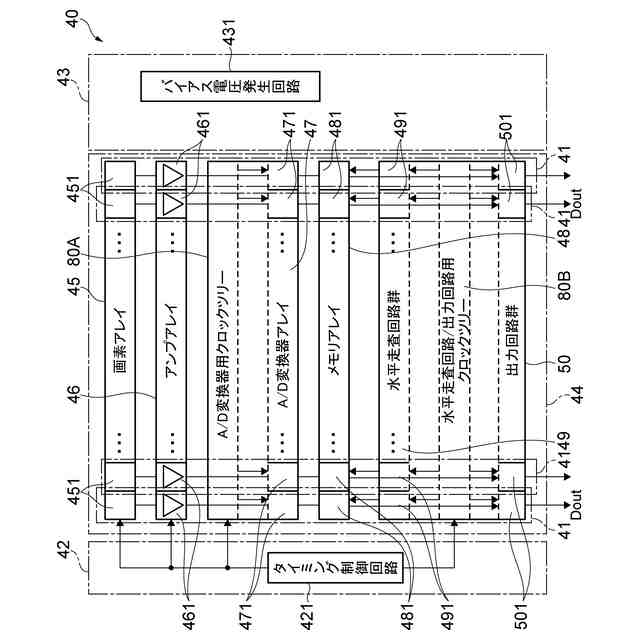
半導体素子の内部においてクロック信号を伝搬する際には、クロック配線の長さ及び負荷に応じてクロック信号に遅延が生じる。そこで、多数の回路にクロック信号を同一のタイミングで入力したい場合には、クロックツリーが用いられる。クロックツリーにおいては、クロック供給先である回路群の中心位置に関して左右対称にクロック信号の分岐を繰り返すことが望ましい。
【0005】
一方、大面積の半導体素子を製造する際のフォトグラフィ工程において、共通の露光パターンを有する複数のショットを繋いで1つの素子とすることがある。この技術は継ぎ露光と呼ばれる。継ぎ露光によって半導体素子を製造する場合、同一の回路パターンを有する回路領域が複数並ぶので、各回路領域内においてクロックツリーを形成することは容易だが、複数の回路領域を横断するクロックツリーを形成することは困難である。したがって、複数の回路領域間においてクロック信号に遅延が生じるという問題がある。
【0006】
本開示は、同一の回路パターンを有する複数の回路領域を横断するクロックツリーを形成することを可能にするクロック伝達回路、及びクロック伝達回路の製造方法を提供することを目的とする。また、本開示は、クロック信号の遅延の少ない撮像素子を提供することを目的とする。
【課題を解決するための手段】
【0007】
本開示によるクロック伝達回路は、単一の基板上に設けられたクロックツリーを含むクロック伝達回路である。このクロック伝達回路は、互いに共通の回路パターンを有し一方向に並ぶ複数の回路領域を備える。複数の回路領域それぞれの回路パターンは、高インピーダンス状態および通過状態を切り替え可能な少なくとも二つの回路要素と、隣接する回路領域の回路パターンに接続される配線と、を有する。複数の回路領域の上記少なくとも二つの回路要素の状態が、回路領域毎に定められる所定の状態に制御されることにより、複数の回路領域を横断するクロックツリーの少なくとも一部が構成される。
【0008】
本開示によるクロック伝達回路の製造方法は、単一の基板上に設けられたクロックツリーを含むクロック伝達回路を製造する方法である。この製造方法は、共通の露光パターンを用いて継ぎ露光を行うことにより、互いに共通の回路パターンを有し一方向に並ぶ複数の回路領域を形成する工程を含む。複数の回路領域それぞれの回路パターンは、高インピーダンス状態および通過状態を切り替え可能な少なくとも二つの回路要素と、隣接する回路領域の回路パターンに接続される配線と、を有する。複数の回路領域の上記少なくとも二つの回路要素の状態が、回路領域毎に定められる所定の状態に制御されることにより、複数の回路領域を横断するクロックツリーの少なくとも一部が構成される。
【0009】
これらのクロック伝達回路及びクロック伝達回路の製造方法によれば、同一の回路パターンを有する複数の回路領域を横断するクロックツリーを形成することができる。故に、複数の回路領域間におけるクロック信号の遅延を低減できる。
【0010】
上記のクロック伝達回路において、回路パターンは、クロックツリーの複数段の分岐をそれぞれ担うように構成された複数段の回路部分を含んでもよい。この場合、各段の回路部分によって、クロックツリーの各段の分岐を好適に実現することができる。
(【0011】以降は省略されています)
この特許をJ-PlatPat(特許庁公式サイト)で参照する
関連特許
浜松ホトニクス株式会社
分光装置
3日前
浜松ホトニクス株式会社
分光計測システム
1か月前
浜松ホトニクス株式会社
分光器及び分光計測システム
1か月前
浜松ホトニクス株式会社
波長可変光源及び波長可変方法
1か月前
浜松ホトニクス株式会社
放射線検出器及び放射線検出装置
18日前
浜松ホトニクス株式会社
血糖値測定装置及び血糖値測定方法
17日前
浜松ホトニクス株式会社
血糖値測定装置及び血糖値測定方法
17日前
浜松ホトニクス株式会社
レーザ加工装置及びレーザ加工方法
19日前
浜松ホトニクス株式会社
波長変換光学系及びパルス光生成装置
1か月前
浜松ホトニクス株式会社
スライド保持ユニット及び画像取得装置
27日前
浜松ホトニクス株式会社
パルス光生成装置及びパルス光生成方法
1か月前
浜松ホトニクス株式会社
マイクロ流体デバイスおよび流速推定方法
4日前
浜松ホトニクス株式会社
チップの製造方法
19日前
浜松ホトニクス株式会社
信号伝達回路及び信号伝達回路の製造方法
3日前
個人
イヤーピース
3日前
個人
イヤーマフ
17日前
個人
監視カメラシステム
26日前
個人
店内配信予約システム
3か月前
個人
スイッチシステム
11日前
キーコム株式会社
光伝送線路
27日前
個人
スキャン式車載用撮像装置
26日前
WHISMR合同会社
収音装置
2か月前
サクサ株式会社
中継装置
1か月前
サクサ株式会社
中継装置
1か月前
サクサ株式会社
中継装置
4か月前
キヤノン株式会社
撮像装置
2か月前
キヤノン株式会社
電子機器
3か月前
アイホン株式会社
電気機器
1か月前
サクサ株式会社
無線システム
1か月前
キヤノン電子株式会社
モバイル装置
4か月前
株式会社リコー
画像形成装置
3か月前
個人
ワイヤレスイヤホン対応耳掛け
1か月前
キヤノン電子株式会社
画像読取装置
11日前
キヤノン電子株式会社
画像読取装置
25日前
株式会社リコー
画像形成装置
2か月前
キヤノン電子株式会社
画像読取装置
2か月前
続きを見る
他の特許を見る