TOP
|
特許
|
意匠
|
商標
特許ウォッチ
Twitter
他の特許を見る
公開番号
2025148936
公報種別
公開特許公報(A)
公開日
2025-10-08
出願番号
2024049309
出願日
2024-03-26
発明の名称
分光器及び分光計測システム
出願人
浜松ホトニクス株式会社
代理人
個人
,
個人
,
個人
,
個人
主分類
G01J
3/24 20060101AFI20251001BHJP(測定;試験)
要約
【課題】広い波長域の光を十分な回折効率で分光して検出することができる分光器及び分光計測システムを提供する。
【解決手段】分光器4は、分光部23と、分光部23により分光された光P2を、第1波長域の第1光L1と、第1波長域よりも短い第2波長域の第2光L2とに分離させる光分離部25と、光分離部25により分離された第1光L1に含まれるN次回折光を検出すると共に、光分離部25により分離された第2光L2に含まれるM次回折光を検出する光検出部27と、を備える。ここで、N,Mは、Nの絶対値がMの絶対値よりも小さい0以外の整数である。
【選択図】図3
特許請求の範囲
【請求項1】
分光部と、
前記分光部により分光された光を、第1波長域の第1光と、前記第1波長域よりも短い第2波長域の第2光とに分離させる光分離部と、
前記光分離部により分離された前記第1光に含まれるN次回折光を検出すると共に、前記光分離部により分離された前記第2光に含まれるM次回折光を検出する光検出部と、を備え、ここで、N,Mは、Nの絶対値がMの絶対値よりも小さい0以外の整数である、分光器。
続きを表示(約 890 文字)
【請求項2】
前記光検出部は、前記N次回折光を検出する第1光検出器と、前記M次回折光を検出する第2光検出器と、を有する、請求項1に記載の分光器。
【請求項3】
前記第1光検出器及び前記第2光検出器は、互いに実質的に異なる感度波長域を有する二つの検出器によって構成されている、請求項2に記載の分光器。
【請求項4】
前記第1光検出器及び前記第2光検出器は、互いに実質的に同じ感度波長域を有する二つの検出器によって構成されている、請求項2に記載の分光器。
【請求項5】
前記光分離部と前記光検出部との間に配置され、前記第1光に含まれる前記N次回折光以外の回折光、及び前記第2光に含まれる前記M次回折光以外の回折光の少なくとも一方を減衰させるフィルタを更に備える、請求項1~4のいずれか一項に記載の分光器。
【請求項6】
前記光分離部は、前記第1光及び前記第2光の一方を透過させ、前記第1光及び前記第2光の他方を反射させるダイクロイック面を有する、請求項1~4のいずれか一項に記載の分光器。
【請求項7】
前記光分離部は、前記ダイクロイック面を含むプリズムを有し、
前記光検出部は、前記プリズムと直接的又は間接的に固定されている、請求項6に記載の分光器。
【請求項8】
前記光検出部は、前記第2光に含まれる前記M次回折光に加えて、前記第2光に含まれるN次回折光を検出する、請求項1~4のいずれか一項に記載の分光器。
【請求項9】
前記光検出部は、前記第2波長域における第1部分については前記第2光に含まれる前記N次回折光を検出し、前記第2波長域における第2部分については前記第2光に含まれる前記M次回折光を検出する、請求項8に記載の分光器。
【請求項10】
前記第1部分における前記分光部のN次回折光の回折効率は、前記第1部分における前記分光部のM次回折光の回折効率よりも高い、請求項9に記載の分光器。
(【請求項11】以降は省略されています)
発明の詳細な説明
【技術分野】
【0001】
本発明は、分光器及び分光計測システムに関する。
続きを表示(約 1,400 文字)
【背景技術】
【0002】
特許文献1,2には、入射した光を回折格子により分光し、分光された光を光検出部により検出する分光装置が記載されている。
【先行技術文献】
【特許文献】
【0003】
特開昭57-111422号公報
特開平8-254464号公報
【発明の概要】
【発明が解決しようとする課題】
【0004】
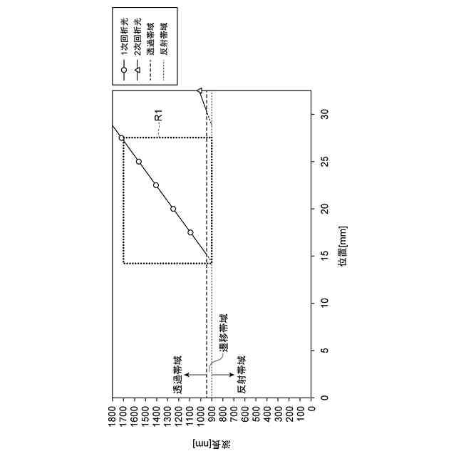
上述したような分光装置には、検出可能な波長域を広くすることが求められる場合がある。しかしながら、回折格子を広い波長域の光を回折可能とすることは難しく、また、仮に広い波長域の光を回折可能な回折格子を実現できたとしても、回折効率が低くなってしまうおそれがある。
【0005】
そこで、本発明は、広い波長域の光を十分な回折効率で分光して検出することができる分光器及び分光計測システムを提供することを目的とする。
【課題を解決するための手段】
【0006】
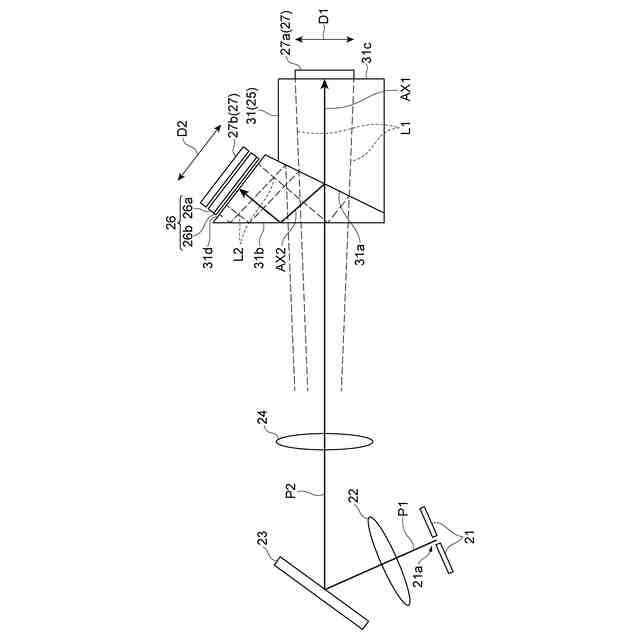
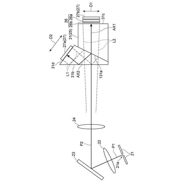
本発明の分光器は、[1]「分光部と、前記分光部により分光された光を、第1波長域の第1光と、前記第1波長域よりも短い第2波長域の第2光とに分離させる光分離部と、前記光分離部により分離された前記第1光に含まれるN次回折光を検出すると共に、前記光分離部により分離された前記第2光に含まれるM次回折光を検出する光検出部と、を備え、ここで、N,Mは、Nの絶対値がMの絶対値よりも小さい0以外の整数である、分光器」である。
【0007】
この分光器では、光分離部が、分光部により分光された光を、第1波長域の第1光と第2波長域の第2光とに分離させる。そして、第1光に含まれるN次回折光、及び第2光に含まれるM次回折光が光検出部により検出される。これにより、回折効率が比較的高い第1光に含まれるN次回折光と第2光に含まれるM次回折光とを光検出部において検出することができ、その結果、広い波長域の光を十分な回折効率で分光して検出することが可能となる。
【0008】
本発明の分光器は、[2]「前記光検出部は、前記N次回折光を検出する第1光検出器と、前記M次回折光を検出する第2光検出器と、を有する、[1]に記載の分光器」であってもよい。この場合、第1光に含まれるN次回折光と第2光に含まれるM次回折光とを光検出部において好適に検出することができる。
【0009】
本発明の分光器は、[3]「前記第1光検出器及び前記第2光検出器は、互いに実質的に異なる感度波長域を有する二つの検出器によって構成されている、[2]に記載の分光器」であってもよい。この場合、例えば、第1光に含まれるN次回折光の検出に適した感度波長域を有する第1光検出器によって当該N次回折光を検出すると共に、第2光に含まれるM次回折光の検出に適した感度波長域を有する第2光検出器によって当該M次回折光を検出することができる。
【0010】
本発明の分光器は、[4]「前記第1光検出器及び前記第2光検出器は、互いに実質的に同じ感度波長域を有する二つの検出器によって構成されている、[2]に記載の分光器」であってもよい。この場合、第1光検出器及び第2光検出器を例えば同じ検出器によって構成することができる。
(【0011】以降は省略されています)
この特許をJ-PlatPat(特許庁公式サイト)で参照する
関連特許
浜松ホトニクス株式会社
分光装置
3日前
浜松ホトニクス株式会社
放射線検出器及び放射線検出装置
18日前
浜松ホトニクス株式会社
血糖値測定装置及び血糖値測定方法
17日前
浜松ホトニクス株式会社
血糖値測定装置及び血糖値測定方法
17日前
浜松ホトニクス株式会社
マイクロ流体デバイスおよび流速推定方法
4日前
浜松ホトニクス株式会社
信号伝達回路及び信号伝達回路の製造方法
3日前
個人
メジャー文具
1か月前
個人
採尿及び採便具
11日前
日本精機株式会社
検出装置
5日前
個人
アクセサリー型テスター
27日前
個人
計量機能付き容器
今日
個人
高精度同時多点測定装置
26日前
甲神電機株式会社
電流検出装置
5日前
ユニパルス株式会社
ロードセル
1か月前
株式会社ミツトヨ
測定器
17日前
アズビル株式会社
電磁流量計
20日前
大成建設株式会社
風洞実験装置
今日
株式会社チノー
放射光測温装置
1か月前
株式会社ヨコオ
ソケット
1か月前
トヨタ自動車株式会社
監視装置
1か月前
株式会社ヨコオ
ソケット
1か月前
ダイキン工業株式会社
監視装置
1か月前
長崎県
形状計測方法
27日前
TDK株式会社
ガスセンサ
1か月前
大和製衡株式会社
組合せ計量装置
14日前
個人
非接触による電磁パルスの測定方法
3日前
TDK株式会社
磁気センサ
1か月前
大和製衡株式会社
組合せ計量装置
14日前
双庸電子株式会社
誤配線検査装置
6日前
日本信号株式会社
距離画像センサ
3日前
愛知電機株式会社
軸部材の外観検査装置
14日前
個人
計量具及び計量機能付き容器
今日
ローム株式会社
半導体装置
25日前
ローム株式会社
半導体装置
25日前
個人
システム、装置及び実験方法
20日前
TDK株式会社
ガスセンサ
1か月前
続きを見る
他の特許を見る