TOP
|
特許
|
意匠
|
商標
特許ウォッチ
Twitter
他の特許を見る
公開番号
2025166650
公報種別
公開特許公報(A)
公開日
2025-11-06
出願番号
2024070821
出願日
2024-04-24
発明の名称
マイクロ流体デバイスおよび流速推定方法
出願人
浜松ホトニクス株式会社
代理人
個人
,
個人
,
個人
,
個人
主分類
C12M
1/00 20060101AFI20251029BHJP(生化学;ビール;酒精;ぶどう酒;酢;微生物学;酵素学;突然変異または遺伝子工学)
要約
【課題】極めて狭い流路内の培養液の流速を容易に計測することが可能なマイクロ流体デバイスを提供する。
【解決手段】マイクロ流体デバイスにおいて、流路は、第1容器と連結され、培養液が流れるとともに培養液中に生体試料が配置される。制御部は、流路内の培養液を移動させて、第1容器内の培養液の液量を変化させる。第1光源は、培養液の液面を通過する第1の光を照射する。第1光検出部は、第1タイミングにおいて第1容器内の培養液を通過した第1の光の強度である第1光強度、および第2タイミングにおいて第1容器内の培養液を通過した第1の光の強度である第2光強度を検出する。演算部は、第1タイミングにおける培養液内での第1の光の光路長と、第2タイミングにおける培養液内での第1の光の光路長との間の時間変化量を、第1光強度に基づいて得られる培養液の光学濃度、および第2光強度に基づいて得られる培養液の光学濃度に基づいて推定する。
【選択図】図1
特許請求の範囲
【請求項1】
培養液を収容する第1容器と、
一端が前記第1容器と連結され、前記培養液が流れるとともに前記培養液中に生体試料が配置される流路と、
前記流路内の前記培養液を移動させて、前記第1容器内の前記培養液の液量を変化させる制御部と、
前記第1容器内の前記培養液に対し、前記培養液の液面を通過する第1の光を照射する第1光源と、
第1タイミングにおいて前記第1容器内の前記培養液を通過した前記第1の光の強度である第1光強度、および前記第1タイミングとは異なる第2タイミングにおいて前記第1容器内の前記培養液を通過した前記第1の光の強度である第2光強度を検出する第1光検出部と、
前記第1タイミングにおける前記第1容器の前記培養液内での前記第1の光の光路長である第1光路長と、前記第2タイミングにおける前記第1容器の前記培養液内での前記第1の光の光路長である第2光路長との間の時間変化量を、前記第1光強度に基づいて得られる前記第1容器内の前記培養液の光学濃度、および前記第2光強度に基づいて得られる前記第1容器内の前記培養液の光学濃度に基づいて推定し、前記時間変化量に基づいて、前記流路における前記培養液の流速を推定する演算部と、
を備える、マイクロ流体デバイス。
続きを表示(約 1,100 文字)
【請求項2】
前記培養液を収容し、前記流路の他端に連結された第2容器を更に備え、
前記制御部は、前記流路を通じて、前記第1容器と前記第2容器との間において前記培養液を移動させる、請求項1に記載のマイクロ流体デバイス。
【請求項3】
前記第2容器内の前記培養液に対し、前記培養液の液面を通過する第2の光を照射する第2光源と、
前記第1タイミングにおいて前記第2容器内の前記培養液を通過した前記第2の光の強度である第3光強度、および前記第2タイミングにおいて前記第2容器内の前記培養液を通過した前記第2の光の強度である第4光強度を検出する第2光検出部と、
を更に備え、
前記演算部は、前記時間変化量を、前記第3光強度に基づいて得られる前記第2容器内の前記培養液の光学濃度、および前記第4光強度に基づいて得られる前記第2容器内の前記培養液の光学濃度に更に基づいて推定する、請求項2に記載のマイクロ流体デバイス。
【請求項4】
前記演算部は、前記時間変化量を、前記第1容器の前記培養液内での前記第1の光の光路長と、前記第2容器の前記培養液内での前記第2の光の光路長との合計長さに更に基づいて推定する、請求項3に記載のマイクロ流体デバイス。
【請求項5】
前記演算部は、前記合計長さを、前記第1容器、前記第2容器、及び前記流路に収容された前記培養液の総液量に基づいて算出する、請求項4に記載のマイクロ流体デバイス。
【請求項6】
前記第1光源の光軸は、前記第1容器内の前記培養液の液面に対して傾斜している、請求項1~5のいずれか1項に記載のマイクロ流体デバイス。
【請求項7】
前記第1容器を搭載する搭載部、および前記第1容器の上部の開口を閉じる蓋部を更に備え、
前記第1光源は前記搭載部に配置され、
前記第1光検出部は前記蓋部に配置される、請求項1~5のいずれか1項に記載のマイクロ流体デバイス。
【請求項8】
前記第1の光の波長は近赤外域に含まれる、請求項1~5のいずれか1項に記載のマイクロ流体デバイス。
【請求項9】
前記第1光検出部は有機フォトダイオードを含む、請求項1~5のいずれか1項に記載のマイクロ流体デバイス。
【請求項10】
前記制御部は、前記第1容器、前記第2容器および前記流路を傾けるアクチュエータを有する、請求項2~5のいずれか1項に記載のマイクロ流体デバイス。
(【請求項11】以降は省略されています)
発明の詳細な説明
【技術分野】
【0001】
本開示は、マイクロ流体デバイスおよび流速推定方法に関する。
続きを表示(約 2,600 文字)
【背景技術】
【0002】
非特許文献1~4には、生体模倣システム(Microphysiological System:MPS)が開示されている。
【先行技術文献】
【非特許文献】
【0003】
Van Duinen, V. et al., "Perfused 3D angiogenic sprouting in ahigh -throughput in vitro platform", Angiogenesis, Vol.22, pp.157-165 (2019)
Shinohara Marie et al., "Coculture with hiPS-derived intestinalcells enhanced human hepatocyte functions in a pneumatic-pressure-driventwo-organ microphysiological system", Scientific reports, 11.1, 5437(2021)
【発明の概要】
【発明が解決しようとする課題】
【0004】
近年、細胞の培養または薬剤の試験などにおいて、MPSが用いられつつある。MPSの代表的な構成例では、培養液を収容する2つの容器をマイクロ流路により連結する。マイクロ流路内には、培養対象または試験対象である細胞が配置される。一方の容器からマイクロ流路を通じて他方の容器へ培養液を一定速度で移動させることによって、培養液の一定の流れの中に細胞を置くことができる。
【0005】
培養液を移動させる方法としては、例えばポンプを用いる方法、容器及びマイクロ流路を傾ける方法などがある。いずれの方法においても、培養液を所望の流速で流し続けることが必要である。何らかの要因によりマイクロ流路に詰まりなどが生じ、培養液を所望の流速で流すことができなくなるおそれもあることから、培養液の流速を継続的にモニタリングすることが望ましい。しかしながら、MPSのマイクロ流路は、その幅が例えば1mm以下と極めて狭いので、従来の流速測定方式では培養液の流速を計測することが難しい。
【0006】
本開示は、極めて狭い流路内の培養液の流速を容易に計測することが可能なマイクロ流体デバイスおよび流速推定方法を提供することを目的とする。
【課題を解決するための手段】
【0007】
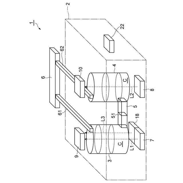
[1]本開示の一実施形態によるマイクロ流体デバイスは、第1容器、流路、制御部、第1光源、第1光検出部、および演算部を備える。第1容器は、培養液を収容する。流路は、一端が第1容器と連結され、培養液が流れるとともに培養液中に生体試料が配置される。制御部は、流路内の培養液を移動させて、第1容器内の培養液の液量を変化させる。第1光源は、第1容器内の培養液に対し、培養液の液面を通過する第1の光を照射する。第1光検出部は、第1タイミングにおいて第1容器内の培養液を通過した第1の光の強度である第1光強度、および第1タイミングとは異なる第2タイミングにおいて第1容器内の培養液を通過した第1の光の強度である第2光強度を検出する。演算部は、第1タイミングにおける第1容器の培養液内での第1の光の光路長である第1光路長と、第2タイミングにおける第1容器の培養液内での第1の光の光路長である第2光路長との間の時間変化量を、第1光強度に基づいて得られる第1容器内の培養液の光学濃度、および第2光強度に基づいて得られる第1容器内の培養液の光学濃度に基づいて推定する。演算部は、その時間変化量に基づいて、流路における培養液の流速を推定する。
【0008】
上記[1]のマイクロ流体デバイスでは、演算部が、培養液の液面を通過する第1の光の培養液内での光路長の時間変化量、すなわち液面位置の時間変化量に基づいて、流路における培養液の流速を推定する。培養液内での光路長は、第1光検出部に入射する第1の光の光強度に基づいて得られる、培養液の光学濃度に基づいて推定され得る。このマイクロ流体デバイスによれば、極めて狭い流路内に流速を計測するための装置を設置する必要がないので、極めて狭い流路内の培養液の流速を、容易に計測することができる。なお、培養液の液量が過大であると、第1の光が培養液中を通過する距離が長くなり、第1の光の減衰が大きくなり過ぎて培養液の流速を精度良く推定できない。このマイクロ流体デバイスは、培養液の液量が比較的少ない、例えばマイクロ流路といった極めて狭い流路を有する場合に、その流路内の流速を計測するのに好適な装置である。
[2]上記[1]のマイクロ流体デバイスは、培養液を収容し、流路の他端に連結された第2容器を更に備えてもよい。制御部は、流路を通じて、第1容器と第2容器との間において培養液を移動させてもよい。これにより、第1容器と第2容器との間で培養液を還流させることができ、培養液の消費量を低減させることができる。
【0009】
[3]上記[2]のマイクロ流体デバイスは、第2光源および第2光検出部を更に備えてもよい。第2光源は、第2容器内の培養液に対し、培養液の液面を通過する第2の光を照射する。第2光検出部は、第1タイミングにおいて第2容器内の培養液を通過した第2の光の強度である第3光強度、および第2タイミングにおいて第2容器内の培養液を通過した第2の光の強度である第4光強度を検出する。演算部は、上記時間変化量を、第3光強度に基づいて得られる第2容器内の培養液の光学濃度、および第4光強度に基づいて得られる第2容器内の培養液の光学濃度に更に基づいて推定してもよい。この場合、培養液の吸光係数が未知であっても、第1容器の培養液内での第1の光の光路長と、第2容器の培養液内での第2の光の光路長との合計長さが既知であれば、光路長の時間変化量を推定することができる。
【0010】
[4]上記[3]のマイクロ流体デバイスにおいて、演算部は、上記時間変化量を、第1容器の培養液内での第1の光の光路長と、第2容器の培養液内での第2の光の光路長との合計長さに更に基づいて推定してもよい。
(【0011】以降は省略されています)
この特許をJ-PlatPat(特許庁公式サイト)で参照する
関連特許
浜松ホトニクス株式会社
分光装置
3日前
浜松ホトニクス株式会社
放射線検出器及び放射線検出装置
18日前
浜松ホトニクス株式会社
血糖値測定装置及び血糖値測定方法
17日前
浜松ホトニクス株式会社
血糖値測定装置及び血糖値測定方法
17日前
浜松ホトニクス株式会社
レーザ加工装置及びレーザ加工方法
19日前
浜松ホトニクス株式会社
スライド保持ユニット及び画像取得装置
27日前
浜松ホトニクス株式会社
マイクロ流体デバイスおよび流速推定方法
4日前
浜松ホトニクス株式会社
チップの製造方法
19日前
浜松ホトニクス株式会社
信号伝達回路及び信号伝達回路の製造方法
3日前
個人
抗遺伝子劣化装置
2か月前
個人
細胞内探査とその利用
2か月前
雪国アグリ株式会社
単糖類の製造方法
1か月前
個人
細胞培養容器
4か月前
日本バイリーン株式会社
細胞用支持基材
4か月前
日油株式会社
蛋白質安定化剤
4か月前
株式会社タクマ
バイオマス処理装置
3か月前
株式会社タクマ
バイオマス処理装置
3か月前
株式会社東洋新薬
経口組成物
2か月前
東洋紡株式会社
改変型RNAポリメラーゼ
4か月前
テルモ株式会社
吐出デバイス
2か月前
テルモ株式会社
容器蓋デバイス
2か月前
島根県
油吸着材とその製造方法
1か月前
宝酒造株式会社
アルコール飲料
1か月前
東ソー株式会社
pH応答性マイクロキャリア
2か月前
大陽日酸株式会社
培養装置
2か月前
大陽日酸株式会社
培養装置
2か月前
トヨタ自動車株式会社
バイオ燃料製造方法
2か月前
株式会社ファンケル
SEC12タンパク発現促進剤
3か月前
株式会社豊田中央研究所
細胞励起装置
1か月前
個人
有機フッ素化合物を分解する廃液処理法
27日前
株式会社東海ヒット
灌流培養ユニット
4か月前
月桂冠株式会社
低プリン体清酒
13日前
アサヒビール株式会社
柑橘風味アルコール飲料
4か月前
アサヒビール株式会社
柑橘風味アルコール飲料
4か月前
オンキヨー株式会社
浸漬酒の製造方法、及び、浸漬酒
4か月前
株式会社シャローム
スフィンゴミエリン製造方法
2か月前
続きを見る
他の特許を見る