TOP
|
特許
|
意匠
|
商標
特許ウォッチ
Twitter
他の特許を見る
10個以上の画像は省略されています。
公開番号
2025160067
公報種別
公開特許公報(A)
公開日
2025-10-22
出願番号
2024082643
出願日
2024-05-21
発明の名称
レーザ加工装置及びレーザ加工方法
出願人
浜松ホトニクス株式会社
代理人
個人
,
個人
,
個人
主分類
B23K
26/04 20140101AFI20251015BHJP(工作機械;他に分類されない金属加工)
要約
【課題】加工光による加工位置を対象物の所定面を基準として対象物に精度良く設定することができるレーザ加工装置及びレーザ加工方法を提供する。
【解決手段】レーザ加工装置では、集光部14の光出射面14bにおいて、測距光の光軸及び反射光の光軸が集光部14の光軸AからY方向における一方の側及び他方の側にオフセットしている。制御部は、Z方向においてレーザ光Lの集光スポットCを加工位置P2に近づかせる第1変調及びY方向においてレーザ光Lの集光スポットCを反射位置P1に近づかせる第2変調の少なくとも一方が実施されるように空間光変調器を制御する。制御部は、反射光の検出結果に基づいて、対象物の表面とレーザ光Lの集光スポットCとの距離が所定距離となるように且つラインαに沿ってレーザ光Lの集光スポットCが相対的に移動するように移動機構を制御する。
【選択図】図14
特許請求の範囲
【請求項1】
対象物を支持する支持部と、
加工光を出射する第1光源と、
非加工光を出射する第2光源と、
前記加工光及び前記非加工光を前記対象物側に透過させる集光部と、
前記第1光源から前記集光部に至る前記加工光の光路上において前記加工光を変調する空間光変調器と、
前記対象物の所定面によって反射されて前記対象物側から前記集光部を透過した前記非加工光の反射光を検出する光検出部と、
前記支持部及び前記集光部の少なくとも一方を駆動する駆動部と、
少なくとも前記駆動部を制御する制御部と、を備え、
前記非加工光の光軸は、前記集光部の光出射面において、前記集光部の光軸から第1方向における一方の側にオフセットしており、
前記反射光の光軸は、前記光出射面において、前記集光部の前記光軸から前記第1方向における他方の側にオフセットしており、
前記制御部は、前記空間光変調器によって変調されていない前記加工光の集光スポットを前記対象物内の加工位置に位置させると前記所定面における前記非加工光の反射位置が前記一方の側にオフセットする場合に、前記集光部の前記光軸に平行な方向において前記集光スポットを前記加工位置に近づかせる第1変調及び前記第1方向において前記集光スポットを前記反射位置に近づかせる第2変調の少なくとも一方が実施されるように前記空間光変調器を制御し、
前記制御部は、前記光検出部による検出結果に基づいて、前記所定面と前記対象物内に位置する前記加工光の集光スポットとの距離が所定距離となるように前記駆動部を制御しつつ、前記対象物に設定されたラインに沿って前記集光スポットが相対的に移動するように前記駆動部を制御する、レーザ加工装置。
続きを表示(約 1,800 文字)
【請求項2】
前記制御部は、前記ラインが第2方向に延在するように前記駆動部を制御し、
前記第2方向は、前記第1方向に対して45度以上135度以下の角度で傾斜する方向である、請求項1に記載のレーザ加工装置。
【請求項3】
前記制御部は、前記第1変調及び前記第2変調によって変調されていない前記加工光の前記集光スポットを前記加工位置に位置させた場合における前記検出結果に基づいて、前記第1変調及び前記第2変調の少なくとも一方を実施するか否かを決定する、請求項2に記載のレーザ加工装置。
【請求項4】
前記制御部は、前記第1変調及び前記第2変調によって変調されていない前記加工光の前記集光スポットを前記所定面に位置させた場合における前記検出結果と前記第1変調及び前記第2変調によって変調されていない前記加工光の前記集光スポットを前記加工位置に位置させた場合における前記検出結果とを比較することで、前記第1変調及び前記第2変調の少なくとも一方を実施するか否かを決定する、請求項3に記載のレーザ加工装置。
【請求項5】
前記対象物は、前記所定面に沿って二次元状に配置された複数の機能素子を含むウェハであり、
前記ラインは、前記複数の機能素子のうち隣り合う機能素子の間を通るように前記ウェハに設定されており、
前記第1変調及び前記第2変調によって変調されていない前記加工光の前記集光スポットを前記加工位置に位置させた場合における前記検出結果は、前記隣り合う機能素子の間において取得される、請求項3又は4に記載のレーザ加工装置。
【請求項6】
前記制御部は、前記ラインが前記第1方向に延在するように又は前記ラインが第3方向に延在するように前記駆動部を制御し、
前記第3方向は、前記第1方向に対して45度よりも小さい角度又は135度よりも大きい角度で傾斜する方向である、請求項1に記載のレーザ加工装置。
【請求項7】
前記制御部は、前記加工位置に関する情報に基づいて、前記第1変調及び前記第2変調の少なくとも一方を実施するか否かを決定する、請求項1に記載のレーザ加工装置。
【請求項8】
前記制御部は、前記所定面と前記加工位置との距離が所定値よりも小さい場合に少なくとも前記第1変調を実施し、前記所定面と前記加工位置との前記距離が前記所定値よりも大きい場合に少なくとも前記第2変調を実施する、請求項7に記載のレーザ加工装置。
【請求項9】
対象物を支持する支持部と、
加工光を出射する第1光源と、
非加工光を出射する第2光源と、
前記加工光及び前記非加工光を前記対象物側に透過させる集光部と、
前記第1光源から前記集光部に至る前記加工光の光路上において前記加工光を変調する空間光変調器と、
前記対象物の所定面によって反射されて前記対象物側から前記集光部を透過した前記非加工光の反射光を検出する光検出部と、
前記支持部及び前記集光部の少なくとも一方を駆動する駆動部と、を備え、
前記非加工光の光軸は、前記集光部の光出射面において、前記集光部の光軸から第1方向における一方の側にオフセットしており、
前記反射光の光軸は、前記光出射面において、前記集光部の前記光軸から前記第1方向における他方の側にオフセットしている、レーザ加工装置において実施されるレーザ加工方法であって、
前記空間光変調器によって変調されていない前記加工光の集光スポットを前記対象物内の加工位置に位置させると前記所定面における前記非加工光の反射位置が前記一方の側にオフセットする場合に、前記集光部の前記光軸に平行な方向において前記集光スポットを前記加工位置に近づかせる第1変調及び前記第1方向において前記集光スポットを前記反射位置に近づかせる第2変調の少なくとも一方が実施されるように、前記加工光を前記空間光変調器に変調させる第1工程と、
前記光検出部による検出結果に基づいて、前記所定面と前記対象物内に位置する前記加工光の集光スポットとの距離が所定距離となるように前記駆動部を制御しつつ、前記対象物に設定されたラインに沿って前記集光スポットが相対的に移動するように、前記支持部及び前記集光部の少なくとも一方を前記駆動部に駆動させる第2工程と、を備える、レーザ加工方法。
発明の詳細な説明
【技術分野】
【0001】
本発明は、レーザ加工装置及びレーザ加工方法に関する。
続きを表示(約 2,800 文字)
【背景技術】
【0002】
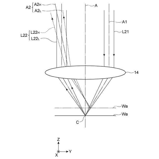
対象物を支持する支持部と、加工光を出射する第1光源と、非加工光を出射する第2光源と、加工光及び非加工光を対象物側に透過させる集光部と、対象物の所定面によって反射されて対象物側から集光部を透過した非加工光の反射光を検出する光検出部と、を備えるレーザ加工装置が知られている(例えば、特許文献1参照)。このようなレーザ加工装置では、集光部の光出射面において、非加工光の光軸が集光部の光軸から一方の側にオフセットしており、反射光の光軸が集光部の光軸から他方の側にオフセットしている場合がある。
【先行技術文献】
【特許文献】
【0003】
特開2019-178923号公報
【発明の概要】
【発明が解決しようとする課題】
【0004】
上述したようなレーザ加工装置では、対象物の所定面の高さ情報を取得することができるため、加工光による加工位置を対象物の所定面を基準として対象物に設定することが可能である。
【0005】
本発明は、加工光による加工位置を対象物の所定面を基準として対象物に精度良く設定することができるレーザ加工装置及びレーザ加工方法を提供することを目的とする。
【課題を解決するための手段】
【0006】
本発明のレーザ加工装置は、[1]「対象物を支持する支持部と、加工光を出射する第1光源と、非加工光を出射する第2光源と、前記加工光及び前記非加工光を前記対象物側に透過させる集光部と、前記第1光源から前記集光部に至る前記加工光の光路上において前記加工光を変調する空間光変調器と、前記対象物の所定面によって反射されて前記対象物側から前記集光部を透過した前記非加工光の反射光を検出する光検出部と、前記支持部及び前記集光部の少なくとも一方を駆動する駆動部と、少なくとも前記駆動部を制御する制御部と、を備え、前記非加工光の光軸は、前記集光部の光出射面において、前記集光部の光軸から第1方向における一方の側にオフセットしており、前記反射光の光軸は、前記光出射面において、前記集光部の前記光軸から前記第1方向における他方の側にオフセットしており、前記制御部は、前記空間光変調器によって変調されていない前記加工光の前記集光スポットを前記対象物内の加工位置に位置させると前記所定面における前記非加工光の反射位置が前記一方の側にオフセットする場合に、前記集光部の前記光軸に平行な方向において前記集光スポットを前記加工位置に近づかせる第1変調及び前記第1方向において前記集光スポットを前記反射位置に近づかせる第2変調の少なくとも一方が実施されるように前記空間光変調器を制御し、前記制御部は、前記光検出部による検出結果に基づいて、前記所定面と前記対象物内に位置する前記加工光の集光スポットとの距離が所定距離となるように前記駆動部を制御しつつ、前記対象物に設定されたラインに沿って前記集光スポットが相対的に移動するように前記駆動部を制御する、レーザ加工装置」である。
【0007】
上記レーザ加工装置では、集光部の光出射面において、非加工光の光軸が集光部の光軸から第1方向における一方の側にオフセットしており、反射光の光軸が集光部の光軸から第1方向における他方の側にオフセットしている状態で、変調されていない加工光の集光スポットを対象物内の加工位置に位置させると対象物の所定面における非加工光の反射位置が一方の側にオフセットする場合に、集光部の光軸に平行な方向において集光スポットを加工位置に近づかせる第1変調及び第1方向において集光スポットを反射位置に近づかせる第2変調の少なくとも一方が実施されるように空間光変調器が制御される。そして、光検出部による検出結果に基づいて、対象物の所定面と対象物内に位置する加工光の集光スポットとの距離が所定距離となるように駆動部が制御されつつ、ラインに沿って加工光の集光スポットが相対的に移動するように駆動部が制御される。これにより、加工光の集光スポットの位置(すなわち、対象物内の加工位置)と非加工光の反射位置との「第1方向におけるずれ量」を小さくすることができるため、ライン上において対象物の所定面から所定距離の位置に加工光の集光スポットを精度良く位置させることができる。よって、上記レーザ加工装置によれば、加工光による加工位置を対象物の所定面を基準として対象物に精度良く設定することができる。
【0008】
本発明のレーザ加工装置は、[2]「前記制御部は、前記ラインが第2方向に延在するように前記駆動部を制御し、前記第2方向は、前記第1方向に対して45度以上135度以下の角度で傾斜する方向である、上記[1]に記載のレーザ加工装置」であってもよい。加工光の照射によって対象物の加工が実施される際には、集光部の光出射面の周囲領域のうち第2方向における集光部の光軸の両側の部分に特に汚れが付着しやすい(これは、本発明者らが見出した知見である)。換言すれば、集光部の光出射面において非加工光及び反射光が通過する領域には、汚れが付着しにくい。したがって、集光部の光出射面に汚れが付着したとしても、対象物の所定面の高さ情報を取得することができる。
【0009】
本発明のレーザ加工装置は、[3]「前記制御部は、前記第1変調及び前記第2変調によって変調されていない前記加工光の前記集光スポットを前記加工位置に位置させた場合における前記検出結果に基づいて、前記第1変調及び前記第2変調の少なくとも一方を実施するか否かを決定する、上記[2]に記載のレーザ加工装置」であってもよい。当該レーザ加工装置によれば、加工光の集光スポットの位置と非加工光の反射位置との「第1方向におけるずれ量」が大きくなることに起因して非加工光の反射位置が何らかの部材上や穴上に位置するのを回避することができる。
【0010】
本発明のレーザ加工装置は、[4]「前記制御部は、前記第1変調及び前記第2変調によって変調されていない前記加工光の前記集光スポットを前記所定面に位置させた場合における前記検出結果と前記第1変調及び前記第2変調によって変調されていない前記加工光の前記集光スポットを前記加工位置に位置させた場合における前記検出結果とを比較することで、前記第1変調及び前記第2変調の少なくとも一方を実施するか否かを決定する、上記[3]に記載のレーザ加工装置」であってもよい。当該レーザ加工装置によれば、加工光の集光スポットを対象物内の加工位置に位置させた場合に非加工光の反射位置が何らかの部材上に位置するか否かを確実に判定することができるため、非加工光の反射位置が何らかの部材上や穴上に位置するのを確実に回避することができる。
(【0011】以降は省略されています)
この特許をJ-PlatPat(特許庁公式サイト)で参照する
関連特許
浜松ホトニクス株式会社
放射線検出器及び放射線検出装置
6日前
浜松ホトニクス株式会社
血糖値測定装置及び血糖値測定方法
5日前
浜松ホトニクス株式会社
血糖値測定装置及び血糖値測定方法
5日前
浜松ホトニクス株式会社
レーザ加工装置及びレーザ加工方法
7日前
浜松ホトニクス株式会社
スライド保持ユニット及び画像取得装置
15日前
浜松ホトニクス株式会社
チップの製造方法
7日前
他の特許を見る