TOP
|
特許
|
意匠
|
商標
特許ウォッチ
Twitter
他の特許を見る
10個以上の画像は省略されています。
公開番号
2025160607
公報種別
公開特許公報(A)
公開日
2025-10-23
出願番号
2024063236
出願日
2024-04-10
発明の名称
放射線検出器及び放射線検出装置
出願人
浜松ホトニクス株式会社
代理人
個人
,
個人
,
個人
,
個人
主分類
G01T
3/08 20060101AFI20251016BHJP(測定;試験)
要約
【課題】マルチチャンネル型放射線検出器において、放射線検出器の外周部に位置する複数の画素電極のエネルギー分解能を向上させることができる放射線検出器を提供すること。
【解決手段】第一電極部、半導体結晶部、及び、前記第一電極部に対向する第二電極部をこの順に備える第一部分と、半導体結晶部の側面を包囲するように設けられている第二部分と、を備え、第二部分が、半導体結晶部の側面から絶縁層及び導電層をこの順に有し、第二電極部が複数の画素電極を有する、放射線検出器。
【選択図】図1
特許請求の範囲
【請求項1】
第一電極部、半導体結晶部、及び、前記第一電極部に対向する第二電極部をこの順に備える第一部分と、
前記半導体結晶部の側面を包囲するように設けられている第二部分と、
を備え、
前記第二部分が、前記半導体結晶部の側面から絶縁層及び導電層をこの順に有し、
前記第二電極部が複数の画素電極を有する、放射線検出器。
続きを表示(約 670 文字)
【請求項2】
前記半導体結晶部が臭化タリウム、テルル化カドミウム、テルル化カドミウム亜鉛、及び三臭化鉛セシウムからなる群より選ばれる少なくとも一種を含む半導体結晶を有する、請求項1に記載の放射線検出器。
【請求項3】
前記半導体結晶部が、複数の半導体結晶で構成されている、請求項1に記載の放射線検出器。
【請求項4】
前記絶縁層が、前記半導体結晶部の側面全体を覆うように配置されている、請求項1に記載の放射線検出器。
【請求項5】
前記絶縁層が、前記半導体結晶部の前記第一電極部側の表面を含む平面に対して、前記第一電極部側に突出している、請求項1に記載の放射線検出器。
【請求項6】
前記絶縁層が、シリコーン樹脂、アクリル樹脂、ポリウレタン樹脂、ポリイミド樹脂、ポリオレフィン樹脂、及びフッ素樹脂からなる群より選ばれる少なくとも一種を含む、請求項1に記載の放射線検出器。
【請求項7】
前記絶縁層の厚さ方向における絶縁耐力が1.5kV/mm以上である、請求項1に記載の放射線検出器。
【請求項8】
前記絶縁層の厚さ方向における絶縁耐力が19kV/mm以上である、請求項1に記載の放射線検出器。
【請求項9】
前記絶縁層の厚さが150μm以下である、請求項1に記載の放射線検出器。
【請求項10】
前記絶縁層の厚さが50μm以下である、請求項1に記載の放射線検出器。
(【請求項11】以降は省略されています)
発明の詳細な説明
【技術分野】
【0001】
本発明は、放射線検出器及び放射線検出装置に関する。
続きを表示(約 3,000 文字)
【背景技術】
【0002】
従来から、放射線を検出する放射線検出装置が知られている。放射線検出装置としては、例えば、バイアス供給用の共通電極と、信号取り出し用の複数の画素電極と、半導体結晶と、を有する放射線検出器を備えたマルチチャンネル型放射線検出装置が知られている。マルチチャンネル型放射線検出装置において、共通電極と複数の画素電極との間に電圧が印加されている状態で、放射線検出器を構成する半導体結晶に放射線が入射し相互作用すると、半導体結晶内において電子と正孔とが生成する。生成する電子と正孔の数は、入射した放射線の強度に応じて増加する。電子と正孔は半導体結晶に印加された電圧により各々加速され、電流として検出される。検出された電流の大きさから放射線スペクトル(エネルギースペクトル)が得られる。複数の画素電極を有する放射線検出器としては、例えば、特許文献1に記載されている半導体放射線検出器が知られている。
【先行技術文献】
【特許文献】
【0003】
特開平9-92806号公報
【発明の概要】
【発明が解決しようとする課題】
【0004】
放射線検出装置において、高いエネルギー分解能を有する放射線検出器が求められている。放射線検出器のエネルギー分解能は、エネルギースペクトルに現れるピークの半値幅が狭いほど優れるといえる。本発明者らは、鋭意検討の結果、マルチチャンネル型放射線検出器において、複数の画素電極のうち、放射線検出器の外周部に位置する複数の画素電極は、放射線検出器の中心部に位置する複数の画素電極よりもエネルギー分解能が劣る傾向があることを見出した。
【0005】
そこで、本発明の一側面は、マルチチャンネル型放射線検出器において、放射線検出器の外周部に位置する複数の画素電極のエネルギー分解能を向上させることができる放射線検出器を提供することを目的とする。また、本発明の他の側面は、当該放射線検出器を備える放射線検出装置を提供することを目的とする。
【課題を解決するための手段】
【0006】
本発明は、例えば、以下の[1]~[16]を含む。
[1] 第一電極部、半導体結晶部、及び、前記第一電極部に対向する第二電極部をこの順に備える第一部分と、
前記半導体結晶部の側面を包囲するように設けられている第二部分と、
を備え、
前記第二部分が、前記半導体結晶部の側面から絶縁層及び導電層をこの順に有し、
前記第二電極部が複数の画素電極を有する、放射線検出器。
[2] 前記半導体結晶部が臭化タリウム、テルル化カドミウム、テルル化カドミウム亜鉛、及び三臭化鉛セシウムからなる群より選ばれる少なくとも一種を含む半導体結晶を有する、[1]に記載の放射線検出器。
[3] 前記半導体結晶部が、複数の半導体結晶で構成されている、[1]又は[2]に記載の放射線検出器。
[4] 前記絶縁層が、前記半導体結晶部の側面全体を覆うように配置されている、[1]~[3]のいずれか一つに記載の放射線検出器。
[5] 前記絶縁層が、前記半導体結晶部の前記第一電極部側の表面を含む平面に対して、前記第一電極部側に突出している、[1]~[4]のいずれか一つに記載の放射線検出器。
[6] 前記絶縁層が、シリコーン樹脂、アクリル樹脂、ポリウレタン樹脂、ポリイミド樹脂、ポリオレフィン樹脂、及びフッ素樹脂からなる群より選ばれる少なくとも一種を含む、[1]~[5]のいずれか一つに記載の放射線検出器。
[7] 前記絶縁層の厚さ方向における絶縁耐力が1.5kV/mm以上である、[1]~[6]のいずれか一つに記載の放射線検出器。
[8] 前記絶縁層の厚さ方向における絶縁耐力が19kV/mm以上である、[1]~[7]のいずれか一つに記載の放射線検出器。
[9] 前記絶縁層の厚さが150μm以下である、[1]~[8]のいずれか一つに記載の放射線検出器。
[10] 前記絶縁層の厚さが50μm以下である、[1]~[9]のいずれか一つに記載の放射線検出器。
[11] 前記導電層が、銅、アルミニウム、金、及びこれらの元素を含む合金からなる群より選ばれる少なくとも一種を含む、[1]~[10]のいずれか一つに記載の放射線検出器。
[12] 前記導電層の厚さが50nm以上である、[1]~[11]のいずれか一つに記載の放射線検出器。
[13] 前記導電層の厚さが150nm以上である、[1]~[12]のいずれか一つに記載の放射線検出器。
[14] 前記第二部分が、前記第一電極部の側面から前記絶縁層及び前記導電層をこの順に備える、[1]~[13]のいずれか一つに記載の放射線検出器。
[15] 前記複数の画素電極のそれぞれと電気的に接続されている回路部を更に備え、
前記回路部が前記複数の画素電極ごとに収集された情報を処理してデータとして出力する、[1]~[14]のいずれか一つに記載の放射線検出器。
[16] [1]~[15]のいずれか一つに記載の放射線検出器と、
前記放射線検出器に電圧を印加する電源と、
前記放射線検出器及び前記電源に電気的に接続されている制御部と、
を備える、放射線検出装置。
[17] 前記導電層の電位がフローティング状態にされている、[16]に記載の放射線検出装置。
【発明の効果】
【0007】
本発明によれば、マルチチャンネル型放射線検出器において、放射線検出器の外周部に位置する複数の画素電極のエネルギー分解能を向上させることができる放射線検出器を提供することができる。また、本発明によれば、当該放射線検出器を備える放射線検出装置を提供することができる。
【図面の簡単な説明】
【0008】
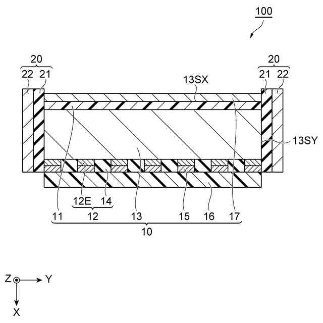
図1は、放射線検出器の一実施形態を示す模式断面図である。
図2は、複数の画素電極の平面図である。
図3は、半導体結晶部の平面図である。
図4は、実施例1及び比較例1の画素電極の角部1点におけるエネルギースペクトルの結果を示すグラフである。
図5は、実施例1~4及び比較例1のFWHMの平均値の傾向を示すグラフである。
図6は、導電層の厚さとFWHMの平均値との関係を示すグラフである。
【発明を実施するための形態】
【0009】
以下、本発明の実施形態について詳細に説明する。ただし、本発明は以下の実施形態に限定されるものではない。
【0010】
本明細書において、「外周部に位置する複数の画素電極」とは、複数の画素電極が存在する電極部の平面視において、電極部の外周に沿って配置されている画素電極を意味する。また、本明細書において、「中央部に位置する複数の画素電極」とは、複数の画素電極が存在する電極部の平面視において、電極部の中心から外周までの長さの半分の領域内に配置されている画素電極を意味する。
(【0011】以降は省略されています)
この特許をJ-PlatPat(特許庁公式サイト)で参照する
関連特許
個人
メジャー文具
17日前
個人
高精度同時多点測定装置
9日前
個人
アクセサリー型テスター
10日前
ユニパルス株式会社
ロードセル
16日前
株式会社ミツトヨ
測定器
今日
アズビル株式会社
電磁流量計
3日前
株式会社ヨコオ
ソケット
16日前
トヨタ自動車株式会社
監視装置
15日前
ダイキン工業株式会社
監視装置
14日前
株式会社チノー
放射光測温装置
16日前
株式会社ヨコオ
ソケット
15日前
ローム株式会社
半導体装置
8日前
個人
システム、装置及び実験方法
3日前
愛知時計電機株式会社
ガスメータ
今日
ローム株式会社
半導体装置
8日前
長崎県
形状計測方法
10日前
TDK株式会社
磁気センサ
15日前
TDK株式会社
ガスセンサ
16日前
TDK株式会社
ガスセンサ
21日前
ダイハツ工業株式会社
移動支援装置
15日前
株式会社デンソー
電流センサ
8日前
三菱マテリアル株式会社
温度センサ
17日前
TDK株式会社
電磁波センサ
16日前
多摩川精機株式会社
冗長エンコーダ
15日前
日本特殊陶業株式会社
センサ
14日前
日本特殊陶業株式会社
センサ
14日前
日本特殊陶業株式会社
センサ
14日前
中国電力株式会社
電柱管理システム
14日前
三恵技研工業株式会社
融雪レドーム
15日前
日本特殊陶業株式会社
センサ
14日前
日本特殊陶業株式会社
センサ
14日前
トヨタ自動車株式会社
測定システム
7日前
日本特殊陶業株式会社
センサ
今日
アンリツ株式会社
X線検査装置
今日
日鉄テックスエンジ株式会社
聴音装置
16日前
住友電気工業株式会社
分析方法
17日前
続きを見る
他の特許を見る