TOP
|
特許
|
意匠
|
商標
特許ウォッチ
Twitter
他の特許を見る
10個以上の画像は省略されています。
公開番号
2025152823
公報種別
公開特許公報(A)
公開日
2025-10-10
出願番号
2024054943
出願日
2024-03-28
発明の名称
波長可変光源及び波長可変方法
出願人
浜松ホトニクス株式会社
,
国立研究開発法人理化学研究所
代理人
個人
,
個人
,
個人
,
個人
主分類
H01S
3/10 20060101AFI20251002BHJP(基本的電気素子)
要約
【課題】出力する光の波長が可変な波長可変光源及び波長可変方法において広い波長帯にわたって当該光を確実に増幅する。
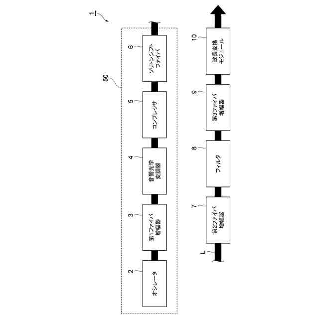
【解決手段】波長可変光源1は、超短パルス光Lを出力すると共に出力する当該超短パルス光Lの波長が可変な光出力部と、光出力部で出力した超短パルス光Lを増幅する第2ファイバ増幅器7と、第2ファイバ増幅器7で増幅した超短パルス光Lをフィルタリングするフィルタ8と、フィルタ8でフィルタリングした超短パルス光Lを増幅する第3ファイバ増幅器9と、を備える。第2ファイバ増幅器7は、短波長側において長波長側よりも高い利得を有する。第3ファイバ増幅器9は、長波長側において短波長側よりも高い利得を有する。フィルタ8は、自然放射増幅光を減光する。
【選択図】図1
特許請求の範囲
【請求項1】
光を出力すると共に、出力する当該光の波長が可変な光出力部と、
前記光出力部で出力した前記光を増幅する第1光増幅部と、
前記第1光増幅部で増幅した前記光をフィルタリングするフィルタ部と、
前記フィルタ部でフィルタリングした前記光を増幅する第2光増幅部と、を備え、
前記第1光増幅部は、第1波長側において前記第1波長と異なる第2波長側よりも高い利得を有し、
前記第2光増幅部は、前記第2波長側において前記第1波長側よりも高い利得を有し、
前記フィルタ部は、自然放射増幅光を減光する、波長可変光源。
続きを表示(約 970 文字)
【請求項2】
前記光出力部は、1800~2200nmの波長帯域の光を出力可能であり、
前記第1光増幅部及び前記第2光増幅部は、Tmファイバを含む、請求項1に記載の波長可変光源。
【請求項3】
前記第1波長は、前記第2波長よりも短い、請求項1又は2に記載の波長可変光源。
【請求項4】
前記フィルタ部は、前記第1波長と前記第2波長との間の波長域を含む所定波長帯域の自然放射増幅光を減光する、請求項1又は2に記載の波長可変光源。
【請求項5】
前記光出力部は、
パルス光を発振する発振部と、
前記発振部で発振した前記パルス光のスペクトルを広帯域化する増幅部と、
前記増幅部でスペクトルを広帯域化した前記パルス光の波長を、ソリトン自己周波数シフトを利用して変調する変調部と、
前記パルス光の光路における前記増幅部と前記変調部との間に配置され、前記パルス光の強度をパルス毎に制御する光強度制御部と、を有する、請求項1又は2に記載の波長可変光源。
【請求項6】
光を出力する光出力ステップと、
前記光出力ステップで出力した前記光を増幅する第1光増幅ステップと、
前記第1光増幅ステップで増幅した前記光をフィルタリングするフィルタリングステップと、
前記フィルタリングステップでフィルタリングした前記光を増幅する第2光増幅ステップと、を備え、
前記光出力ステップは、出力する前記光の波長を可変するステップを含み、
前記第1光増幅ステップでは、前記光の第1波長側において前記第1波長と異なる第2波長側よりも高い利得を有する第1光増幅部により前記光を増幅し、
前記第2光増幅ステップでは、前記第2波長側において前記第1波長側よりも高い利得を有する第2光増幅部により前記光を増幅し、
前記フィルタリングステップでは、前記第1波長と前記第2波長との間の波長域を含む所定波長帯域の自然放射増幅光を減光する、波長可変方法。
【請求項7】
前記フィルタリングステップにおいて、前記第1波長の前記光から前記第2波長の前記光にエネルギを移動させる、請求項6に記載の波長可変方法。
発明の詳細な説明
【技術分野】
【0001】
本開示は、波長可変光源及び波長可変方法に関する。
続きを表示(約 2,400 文字)
【背景技術】
【0002】
波長可変光源として、パルス光を発振する発振部と、発振部で発振したパルス光の波長をソリトン自己周波数シフトを利用して変調する変調部と、を備え、変調前のパルス光の強度を調整することで、出力するパルス光の波長を可変とする光源が知られている(例えば特許文献1参照)。
【先行技術文献】
【特許文献】
【0003】
特表2004-527001号公報
国際公開第2004/070898号
【発明の概要】
【発明が解決しようとする課題】
【0004】
特許文献1に記載の波長可変光源では、出力した光を光増幅器により増幅する場合、自然放射増幅光(ASE:Amplified Spontaneous Emission)が発生し、増幅が妨げられる他、寄生発振が発生してしまうおそれがある。この場合、自然放射増幅光が発生しないような所望条件に合わせた光増幅器を用いることも考えられるが、そのような光増幅器を用いることが困難な波長帯域で光増幅を行う場合もある。また、仮にそのような光増幅器を用いることが可能な波長帯域で光増幅を行う場合であっても、光の波長が可変であることから、例えば波長が短波長側の光の条件に合わせた光増幅器を用いれば、波長が長波長側の光を増幅することが困難になり、逆もまた同様である。このことは、短波長と長波長との差が大きくなる場合、つまり、広い波長帯において光増幅を行う場合(例えば1800nm~2200nmの波長帯域での光増幅のように400nmにわたるような波長帯にわたって光増幅を行う場合)において特に顕著となる。これは波長帯が広くなると、光増幅器の波長による利得の差がより大きくなるが、そのような場合に利得の低い波長を増幅しようとすると、利得の高い波長の光が優先的に増幅される傾向があるためである。これ対して、特定の波長帯域、例えば1550nmを含む波長帯域においては、2つのErファイバを用いた光増幅器の間に利得均等化のためにフィルタを配置することで、光増幅を行うことが可能である(例えば特許文献2参照)。しかし、この場合においても、対応可能な波長帯は150nm程度であるため、より広い波長帯にわたって確実に光増幅を行うことが求められている。
【0005】
本開示は、上記実情に鑑みてなされたものであり、出力する光の波長が可変な波長可変光源及び波長可変方法において広い波長帯にわたって当該光を確実に増幅することを目的とする。
【課題を解決するための手段】
【0006】
本開示の波長可変光源は、[1]「光を出力すると共に、出力する当該光の波長が可変な光出力部と、前記光出力部で出力した前記光を増幅する第1光増幅部と、前記第1光増幅部で増幅した前記光をフィルタリングするフィルタ部と、前記フィルタ部でフィルタリングした前記光を増幅する第2光増幅部と、を備え、前記第1光増幅部は、第1波長側において前記第1波長と異なる第2波長側よりも高い利得を有し、前記第2光増幅部は、前記第2波長側において前記第1波長側よりも高い利得を有し、前記フィルタ部は、自然放射増幅光を減光する、波長可変光源」である。
【0007】
この波長可変光源では、出力する光の波長を、例えば第2波長よりも第1波長に近い第1波長側(以下、単に「第1波長側」ともいう)と第1波長よりも第2波長に近い第2波長側(以下、単に「第2波長側」ともいう)との間で可変する場合に、当該光を次のように増幅することができる。すなわち、第1波長側の光は、第1光増幅部によりASEの発生を伴わずに増幅された後、第2光増幅部により増幅される。ここで、第2光増幅部は第2波長側に高い利得を有するものではあるが、第1波長側の光は第1光増幅部で既に増幅されているためにエネルギを吸収しやすくなっていることから、第2光増幅部においても第1波長側の光をASEの発生を抑えながら増幅することができる。一方、例えば第2波長側の光は第1波長側の光と比べて然程に増幅はされないため、ASEが発生するが、当該ASEはフィルタ部により減光することができる。その後、第2波長側の光は、第2光増幅部によりASEの発生を伴わずに増幅される。したがって、本開示によれば、出力する光の波長が可変な波長可変光源において、広い波長帯にわたってASEを抑えながら当該光を確実に増幅することが可能となる。
【0008】
本開示の波長可変光源は、[2]「前記光出力部は、1800~2200nmの波長帯域の光を出力可能であり、前記第1光増幅部及び前記第2光増幅部は、Tmファイバを含む、[1]に記載の波長可変光源」であってもよい。この場合、1800~2200nmの波長帯域の光の増幅系を、Tmファイバを利用して実現することが可能となる。
【0009】
本開示の波長可変光源は、[3]「前記第1波長は、前記第2波長よりも短い、[1]又は[2]に記載の波長可変光源」であってもよい。この場合、第1光増幅部では、第2波長よりも短い短波長側に最適化した増幅が可能となり、第2光増幅部では、第1波長よりも長い長波長側に最適化した増幅が可能となる。
【0010】
本開示の波長可変光源は、[4]「前記フィルタ部は、前記第1波長と前記第2波長との間の波長域を含む所定波長帯域の自然放射増幅光を減光する、[1]~[3]の何れかに記載の波長可変光源」であってもよい。この場合、フィルタ部により、第1光増幅部の増幅により発生した自然放射増幅光を効果的に減光できる。
(【0011】以降は省略されています)
この特許をJ-PlatPat(特許庁公式サイト)で参照する
関連特許
APB株式会社
蓄電セル
17日前
東ソー株式会社
絶縁電線
19日前
個人
フレキシブル電気化学素子
1か月前
株式会社ユーシン
操作装置
1か月前
ローム株式会社
半導体装置
18日前
日新イオン機器株式会社
イオン源
27日前
マクセル株式会社
電源装置
11日前
株式会社東芝
端子台
11日前
株式会社ホロン
冷陰極電子源
25日前
株式会社GSユアサ
蓄電設備
1か月前
オムロン株式会社
電磁継電器
1か月前
株式会社GSユアサ
蓄電装置
12日前
株式会社GSユアサ
蓄電装置
12日前
株式会社GSユアサ
蓄電装置
4日前
株式会社GSユアサ
蓄電設備
1か月前
太陽誘電株式会社
コイル部品
1か月前
トヨタ自動車株式会社
バッテリ
1か月前
トヨタ自動車株式会社
冷却構造
19日前
ノリタケ株式会社
熱伝導シート
1か月前
北道電設株式会社
配電具カバー
17日前
日東電工株式会社
積層体
1か月前
日本特殊陶業株式会社
保持装置
20日前
日本特殊陶業株式会社
保持装置
3日前
トヨタ自動車株式会社
バッテリ
17日前
日新イオン機器株式会社
基板処理装置
14日前
サクサ株式会社
電池の固定構造
1か月前
トヨタ自動車株式会社
蓄電装置
1か月前
トヨタ自動車株式会社
蓄電装置
12日前
ベストテック株式会社
装置支持具
1か月前
株式会社トクヤマ
シリコンエッチング液
25日前
株式会社トクヤマ
シリコンエッチング液
25日前
東レエンジニアリング株式会社
実装装置
1か月前
古河電気工業株式会社
端子
1か月前
トヨタ自動車株式会社
電池パック
24日前
トヨタ自動車株式会社
電池パック
24日前
株式会社ダイヘン
搬送装置
1か月前
続きを見る
他の特許を見る