TOP
|
特許
|
意匠
|
商標
特許ウォッチ
Twitter
他の特許を見る
10個以上の画像は省略されています。
公開番号
2025171382
公報種別
公開特許公報(A)
公開日
2025-11-20
出願番号
2024076661
出願日
2024-05-09
発明の名称
半導体レーザ
出願人
浜松ホトニクス株式会社
代理人
個人
,
個人
,
個人
主分類
H01S
5/042 20060101AFI20251113BHJP(基本的電気素子)
要約
【課題】光閉じ込めを可能としつつ、光吸収を抑制することができる、半導体レーザを提供する。
【解決手段】半導体レーザ1は、半導体基板2と、半導体基板2の表面2aに積層された半導体積層部3と、第1電極5及び第2電極6と、を備える。半導体積層部3は、活性層43と、第1クラッド層41と、第2クラッド層45と、を有する。第1クラッド層41及び第2クラッド層45は、それぞれ、n型クラッド層を含み、第1クラッド層41及び第2クラッド層45のうちの一方のクラッド層は、当該n型クラッド層と活性層との間に位置するp型クラッド層52をさらに含み、第1電極5と前記第2電極6とは、第1クラッド層41及び第2クラッド層45のうちの他方のクラッド層、活性層43、及びp型クラッド層52を介して電気的に接続されており、p型クラッド層52の厚さは、一方のクラッド層におけるn型クラッド層の厚さよりも小さい。
【選択図】図1
特許請求の範囲
【請求項1】
半導体基板と、
前記半導体基板の表面に積層された半導体積層部と、
第1電極及び第2電極と、
を備え、
前記半導体積層部は、
活性層と、
前記活性層に対して前記半導体基板側に位置する第1クラッド層と、
前記活性層に対して前記半導体基板とは反対側に位置する第2クラッド層と、
を有し、
前記第1クラッド層及び前記第2クラッド層は、それぞれ、n型クラッド層を含み、
前記第1クラッド層及び前記第2クラッド層のうちの一方のクラッド層は、前記n型クラッド層と前記活性層との間に位置するp型クラッド層をさらに含み、
前記第1電極と前記第2電極とは、前記第1クラッド層及び前記第2クラッド層のうちの他方のクラッド層、前記活性層、及び前記p型クラッド層を介して電気的に接続されており、
前記p型クラッド層の厚さは、前記一方のクラッド層における前記n型クラッド層の厚さよりも小さい、
半導体レーザ。
続きを表示(約 830 文字)
【請求項2】
前記半導体積層部における積層方向と交差する方向において、前記p型クラッド層と接触するp型埋込層をさらに備え、
前記第1電極は、前記p型埋込層における前記半導体基板とは反対側の面に設けられている、
請求項1に記載の半導体レーザ。
【請求項3】
前記第2クラッド層の前記活性層とは反対側の表面には、前記活性層に向かって窪む溝が形成されている、
請求項2に記載の半導体レーザ。
【請求項4】
前記p型クラッド層の前記半導体基板とは反対側の面は、前記半導体積層部から露出する露出領域を含み、
前記第1電極は、前記露出領域に設けられている、
請求項1に記載の半導体レーザ。
【請求項5】
前記半導体基板は、n型半導体からなる、
請求項1に記載の半導体レーザ。
【請求項6】
前記一方のクラッド層における前記n型クラッド層、及び前記p型クラッド層を介して前記第1電極と電気的に接続される第3電極をさらに備える、
請求項1に記載の半導体レーザ。
【請求項7】
前記p型クラッド層の厚さは、前記一方のクラッド層における前記n型クラッド層と前記p型クラッド層との間に形成されるpn接合によって形成される空乏層のうち、前記p型クラッド層の内部に形成される部分の厚さよりも大きい、
請求項1に記載の半導体レーザ。
【請求項8】
前記p型クラッド層の厚さは、前記一方のクラッド層における前記n型クラッド層の厚さの1/2以下である、
請求項1に記載の半導体レーザ。
【請求項9】
前記一方のクラッド層は、第1クラッド層である、
請求項1に記載の半導体レーザ。
【請求項10】
前記一方のクラッド層は、第2クラッド層である、
請求項1に記載の半導体レーザ。
発明の詳細な説明
【技術分野】
【0001】
本発明は、半導体レーザに関する。
続きを表示(約 1,900 文字)
【背景技術】
【0002】
特許文献1には、光ガイド層を有する活性層と、当該活性層を挟むように配置されたn型クラッド層及びp型クラッド層とを備える、半導体レーザ素子が記載されている。p型クラッド層は、約1.5μmの厚さを有している。
【先行技術文献】
【特許文献】
【0003】
特開2007-123837号公報
【発明の概要】
【発明が解決しようとする課題】
【0004】
上述したような半導体レーザでは、p型クラッド層での光吸収が問題となる。特に、1.4μm以上の波長を含むアイセーフ波長帯における光吸収が課題であった。これに対して、p型クラッド層の厚さを薄くすることでp型クラッド層における光吸収を抑制することができるが、p型クラッド層の厚さを薄くすると、n型クラッド層とp型クラッド層との間の光閉じ込めが困難となるおそれがある。
【0005】
そこで、本発明は、光閉じ込めを可能としつつ、光吸収を抑制することができる、半導体レーザを提供することを目的とする。
【課題を解決するための手段】
【0006】
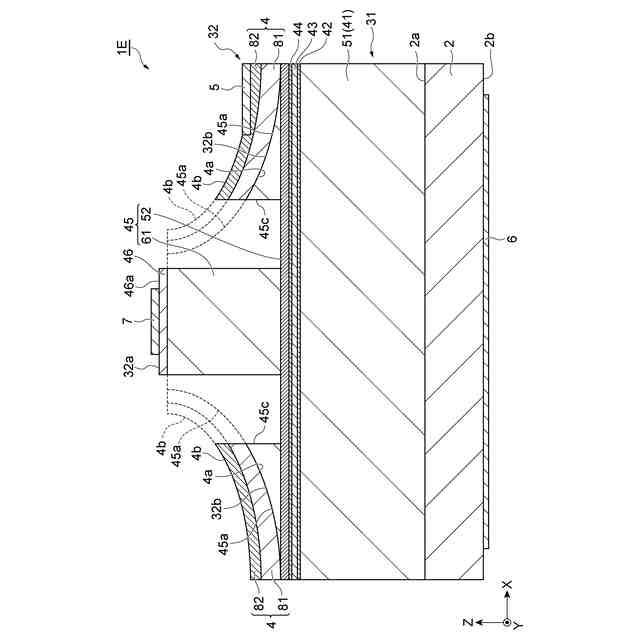
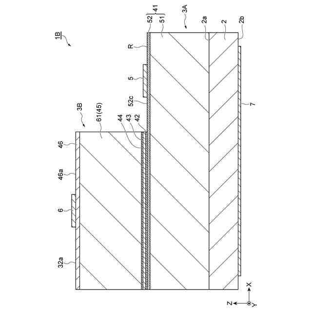
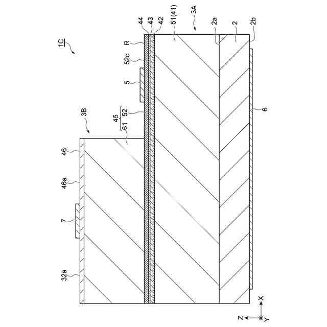
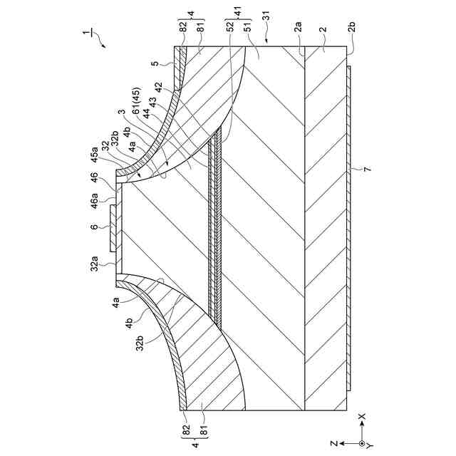
本発明に係る半導体レーザは、[1]「半導体基板と、前記半導体基板の表面に積層された半導体積層部と、第1電極及び第2電極と、を備え、前記半導体積層部は、活性層と、前記活性層に対して前記半導体基板側に位置する第1クラッド層と、前記活性層に対して前記半導体基板とは反対側に位置する第2クラッド層と、を有し、前記第1クラッド層及び前記第2クラッド層は、それぞれ、n型クラッド層を含み、前記第1クラッド層及び前記第2クラッド層のうちの一方のクラッド層は、前記n型クラッド層と前記活性層との間に位置するp型クラッド層をさらに含み、前記第1電極と前記第2電極とは、前記第1クラッド層及び前記第2クラッド層のうちの他方のクラッド層、前記活性層、及び前記p型クラッド層を介して電気的に接続されており、前記p型クラッド層の厚さは、前記一方のクラッド層における前記n型クラッド層の厚さよりも小さい、半導体レーザ」である。
【0007】
この半導体レーザでは、第1クラッド層及び第2クラッド層のうちの一方のクラッド層におけるp型クラッド層の厚さが、当該一方のクラッド層におけるn型クラッド層の厚さよりも小さい。これにより、例えば、当該一方のクラッド層の全体がp型クラッド層とされる場合と比較して、p型クラッド層の厚さを抑え、p型クラッド層における光吸収を抑制することができる。また、当該一方のクラッド層は、p型クラッド層に加えてn型クラッド層を含んでいる。これにより、当該一方のクラッド層全体の厚さを確保することができる。これにより、第1クラッド層と第2クラッド層との間の好適な光閉じ込めが可能となる。したがって、この半導体レーザによれば、光閉じ込めを可能としつつ、光吸収を抑制することができる。
【0008】
本発明に係る半導体レーザは、[2]「前記半導体積層部における積層方向と交差する方向において、前記p型クラッド層と接触するp型埋込層をさらに備え、前記第1電極は、前記p型埋込層における前記半導体基板とは反対側の面に設けられている、上記[1]に記載の半導体レーザ」であってもよい。この場合、p型埋込層がp型クラッド層と接触しているので、活性層で生じた熱がp型埋込層を介して放熱される。したがって、この半導体レーザによれば、放熱性を向上することができる。
【0009】
本発明に係る半導体レーザは、[3]「前記第2クラッド層の前記活性層とは反対側の表面には、前記活性層に向かって窪む溝が形成されている、上記[2]に記載の半導体レーザ」であってもよい。例えば第2クラッド層の当該表面にわたるようにp型埋込層が形成されている場合、このように第2クラッド層の当該表面に溝を形成することで、p型埋込層と第2クラッド層との接触面積を減らすことができる。この場合、第2クラッド層におけるp型埋込層からの電流経路を絞ることにより、リーク電流を抑制することができる。
【0010】
本発明に係る半導体レーザは、[4]「前記p型クラッド層の前記半導体基板とは反対側の面は、前記半導体積層部から露出する露出領域を含み、前記第1電極は、前記露出領域に設けられている、上記[1]に記載の半導体レーザ」であってもよい。この場合、p型埋込層を形成すると共に第1電極をp型埋込層に設ける場合に比べて、半導体レーザの構成が簡易化され、半導体レーザを容易に形成することができる。
(【0011】以降は省略されています)
この特許をJ-PlatPat(特許庁公式サイト)で参照する
関連特許
APB株式会社
蓄電セル
28日前
東ソー株式会社
絶縁電線
1か月前
個人
フレキシブル電気化学素子
1か月前
ローム株式会社
半導体装置
29日前
株式会社東芝
端子台
22日前
株式会社ユーシン
操作装置
1か月前
マクセル株式会社
電源装置
22日前
日新イオン機器株式会社
イオン源
1か月前
株式会社GSユアサ
蓄電設備
1か月前
富士電機株式会社
電磁接触器
1日前
株式会社GSユアサ
蓄電装置
1日前
株式会社GSユアサ
蓄電装置
23日前
株式会社GSユアサ
蓄電装置
23日前
株式会社ホロン
冷陰極電子源
1か月前
オムロン株式会社
電磁継電器
1か月前
三菱電機株式会社
回路遮断器
9日前
株式会社GSユアサ
蓄電設備
1か月前
太陽誘電株式会社
コイル部品
1か月前
株式会社GSユアサ
蓄電装置
15日前
日東電工株式会社
積層体
1か月前
サクサ株式会社
電池の固定構造
1か月前
日新イオン機器株式会社
基板処理装置
25日前
ノリタケ株式会社
熱伝導シート
1か月前
日本特殊陶業株式会社
保持装置
1か月前
トヨタ自動車株式会社
バッテリ
28日前
日本特殊陶業株式会社
保持装置
14日前
北道電設株式会社
配電具カバー
28日前
トヨタ自動車株式会社
蓄電装置
23日前
トヨタ自動車株式会社
蓄電装置
1か月前
トヨタ自動車株式会社
冷却構造
1か月前
ベストテック株式会社
装置支持具
1か月前
ローム株式会社
半導体装置
1か月前
ヒロセ電機株式会社
電気コネクタ
1日前
株式会社デンソー
電子装置
25日前
株式会社ダイヘン
搬送装置
1か月前
ローム株式会社
半導体モジュール
2日前
続きを見る
他の特許を見る