TOP
|
特許
|
意匠
|
商標
特許ウォッチ
Twitter
他の特許を見る
10個以上の画像は省略されています。
公開番号
2025170518
公報種別
公開特許公報(A)
公開日
2025-11-19
出願番号
2024075160
出願日
2024-05-07
発明の名称
干渉計測装置
出願人
浜松ホトニクス株式会社
代理人
個人
,
個人
,
個人
,
個人
主分類
G01N
21/3581 20140101AFI20251112BHJP(測定;試験)
要約
【課題】中赤外領域又はテラヘルツ領域の計測光を用いた干渉計測を高速且つ好適に行う。
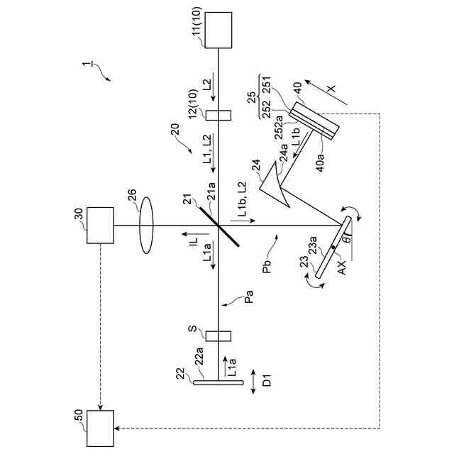
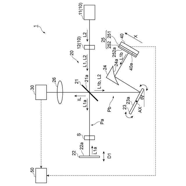
【解決手段】干渉計測装置1は、光源10からの計測光L1を分岐光L1a,L1bに分岐させるビームスプリッタ21と、分岐光L1aを直動ステージ22で反射させてビームスプリッタ21に再入射させる光路Paと、分岐光L1bが回転ミラー23及び放物面ミラー24を経由してミラー部材25で折り返される光路Pbと、を有し、ビームスプリッタ21に再入射する分岐光L1a,L1bを合波する干渉光学系20と、分岐光L1a,L1bの干渉光ILを検出する光電子増倍管30と、検出された干渉光ILの強度に応じた測定値を光路長差に対応付けた信号波形Wを取得する分析部50と、を備える。分析部50は、回転ミラー23の回転に応じて変位するミラー部材25における光入射位置に対応するビーム位置をモニタし、当該ビーム位置に基づいて信号波形Wを取得する。
【選択図】図1
特許請求の範囲
【請求項1】
中赤外領域又はテラヘルツ領域の波長範囲に含まれる計測光を出力する光源と、
前記光源から出力された前記計測光を第1分岐光と第2分岐光とに分岐させるビームスプリッタと、前記ビームスプリッタからの前記第1分岐光を第1ミラーで反射させて前記ビームスプリッタに再入射させる第1光路と、前記ビームスプリッタからの前記第2分岐光が第2ミラー及び光学部材をこの順に経由して第3ミラーに向かう往路と前記第2分岐光が前記第3ミラーで反射されて前記光学部材及び前記第2ミラーをこの順に経由して前記ビームスプリッタに戻る復路とによって構成される第2光路と、を有し、前記ビームスプリッタに再入射する前記第1分岐光及び前記第2分岐光を合波する、干渉光学系と、
前記計測光の波長に感度を有し、前記ビームスプリッタにおける前記第1分岐光及び前記第2分岐光の合波により生じる前記計測光の干渉光を検出する第1検出器と、
前記第1検出器により検出された前記干渉光の強度に応じた測定値を前記第1光路と前記第2光路との光路長差に対応付けた信号波形を取得し、取得された前記信号波形に基づいて前記計測光の光路上に配置される分析対象物の分析を行う分析部と、を備え、
前記第2ミラーは、前記第2光路の光路長を変化させるように回転駆動可能に構成されており、
前記光学部材は、前記第2ミラーからの前記第2分岐光を集光又はコリメートし、
前記分析部は、前記第2ミラーの回転に応じて変位する前記第3ミラーにおける光入射位置に対応するビーム位置をモニタし、前記ビーム位置に基づいて前記信号波形を取得する、干渉計測装置。
続きを表示(約 1,200 文字)
【請求項2】
前記光源は、前記計測光とは異なる波長を有し、前記計測光と同軸で前記ビームスプリッタに入射する参照光を更に出力し、
前記分析部は、前記第2ミラーの回転駆動に伴って変位する前記第3ミラーにおける前記参照光の入射位置に対応する前記ビーム位置をモニタする、請求項1に記載の干渉計測装置。
【請求項3】
前記第3ミラーを透過した前記参照光を検出する第2検出器を更に備え、
前記第3ミラーは、前記計測光を反射させる一方で前記参照光を透過させ、
前記分析部は、前記第2検出器の検出面における前記参照光の入射位置を前記ビーム位置としてモニタする、請求項2に記載の干渉計測装置。
【請求項4】
前記第3ミラーと前記第2検出器の検出面とは、両者の間に空気層が形成されないように配置されている、請求項3に記載の干渉計測装置。
【請求項5】
前記第3ミラーは、ITO膜を含む、請求項3に記載の干渉計測装置。
【請求項6】
前記光源は、パルス光を出力する出力部と、前記パルス光が照射されたことに応じて前記計測光を発生させる光学結晶と、を有し、前記光学結晶を透過した前記パルス光を前記参照光として出力する、請求項2に記載の干渉計測装置。
【請求項7】
前記参照光は可視光である、請求項2に記載の干渉計測装置。
【請求項8】
前記参照光は近赤外光である、請求項6に記載の干渉計測装置。
【請求項9】
前記分析部は、
前記第2ミラーの複数の回転角度の各々について、前記ビーム位置を測定し、前記第2ミラーの回転角度と前記ビーム位置との関係を示す第1関係式を算出する第1処理と、
前記第2ミラーの複数の回転角度の各々について、前記計測光の干渉光の強度のピークが得られる時点の前記光路長差に対応する時間差を測定し、前記第2ミラーの回転角度と前記時間差との関係を示す第2関係式を算出する第2処理と、
前記第1関係式及び前記第2関係式に基づいて、前記ビーム位置と前記時間差との関係を示す第3関係式を算出する第3処理と、
前記第1検出器により検出された前記干渉光の強度に応じた測定値と、前記ビーム位置と、前記第3関係式と、に基づいて、前記信号波形を取得する第4処理と、を実行する、請求項1に記載の干渉計測装置。
【請求項10】
前記第1ミラーは、前記第1光路の光路長が変化するように駆動可能に構成されており、
前記分析部は、前記第2処理において、前記第2ミラーの回転角度をある角度に固定した状態で前記第1ミラーを駆動させることで前記角度に対応する前記時間差を取得する処理を複数の角度について実行することにより、前記複数の回転角度の各々に対応する前記時間差を測定する、請求項9に記載の干渉計測装置。
(【請求項11】以降は省略されています)
発明の詳細な説明
【技術分野】
【0001】
本開示は、干渉計測装置に関する。
続きを表示(約 2,400 文字)
【背景技術】
【0002】
テラヘルツ波は、光波と電波との中間領域の帯域(周波数1THz前後の帯域)の光であり、薬剤等の分析対象物について他の波長帯域には見られない特有の吸収スペクトルを有することから、分析対象物の同定等への活用が期待されている。テラヘルツ波を用いた分析技術として様々な技術が知られている。
【0003】
テラヘルツ波時間領域分光法(THz-TDS:Terahertz Time Domain Spectroscopy)は、分析対象物で透過、反射又は全反射したテラヘルツ波の時間波形を測定し、この測定によって得られたテラヘルツ波の電界振幅の時間波形をフーリエ変換することにより、分析対象物の分析を行うことができる(非特許文献1)。以下では、これを「従来技術1」という。従来技術1では、テラヘルツ波の時間波形を測定する際にロックインアンプが用いられる。
【0004】
出力波長が可変であるテラヘルツ波光源を用い、分析対象物で透過、反射又は全反射したテラヘルツ波を分光して検出することにより、分析対象物の分析を行うことができる(非特許文献2)。以下では、これを「従来技術2」という。従来技術2では、テラヘルツ波の検出の際に熱型検出器が用いられる。
【0005】
また、フーリエ変換赤外分光法(FTIR:Fourier Transform Infrared Spectroscopy)と同様の測定原理により、テラヘルツ波を用いた干渉計測によるフーリエ分光を行うことでも、分析対象物の分析を行うことができる(非特許文献3)。以下では、これを「従来技術3」という。従来技術3では、テラヘルツ波の干渉の検出の際に熱型検出器が用いられる。
【先行技術文献】
【非特許文献】
【0006】
JensNeu, et al, "Tutorial: An introduction to terahertz time domainspectroscopy (THz-TDS)," J. Appl. Phys. 124, 231101 (2018).
K. Murate,et al, "Perspective: Terahertz wave parametric generator and itsapplications," J. Appl. Phys. 124, 160901 (2018).
MasashiYamaguchi, et al, "Terahertz wave generation in nitrogen gas using shapedoptical pulses," J. Opt. Soc. Am. B, Vol.26, No.9 (2009).
Simon Lehnskov Lange, et al,"Ultrafast THz-driven electron emission from metal metasurfaces," J.Appl. Phys. 128, 070901 (2020).
【発明の概要】
【発明が解決しようとする課題】
【0007】
従来技術1では、テラヘルツ波の時間波形を測定する際に、ロックインアンプによる長い積算時間が必要である。また、従来技術2,3では、応答が遅い熱型検出器が用いられるので測定時間が長い。これら従来技術1~3を含め、テラヘルツ波を用いた従来の分析技術は、測定に長時間を要する。なお、上記の課題は、テラヘルツ領域に近い中赤外領域の計測光を用いる場合にも当てはまる。
【0008】
そこで、本開示の一側面は、中赤外領域又はテラヘルツ領域の計測光を用いた干渉計測を高速且つ好適に行うことができる干渉計測装置を提供することを目的とする。
【課題を解決するための手段】
【0009】
本開示は、以下の[1]~[11]の干渉計測装置を含んでいる。
【0010】
[1]中赤外領域又はテラヘルツ領域の波長範囲に含まれる計測光を出力する光源と、
前記光源から出力された前記計測光を第1分岐光と第2分岐光とに分岐させるビームスプリッタと、前記ビームスプリッタからの前記第1分岐光を第1ミラーで反射させて前記ビームスプリッタに再入射させる第1光路と、前記ビームスプリッタからの前記第2分岐光が第2ミラー及び光学部材をこの順に経由して第3ミラーに向かう往路と前記第2分岐光が前記第3ミラーで反射されて前記光学部材及び前記第2ミラーをこの順に経由して前記ビームスプリッタに戻る復路とによって構成される第2光路と、を有し、前記ビームスプリッタに再入射する前記第1分岐光及び前記第2分岐光を合波する、干渉光学系と、
前記計測光の波長に感度を有し、前記ビームスプリッタにおける前記第1分岐光及び前記第2分岐光の合波により生じる前記計測光の干渉光を検出する第1検出器と、
前記第1検出器により検出された前記干渉光の強度に応じた測定値を前記第1光路と前記第2光路との光路長差に対応付けた信号波形を取得し、取得された前記信号波形に基づいて前記計測光の光路上に配置される分析対象物の分析を行う分析部と、を備え、
前記第2ミラーは、前記第2光路の光路長を変化させるように回転駆動可能に構成されており、
前記光学部材は、前記第2ミラーからの前記第2分岐光を集光又はコリメートし、
前記分析部は、前記第2ミラーの回転に応じて変位する前記第3ミラーにおける光入射位置に対応するビーム位置をモニタし、前記ビーム位置に基づいて前記信号波形を取得する、干渉計測装置。
(【0011】以降は省略されています)
この特許をJ-PlatPat(特許庁公式サイト)で参照する
関連特許
個人
採尿及び採便具
22日前
日本精機株式会社
検出装置
16日前
個人
アクセサリー型テスター
1か月前
個人
計量機能付き容器
11日前
個人
高精度同時多点測定装置
1か月前
甲神電機株式会社
電流検出装置
16日前
株式会社カクマル
境界杭
1日前
株式会社ミツトヨ
測定器
28日前
アズビル株式会社
電磁流量計
1か月前
トヨタ自動車株式会社
監視装置
1か月前
大成建設株式会社
風洞実験装置
11日前
ダイキン工業株式会社
監視装置
1か月前
個人
システム、装置及び実験方法
1か月前
個人
非接触による電磁パルスの測定方法
14日前
日本特殊陶業株式会社
ガスセンサ
9日前
大和製衡株式会社
組合せ計量装置
25日前
長崎県
形状計測方法
1か月前
愛知電機株式会社
軸部材の外観検査装置
25日前
個人
計量具及び計量機能付き容器
11日前
大和製衡株式会社
組合せ計量装置
25日前
日本信号株式会社
距離画像センサ
14日前
TDK株式会社
磁気センサ
1か月前
ローム株式会社
半導体装置
1か月前
愛知時計電機株式会社
ガスメータ
28日前
ローム株式会社
半導体装置
1か月前
双庸電子株式会社
誤配線検査装置
17日前
株式会社不二越
X線測定装置
14日前
トヨタ自動車株式会社
測定システム
1か月前
日本特殊陶業株式会社
センサ
1か月前
多摩川精機株式会社
冗長エンコーダ
1か月前
日本特殊陶業株式会社
センサ
28日前
日本特殊陶業株式会社
センサ
1か月前
三恵技研工業株式会社
融雪レドーム
1か月前
中国電力株式会社
電柱管理システム
1か月前
株式会社デンソー
電流センサ
1か月前
キーコム株式会社
画像作成システム
1日前
続きを見る
他の特許を見る