TOP
|
特許
|
意匠
|
商標
特許ウォッチ
Twitter
他の特許を見る
10個以上の画像は省略されています。
公開番号
2025170199
公報種別
公開特許公報(A)
公開日
2025-11-18
出願番号
2024075018
出願日
2024-05-06
発明の名称
コンデンサモジュール
出願人
株式会社デンソー
代理人
個人
,
個人
主分類
H01G
2/08 20060101AFI20251111BHJP(基本的電気素子)
要約
【課題】構成を簡素化しつつ放熱性を高めることができるコンデンサモジュールを提供すること。
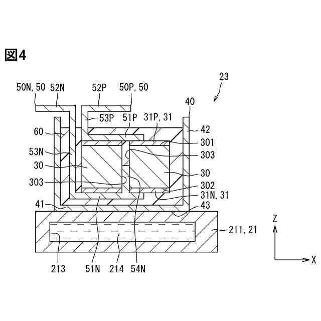
【解決手段】コンデンサモジュール23は、X方向に並ぶ複数のコンデンサ素子30、コンデンサケース40、複数のコンデンサバスバー50、および封止樹脂体60を備えている。複数のコンデンサバスバー50のうち、Nバスバー54は、隣り合うコンデンサ素子30の側面303に介在する介在部54Nを有している。Z方向の任意位置において、側面303間には、ひとつの介在部54Nのみが配置、もしくは、ひとつの介在部54Nと封止樹脂体60の一部分であって介在部54Nよりも薄い部分、が配置されている。
【選択図】図4
特許請求の範囲
【請求項1】
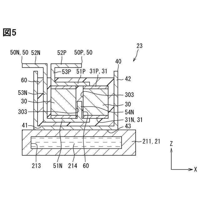
所定方向に並ぶ複数のコンデンサ素子(30)と、
複数の前記コンデンサ素子を収容するコンデンサケース(40)と、
前記コンデンサ素子に電気的に接続された複数のコンデンサバスバー(50)と、
前記コンデンサケース内に配置され、前記コンデンサ素子と複数の前記コンデンサバスバーそれぞれの一部とを封止する封止樹脂体(60)と、
を備え、
複数の前記コンデンサバスバーの少なくともひとつは、隣り合う前記コンデンサ素子の対向面間に介在する介在部(54N,54P)を有し、
前記所定方向に直交する一方向の任意位置において、前記対向面間には、ひとつの前記介在部のみ、もしくは、ひとつの前記介在部と前記封止樹脂体の一部分であって前記介在部よりも薄い部分、が配置されている、コンデンサモジュール。
続きを表示(約 1,400 文字)
【請求項2】
前記一方向は、前記コンデンサ素子の高さ方向であり、
複数のコンデンサ素子は、電極(31)として、一面に形成されたP電極(31P)と、前記一面とは前記高さ方向において反対の面である裏面に形成されたN電極(31N)と、をそれぞれ有し、
複数の前記コンデンサバスバーは、前記P電極に接続されたPバスバー(50P)と、前記N電極に接続されたNバスバー(50N)と、を含み、
前記対向面は、前記一面および前記裏面に連なる側面であり、
前記Pバスバーおよび前記Nバスバーの少なくともひとつが、前記介在部を有している、請求項1に記載のコンデンサモジュール。
【請求項3】
前記コンデンサケースは、冷却器(211)に熱的に接続される冷却面(43)を有し、
前記Pバスバーおよび前記Nバスバーのうち、前記冷却面に対して近い位置に配置されたバスバーが、前記介在部を有している、請求項2に記載のコンデンサモジュール。
【請求項4】
前記コンデンサケースは、前記高さ方向において前記P電極または前記N電極に対向する底壁に、前記冷却面を有しており、
前記介在部を有するバスバーは、前記底壁に対向する前記電極に接続された電極接続部(51N)を有し、
前記介在部は、前記電極接続部に連なり、前記高さ方向に延びて前記側面間に介在している、請求項3に記載のコンデンサモジュール。
【請求項5】
前記電極接続部と前記介在部とは連続して一体的に設けられており、
前記介在部は、前記電極接続部に対して折曲されている、請求項4に記載のコンデンサモジュール。
【請求項6】
前記介在部を有するバスバーは、前記電極接続部を含む第1板材(56)と前記介在部を含む第2板材(57)とを接合してなる、請求項4に記載のコンデンサモジュール。
【請求項7】
前記Pバスバーおよび前記Nバスバーは、いずれも前記介在部を有しており、
前記Pバスバーの前記介在部であるP介在部と前記Nバスバーの前記介在部であるN介在部とは、前記所定方向において重ならないように、前記高さ方向において異なる位置に配置されている、請求項2に記載のコンデンサモジュール。
【請求項8】
前記コンデンサケースは、冷却器(211)に熱的に接続される冷却面(43)を有し、
前記Pバスバーおよび前記Nバスバーのうち、前記冷却面に近い第1バスバーの前記介在部のほうが、前記第1バスバーよりも前記冷却面に対して遠い第2バスバーの前記介在部よりも、前記高さ方向の長さが長い、請求項7に記載のコンデンサモジュール。
【請求項9】
複数の前記コンデンサ素子は、前記高さ方向に直交する第1方向に並ぶとともに、前記高さ方向および前記第1方向の両方向に直交する第2方向に並ぶように、マトリクス状に配置されており、
前記P介在部は、前記第1方向において隣り合う前記コンデンサ素子の対向面間に介在し、
前記N介在部は、前記第2方向において隣り合う前記コンデンサ素子の対向面間に介在している、請求項7に記載のコンデンサモジュール。
【請求項10】
前記P介在部と前記N介在部とは、前記高さ方向の平面視において十字状をなすように配置されている、請求項9に記載のコンデンサモジュール。
(【請求項11】以降は省略されています)
発明の詳細な説明
【技術分野】
【0001】
この明細書における開示は、コンデンサモジュールに関する。
続きを表示(約 2,000 文字)
【背景技術】
【0002】
特許文献1は、コンデンサアの冷却構造を開示している。先行技術文献の記載内容は、この明細書における技術的要素の説明として、参照により援用される。
【先行技術文献】
【特許文献】
【0003】
特開2022-178839号公報
【発明の概要】
【発明が解決しようとする課題】
【0004】
特許文献1に例示されるように、所定方向に並ぶ複数のコンデンサ素子は、通常、コンデンサケースに収容された状態で、ポッティング材などの封止樹脂体により封止される。封止樹脂体により封止され、複数のコンデンサ素子が並ぶ配置において、コンデンサ素子の内部には熱がこもりやすい。特にコンデンサ素子中心の熱を逃がしにくい。特許文献1では、隣り合うコンデンサ素子の間に冷却板を配置している。このため、部品点数が増加、つまり構成が複雑化してしまう。上述の観点において、または言及されていない他の観点において、コンデンサモジュールにはさらなる改良が求められている。
【0005】
本開示の目的のひとつは、構成を簡素化しつつ放熱性を高めることができるコンデンサモジュールを提供することである。
【課題を解決するための手段】
【0006】
開示のひとつの態様であるコンデンサモジュールは、
所定方向に並ぶ複数のコンデンサ素子(30)と、
複数のコンデンサ素子を収容するコンデンサケース(40)と、
コンデンサ素子に電気的に接続された複数のコンデンサバスバー(50)と、
コンデンサケース内に配置され、コンデンサ素子と複数のコンデンサバスバーそれぞれの一部とを封止する封止樹脂体(60)と、
を備え、
複数のコンデンサバスバーの少なくともひとつは、隣り合うコンデンサ素子の対向面間に介在する介在部(54N,54P)を有し、
所定方向に直交する一方向の任意位置において、対向面間には、ひとつの介在部のみ、もしくは、ひとつの介在部と封止樹脂体の一部分であって介在部よりも薄い部分、が配置されている。
【0007】
開示のコンデンサモジュールによれば、隣り合うコンデンサ素子の対向面間にコンデンサバスバーの介在部が配置されている。これによりコンデンサ素子の生じる熱を、コンデンサバスバーを通じて放熱することができる。所定方向に直交する一方向の任意位置において、対向面間には、ひとつの介在部のみ、もしくは、ひとつの介在部と封止樹脂体が存在する。つまり任意位置において、ひとつのコンデンサバスバーのみ、もしくは、ひとつのコンデンサバスバーと封止樹脂体が配置されている。よって、構成を簡素化しつつ放熱性を高めることができる。
【0008】
この明細書における開示された複数の態様は、それぞれの目的を達成するために、互いに異なる技術的手段を採用する。請求の範囲に記載した括弧内の符号は、後述する実施形態の部分との対応関係を例示的に示すものであって、技術的範囲を限定することを意図するものではない。この明細書に開示される目的、特徴、および効果は、後続の詳細な説明、および添付の図面を参照することによってより明確になる。
【図面の簡単な説明】
【0009】
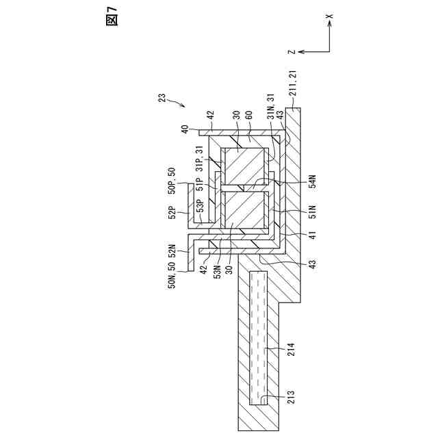
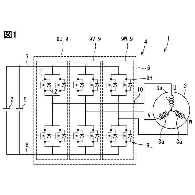
第1実施形態に係るコンデンサモジュールが適用される電力変換回路および駆動システムを示す図である。
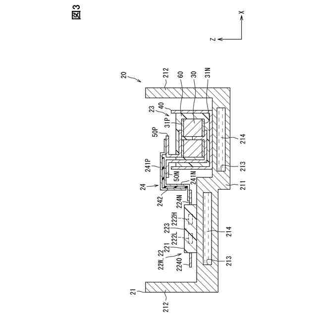
電力変換装置を示す平面図である。
図2のIII-III線に沿う断面図である。
コンデンサモジュールを示す断面図である。
変形例を示す断面図である。
変形例を示す断面図である。
第2実施形態に係るコンデンサモジュールを示す断面図である。
第3実施形態に係るコンデンサモジュールにおいて、介在部を有するバスバーの構造を示す平面図である。
図8のIX-IX線に沿う断面図である。
変形例を示す断面図である。
第4実施形態に係るコンデンサモジュールを示す断面図である。
変形例を示す平面図である。
【発明を実施するための形態】
【0010】
以下、図面に基づいて複数の実施形態を説明する。なお、各実施形態において対応する構成要素には同一の符号を付すことにより、重複する説明を省略する場合がある。各実施形態において構成の一部分のみを説明している場合、当該構成の他の部分については、先行して説明した他の実施形態の構成を適用することができる。また、各実施形態の説明において明示している構成の組み合わせばかりではなく、特に組み合わせに支障が生じなければ、明示していなくても複数の実施形態の構成同士を部分的に組み合せることができる。
(【0011】以降は省略されています)
この特許をJ-PlatPat(特許庁公式サイト)で参照する
関連特許
株式会社デンソーウェーブ
筐体
1か月前
株式会社デンソー
回転機
1か月前
株式会社デンソー
電動弁
13日前
株式会社デンソー
制御装置
15日前
株式会社デンソー
電子装置
13日前
株式会社デンソー
撮像装置
12日前
株式会社デンソー
撮像装置
12日前
株式会社デンソー
電解装置
14日前
株式会社デンソー
電子装置
1か月前
株式会社デンソー
電子装置
1か月前
株式会社デンソー
検出装置
1か月前
株式会社デンソー
電気回路
7日前
株式会社デンソー
摺動機構
12日前
株式会社デンソー
電子装置
23日前
株式会社デンソー
摺動機構
12日前
株式会社デンソー
ステータ
1か月前
株式会社デンソー
熱交換器
12日前
株式会社デンソー
ステータ
1か月前
株式会社デンソー
反力装置
1か月前
株式会社デンソー
電流センサ
1か月前
株式会社デンソー
半導体装置
29日前
株式会社デンソー
レーダ装置
1か月前
株式会社デンソー
熱交換装置
27日前
株式会社デンソーテン
インバータ
1か月前
株式会社デンソー
半導体装置
12日前
株式会社デンソー
半導体装置
14日前
株式会社デンソー
センサ装置
20日前
株式会社デンソー
農業用装置
1か月前
株式会社デンソー
センサ装置
20日前
株式会社デンソー
半導体装置
22日前
株式会社デンソートリム
鞍乗り車両
21日前
株式会社デンソー
ヒータ装置
21日前
株式会社デンソー
熱交換部材
14日前
株式会社デンソー
電力変換装置
27日前
株式会社デンソー
電圧検出回路
27日前
株式会社デンソー
圧電デバイス
20日前
続きを見る
他の特許を見る