TOP
|
特許
|
意匠
|
商標
特許ウォッチ
Twitter
他の特許を見る
10個以上の画像は省略されています。
公開番号
2025164538
公報種別
公開特許公報(A)
公開日
2025-10-30
出願番号
2024068567
出願日
2024-04-19
発明の名称
圧電デバイス
出願人
株式会社デンソー
,
トヨタ自動車株式会社
,
株式会社ミライズテクノロジーズ
,
日清紡マイクロデバイス株式会社
代理人
弁理士法人ゆうあい特許事務所
主分類
H04R
17/00 20060101AFI20251023BHJP(電気通信技術)
要約
【課題】片持ち梁状の梁状部の振動を阻害する湾曲を抑制することができる圧電デバイスを提供する。
【解決手段】梁状部32は凹凸構造部36を有し、その凹凸構造部36は複数の第1凹凸部37と複数の第2凹凸部38とを有している。その第1凹凸部37には、梁状部32の一面32cに設けられた第1の凹形状371と、梁状部32の他面32dのうち第1の凹形状371に対し指向軸方向Daの他方側に重なる部位に設けられた第1の凸形状372とが形成されている。一方、第2凹凸部38には、梁状部32の一面32cに設けられた第2の凸形状381と、梁状部32の他面32dのうち第2の凸形状381に対し指向軸方向Daの他方側に重なる部位に設けられた第2の凹形状382とが形成されている。そして、第1、第2の凹形状371、382と第1、第2の凸形状372、381はそれぞれ、第2方向D2へ直線的に延伸している。
【選択図】図7
特許請求の範囲
【請求項1】
マイクロフォンまたはスピーカーとして機能する圧電デバイスであって、
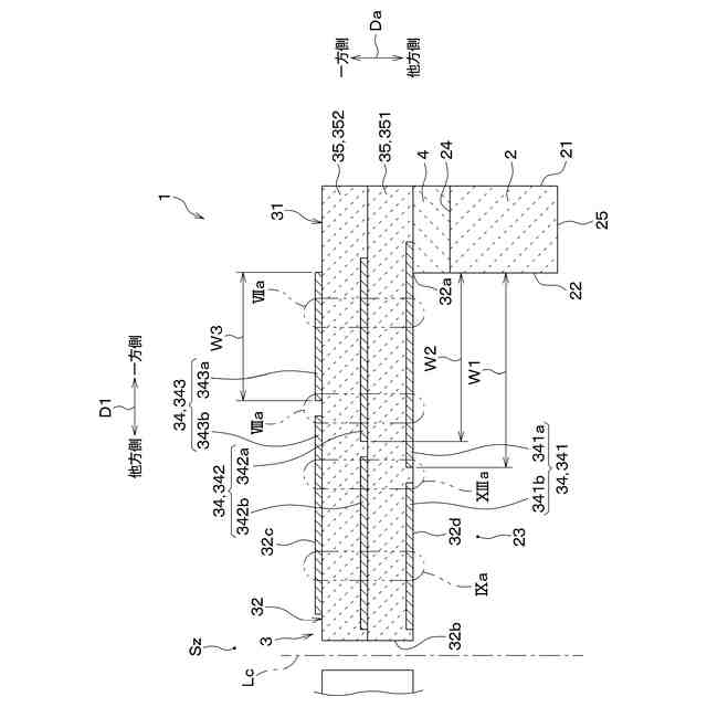
圧電材料によって構成された圧電層(35、351、352)を含み、指向軸(Lc)の軸方向(Da)に直交する板状に形成され、前記軸方向に垂直な第1方向(D1)の一方側に設けられた固定端部(32a)と前記第1方向の他方側に設けられた自由端部(32b)と前記軸方向の一方側に形成された一面(32c)と前記軸方向の他方側に形成された他面(32d)とを有し、前記自由端部が前記固定端部に対し前記軸方向に往復変位可能な片持ち梁状に構成された梁状部(32)と、
前記固定端部が固定され該固定端部を支持する支持部(2)とを備え、
前記梁状部は、第1凹凸部(37)と第2凹凸部(38)との少なくとも何れかから構成された凹凸構造部(36、361、362、363)を有し、
前記第1凹凸部には、前記軸方向と前記第1方向とに垂直な第2方向(D2)へ直線的に延伸し前記一面に設けられた第1の凹形状(371)と、前記他面のうち前記第1の凹形状に対し前記軸方向の前記他方側に重なる部位に設けられ前記第2方向へ直線的に延伸した第1の凸形状(372)とが形成され、
前記第2凹凸部には、前記第2方向へ直線的に延伸し前記一面に設けられた第2の凸形状(381)と、前記他面のうち前記第2の凸形状に対し前記軸方向の前記他方側に重なる部位に設けられ前記第2方向へ直線的に延伸した第2の凹形状(382)とが形成されている、圧電デバイス。
続きを表示(約 1,500 文字)
【請求項2】
前記一面からの前記第1の凹形状の凹み量(H1)と、前記他面からの前記第2の凹形状の凹み量(H2)はそれぞれ、前記軸方向における前記梁状部の板厚(tb)の半分未満である、請求項1に記載の圧電デバイス。
【請求項3】
前記梁状部は、外部へつながる配線(5)に電気的に接続され前記圧電層に対し互いに異なる層に積層された複数のセンサ電極(341a、342a、343a)を有し、
前記凹凸構造部は、前記梁状部のうち、前記センサ電極が前記第1方向に占める前記センサ電極毎の範囲(W1、W2、W3)が全て重複する重複範囲内に配置されている、請求項1または2に記載の圧電デバイス。
【請求項4】
前記梁状部は、前記第1方向の前記一方側ほど前記第2方向に拡幅するように形成され、
前記梁状部は、導電性材料によって構成され前記圧電層に対して積層された電極層(34、341、342、343)を含み、
前記電極層は、外部へつながる配線(5)に電気的に接続されたセンサ電極(341a、342a、343a)と、前記配線から離れると共に前記センサ電極に対し前記第1方向の前記他方側に離れて配置された浮遊電極(341b、342b、343b)とを有し、
前記凹凸構造部は、前記梁状部のうち、前記センサ電極が前記第1方向に占める範囲(W1、W2、W3)内にのみ配置されている、請求項1または2に記載の圧電デバイス。
【請求項5】
前記梁状部は、前記第1方向の前記一方側ほど前記第2方向に拡幅するように形成され、
前記梁状部は、導電性材料によって構成され前記圧電層に対して積層された電極層(34、341、342、343)を含み、
前記電極層は、外部へつながる配線(5)に電気的に接続されたセンサ電極(341a、342a、343a)と、前記配線から離れると共に前記センサ電極に対し前記第1方向の前記他方側に離れて配置された浮遊電極(341b、342b、343b)とを有し、
前記凹凸構造部は、前記梁状部のうち前記センサ電極と前記浮遊電極との間に配置されている、請求項1または2に記載の圧電デバイス。
【請求項6】
前記圧電層は2層以上設けられ、
前記梁状部は、導電性材料によって構成された3層以上の電極層(34)を含み、
前記電極層と前記圧電層は前記軸方向へ交互に積層されている、請求項1または2に記載の圧電デバイス。
【請求項7】
前記支持部は、前記梁状部に対し前記軸方向の前記他方側に配置され、
前記梁状部は、導電性材料によって構成され前記圧電層に対して積層され前記他面を形成する電極層(341)を含み、
前記電極層は、外部へつながる配線(5)に電気的に接続されたセンサ電極(341a)と、前記配線から離れると共に前記センサ電極に対し前記第1方向の前記他方側に離れて配置された浮遊電極(341b)とを有し、
前記凹凸構造部(362)は、前記第2凹凸部を有さずに前記第1凹凸部を有し、前記梁状部のうち前記センサ電極と前記浮遊電極との間に配置されている、請求項1または2に記載の圧電デバイス。
【請求項8】
前記凹凸構造部は、前記第2方向に直交する断面において均一な厚み(tw)を有するように形成されている、請求項1または2に記載の圧電デバイス。
【請求項9】
前記圧電材料は、AlN、ScAlN、ZnO、PZT、KLN、KNN、BaTiO
3
のうちの何れかである、請求項1または2に記載の圧電デバイス。
発明の詳細な説明
【技術分野】
【0001】
本開示は、マイクロフォンまたはスピーカーとして機能する圧電デバイスに関するものである。
続きを表示(約 1,900 文字)
【背景技術】
【0002】
片持ち梁構造の圧電MEMSマイクロフォンでは、片持ち梁状に支持されると共に板状に形成され圧電層を有する梁状部が音波または超音波を受けることによって振動する。そして、その梁状部の振動が電気信号に変換される。MEMSは、Micro Electro Mechanical Systemsの略である。
【0003】
このような片持ち梁構造の圧電MEMSマイクロフォンでは、板状に形成された梁状部の厚み方向の応力分布によりその梁状部に湾曲が発生する場合がある。その梁状部の湾曲は、梁状部の固定端部から自由端部に延びる梁延設方向と厚み方向とに沿う断面だけでなく、その梁延設方向に直交する横断面にも表れるように発生する。特に、その横断面に表れる梁状部の湾曲は梁状部の振動を阻害し、結果として、マイクロフォンの感度を低下させる要因となる。
【0004】
これに対し、特許文献1では、圧電MEMSマイクロフォンの梁状部を厚み方向に層状に分割し、これにより梁状部における応力分布を調整する方法が提案されている。
【先行技術文献】
【特許文献】
【0005】
米国特許出願公開第2022/0199893号明細書
【発明の概要】
【発明が解決しようとする課題】
【0006】
特許文献1で提案された方法によって梁状部における応力分布を調整したとしても、梁状部の各層の成膜における応力分布の面内ばらつきやロット間での応力分布のばらつきにより、梁状部の湾曲を抑制するのは難しい。発明者らの詳細な検討の結果、以上のようなことが見出された。
【0007】
本開示は上記点に鑑みて、片持ち梁状の梁状部の振動を阻害しないようにしつつ、上記横断面に表れる梁状部の湾曲を抑制することができる圧電デバイスを提供することを目的とする。
【課題を解決するための手段】
【0008】
上記目的を達成するため、本開示の1つの観点による圧電デバイスは、
マイクロフォンまたはスピーカーとして機能する圧電デバイスであって、
圧電材料によって構成された圧電層(35、351、352)を含み、指向軸(Lc)の軸方向(Da)に直交する板状に形成され、軸方向に垂直な第1方向(D1)の一方側に設けられた固定端部(32a)と第1方向の他方側に設けられた自由端部(32b)と軸方向の一方側に形成された一面(32c)と軸方向の他方側に形成された他面(32d)とを有し、自由端部が固定端部に対し軸方向に往復変位可能な片持ち梁状に構成された梁状部(32)と、
固定端部が固定されその固定端部を支持する支持部(2)とを備え、
梁状部は、第1凹凸部(37)と第2凹凸部(38)との少なくとも何れかから構成された凹凸構造部(36、361、362、363)を有し、
第1凹凸部には、軸方向と第1方向とに垂直な第2方向(D2)へ直線的に延伸し一面に設けられた第1の凹形状(371)と、他面のうち第1の凹形状に対し軸方向の他方側に重なる部位に設けられ第2方向へ直線的に延伸した第1の凸形状(372)とが形成され、
第2凹凸部には、第2方向へ直線的に延伸し一面に設けられた第2の凸形状(381)と、他面のうち第2の凸形状に対し軸方向の他方側に重なる部位に設けられ第2方向へ直線的に延伸した第2の凹形状(382)とが形成されている。
【0009】
このようにすれば、梁状部に凹凸構造部が設けられることにより、上記第2方向に垂直な断面に表れる梁状部の湾曲に対し梁状部の曲げ剛性は高まらないが、上記第1方向に垂直な断面に表れる梁状部の湾曲に対し梁状部の曲げ剛性が高くなる。そのため、梁状部の振動を阻害しないようにしつつ、上記第1方向に垂直な断面に表れる梁状部の湾曲を、例えば凹凸構造部が無く梁状部の全体が平板状である場合に比べて抑制することができる。なお、上記第1方向に垂直な断面は上記横断面に対応する。
【0010】
なお、出願書類中の各欄において、各要素に括弧付きの参照符号が付されている場合がある。この場合、参照符号は、同要素と後述する実施形態に記載の具体的構成との対応関係の単なる一例を示すものであるにすぎない。よって、本開示は、その参照符号の記載によって、何ら限定されるものではない。
【図面の簡単な説明】
(【0011】以降は省略されています)
この特許をJ-PlatPat(特許庁公式サイト)で参照する
関連特許
株式会社デンソーウェーブ
筐体
1か月前
株式会社デンソー
分離体
1日前
株式会社デンソー
電動弁
15日前
株式会社デンソー
回転機
1か月前
株式会社デンソー
車載器
1か月前
株式会社デンソー
熱交換器
14日前
株式会社デンソー
電気回路
9日前
株式会社デンソー
電子装置
25日前
株式会社デンソー
検出装置
1か月前
株式会社デンソー
ステータ
1か月前
株式会社デンソー
ステータ
1か月前
株式会社デンソー
撮像装置
14日前
株式会社デンソー
撮像装置
14日前
株式会社デンソー
摺動機構
14日前
株式会社デンソー
摺動機構
14日前
株式会社デンソー
光学部材
1日前
株式会社デンソー
電子装置
15日前
株式会社デンソー
反力装置
1か月前
株式会社デンソー
電子装置
1か月前
株式会社デンソー
電子装置
1か月前
株式会社デンソー
ねじ部材
1か月前
株式会社デンソー
電解装置
16日前
株式会社デンソー
制御装置
17日前
株式会社デンソー
光学部材
1日前
株式会社デンソー
センサ装置
22日前
株式会社デンソー
ヒータ装置
23日前
株式会社デンソー
半導体装置
14日前
株式会社デンソー
半導体装置
24日前
株式会社デンソー
センサ装置
22日前
株式会社デンソー
半導体装置
16日前
株式会社デンソートリム
鞍乗り車両
23日前
株式会社デンソー
熱交換部材
16日前
株式会社デンソー
半導体装置
1か月前
株式会社デンソー
熱交換装置
29日前
株式会社デンソー
半導体装置
1か月前
株式会社デンソー
農業用装置
1か月前
続きを見る
他の特許を見る