TOP
|
特許
|
意匠
|
商標
特許ウォッチ
Twitter
他の特許を見る
10個以上の画像は省略されています。
公開番号
2025168715
公報種別
公開特許公報(A)
公開日
2025-11-12
出願番号
2024073385
出願日
2024-04-30
発明の名称
湿度変動発電素子
出願人
国立研究開発法人産業技術総合研究所
代理人
主分類
H01M
14/00 20060101AFI20251105BHJP(基本的電気素子)
要約
【課題】環境に対する動作安定性の高い湿度変動発電素子の提供。
【解決手段】環境中の湿度変動を利用して起電力を得る湿度変動発電素子である。イオン透過膜を挟んだ両側のそれぞれには、電極とともに潮解性を有するイオン性化合物の水溶液からなる水系電解液を収容させており、イオン透過膜の一方の側では、イオン透過膜の上に水蒸気を透過させる防水透湿膜で水系電解液を収容させ、イオン透過膜の他方の側では、イオン透過膜の上に少なくとも環境中の水分と遮断する防水防湿膜/壁によって水系電解液を収容させ、防水透湿膜は可撓性を有し水系電解液の表面に沿って与えられている。
【選択図】図2
特許請求の範囲
【請求項1】
環境中の湿度変動を利用して起電力を得る湿度変動発電素子であって、
イオン透過膜を挟んだ両側のそれぞれには、電極とともに潮解性を有するイオン性化合物の水溶液からなる水系電解液を収容させており、
前記イオン透過膜の一方の側では、前記イオン透過膜の上に水蒸気を透過させる防水透湿膜で前記水系電解液を収容させ、
前記イオン透過膜の他方の側では、前記イオン透過膜の上に少なくとも前記環境中の水分と遮断する防水防湿膜/壁によって前記水系電解液を収容させ、前記防水透湿膜は可撓性を有し前記水系電解液の表面に沿って与えられていることを特徴とする湿度変動発電素子。
続きを表示(約 730 文字)
【請求項2】
前記防水防湿膜/壁からなる有底管体である筐体の開口端部を前記防水透湿膜で閉塞し、形成される内部空間の底部側と前記開口端部側とを前記イオン透過膜で隔て、前記底部側を前記水系電解液で満たすとともに、前記開口端部側にも前記水系電解液を収容させることを特徴とする請求項1記載の湿度変動発電素子。
【請求項3】
前記防水透湿膜は多孔質フッ素樹脂からなることを特徴とする請求項2記載の湿度変動発電素子。
【請求項4】
前記防水透湿膜は前記水系電解液とのぬれ性を高める皮膜を前記水系電解液と接する側に与えられていることを特徴とする請求項1乃至3のうちの1つに記載の湿度変動発電素子。
【請求項5】
前記水系電解液は前記防水透湿膜とのぬれ性を高める界面活性剤を含むことを特徴とする請求項1記載の湿度変動発電素子。
【請求項6】
前記電極は銀/塩化銀からなり、前記水系電解液は塩化物水溶液であることを特徴とする請求項1記載の湿度変動発電素子。
【請求項7】
前記電極は銀/塩化銀の層と、銀/塩化銀に樹脂を混合した層との複層とされていることを特徴とする請求項6記載の湿度変動発電素子。
【請求項8】
前記防水透湿膜は紫外線の透過を減じる皮膜を与えられていることを特徴とする請求項6記載の湿度変動発電素子。
【請求項9】
前記水系電解液は塩化銀の分解を抑制する減感剤を含むことを特徴とする請求項6記載の湿度変動発電素子。
【請求項10】
前記減感剤はフェノサフラニンからなることを特徴とする請求項9記載の湿度変動発電素子。
発明の詳細な説明
【技術分野】
【0001】
本発明は、環境中の湿度変動により発電する湿度変動発電素子に関する。
続きを表示(約 1,500 文字)
【背景技術】
【0002】
湿度変動電池などの湿度変動発電素子は、環境中の湿度変動を利用しその場にて発電をでき送電のための結線を省略できることから、例えば、IoT向け小型センサの電源として、長期間に亘ってメインテナンスフリーで動作することが期待される。その一方で、湿度変動発電素子からの出力電圧が経時的に低下するといった傾向が観察された。
【0003】
例えば、特許文献1では、フッ素系樹脂からなるイオン透過膜を挟んだ両側に、電極とともに潮解性を有するイオン性化合物の水溶液であって水溶性高分子を含む水系電解液を与え、一方の第1の側を環境中に開放し、他方の第2の側をイオン透過膜の上で環境中と遮断した構造の湿度変動電池を開示している。ここで、水溶性高分子を含む水系電解液は、イオン透過膜を介した水の透過を抑制させ、出力電圧の経時的な低下を減じるとしている。
【先行技術文献】
【特許文献】
【0004】
特開2023-45541号公報
【発明の概要】
【発明が解決しようとする課題】
【0005】
上記したように、湿度変動発電素子を長期間に亘ってメインテナンスフリーで動作させるには、環境に対してより安定性を有することが必要とされる。
【0006】
本発明は、上記したような状況に鑑みてなされたものであって、その目的とするところは、環境に対する動作安定性の高い湿度変動発電素子を提供することにある。
【課題を解決するための手段】
【0007】
本発明は、環境中の湿度変動を利用して起電力を得る湿度変動発電素子であって、
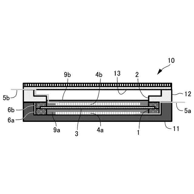
イオン透過膜を挟んだ両側のそれぞれには、電極とともに潮解性を有するイオン性化合物の水溶液からなる水系電解液を収容させており、前記イオン透過膜の一方の側では、前記イオン透過膜の上に水蒸気を透過させる防水透湿膜で前記水系電解液を収容させ、前記イオン透過膜の他方の側では、前記イオン透過膜の上に少なくとも前記環境中の水分と遮断する防水防湿膜/壁によって前記水系電解液を収容させ、前記防水透湿膜は可撓性を有し前記水系電解液の表面に沿って与えられていることを特徴とする。
【0008】
かかる特徴によれば、防水透湿膜の吸湿及び放湿の速度を高めつつその動作安定性を高めることができて、環境に対する動作安定性をより高め得るのである。
【0009】
上記した発明において、前記防水防湿膜/壁からなる有底管体である筐体の開口端部を前記防水透湿膜で閉塞し、形成される内部空間の底部側と前記開口端部側とを前記イオン透過膜で隔て、前記底部側を前記水系電解液で満たすとともに、前記開口端部側にも前記水系電解液を収容させることを特徴としてもよい。かかる特徴によれば、防水透湿膜の吸湿及び放湿の速度をより高めつつもその動作安定性を高めることができて、環境に対する動作安定性をもより高め得るのである。
【0010】
上記した発明において、前記防水透湿膜は多孔質フッ素樹脂からなることを特徴としてもよい。更に、前記防水透湿膜は前記水系電解液とのぬれ性を高める皮膜を前記水系電解液と接する側に与えられていることを特徴としてもよい。また、前記水系電解液は前記防水透湿膜とのぬれ性を高める界面活性剤を含むことを特徴としてもよい。かかる特徴によれば、防水透湿膜の吸湿及び放湿の速度を高めつつもその動作安定性を高めることができて、環境に対する動作安定性をもより高め得るのである。
(【0011】以降は省略されています)
この特許をJ-PlatPat(特許庁公式サイト)で参照する
関連特許
東ソー株式会社
絶縁電線
1か月前
APB株式会社
蓄電セル
29日前
個人
フレキシブル電気化学素子
1か月前
株式会社ユーシン
操作装置
1か月前
日新イオン機器株式会社
イオン源
1か月前
株式会社東芝
端子台
23日前
マクセル株式会社
電源装置
23日前
ローム株式会社
半導体装置
1か月前
ローム株式会社
半導体装置
1か月前
株式会社ホロン
冷陰極電子源
1か月前
株式会社GSユアサ
蓄電装置
2日前
オムロン株式会社
電磁継電器
1か月前
富士電機株式会社
電磁接触器
2日前
太陽誘電株式会社
コイル部品
1か月前
株式会社GSユアサ
蓄電設備
1か月前
株式会社GSユアサ
蓄電装置
16日前
三菱電機株式会社
回路遮断器
10日前
株式会社GSユアサ
蓄電設備
1か月前
株式会社GSユアサ
蓄電装置
24日前
株式会社GSユアサ
蓄電装置
24日前
北道電設株式会社
配電具カバー
29日前
トヨタ自動車株式会社
冷却構造
1か月前
トヨタ自動車株式会社
バッテリ
29日前
ノリタケ株式会社
熱伝導シート
1か月前
トヨタ自動車株式会社
蓄電装置
24日前
トヨタ自動車株式会社
蓄電装置
1か月前
サクサ株式会社
電池の固定構造
1か月前
日新イオン機器株式会社
基板処理装置
26日前
日本特殊陶業株式会社
保持装置
15日前
トヨタ自動車株式会社
バッテリ
1か月前
日本特殊陶業株式会社
保持装置
1か月前
日東電工株式会社
積層体
1か月前
日本製紙株式会社
導電性フィルム
1か月前
甲神電機株式会社
変流器及び零相変流器
17日前
矢崎総業株式会社
コネクタ
2日前
日本製紙株式会社
導電性フィルム
1か月前
続きを見る
他の特許を見る