TOP
|
特許
|
意匠
|
商標
特許ウォッチ
Twitter
他の特許を見る
10個以上の画像は省略されています。
公開番号
2025168801
公報種別
公開特許公報(A)
公開日
2025-11-12
出願番号
2024073564
出願日
2024-04-30
発明の名称
金属化フィルムコンデンサ
出願人
ニチコン株式会社
代理人
個人
主分類
H01G
4/32 20060101AFI20251105BHJP(基本的電気素子)
要約
【課題】複数の分割電極からなる分割電極部を備える金属化フィルムコンデンサにおいて、絶縁破壊時に安定した自己回復機能や保安機能を発揮できるようにする。
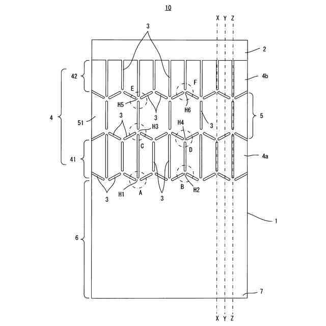
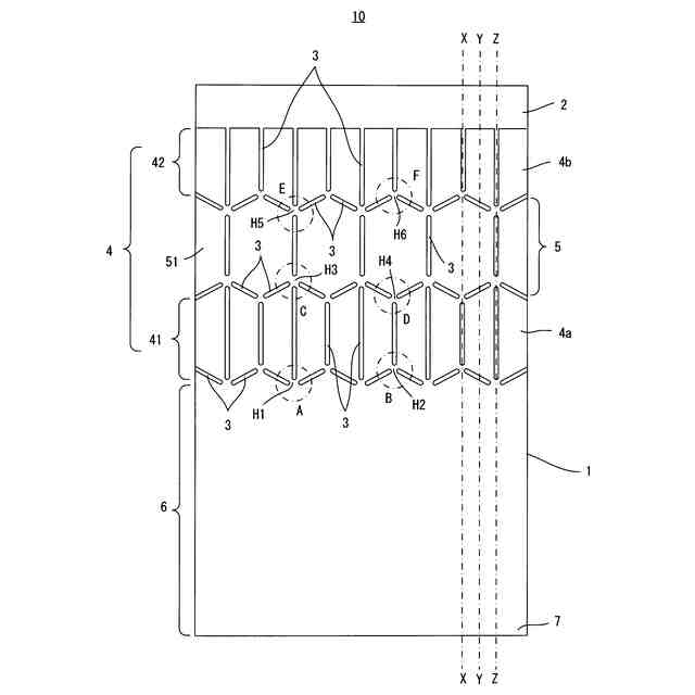
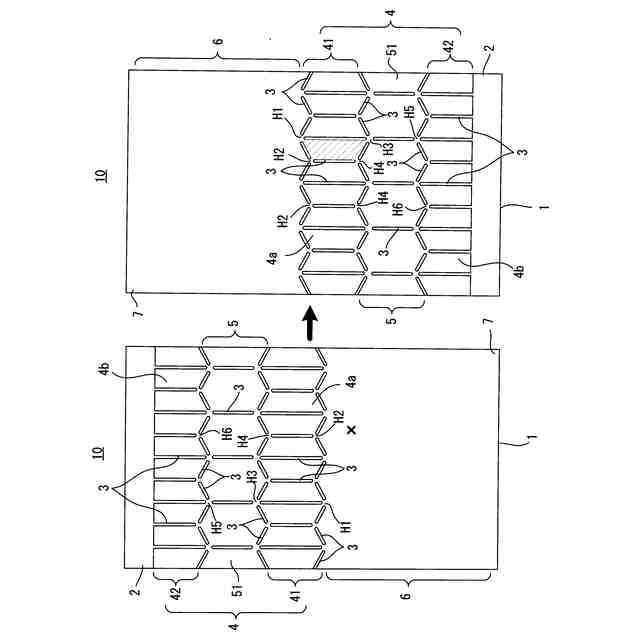
【解決手段】隣接する2つの第1の小分割電極4aを頂点において共有するヒューズ部H1,H2により互いに電気的に接続するとともに、当該ヒューズ部H1,H2を大電極部である非分割電極部6と電気的に接続する。さらに、隣接する2つの第1の小分割電極4aを頂点において共有するヒューズ部H3,H4およびヒューズ部H5,H6により互いに電気的に接続するとともに、当該ヒューズ部H3,H4およびヒューズ部H5,H6を大電極部である大分割電極部5の大分割電極51と電気的に接続する。
【選択図】図1
特許請求の範囲
【請求項1】
誘電体フィルムのフィルム面上に形成される金属蒸着電極が、非蒸着の絶縁スリットにより前記誘電体フィルムの長手方向に分割された複数の分割電極からなる分割電極部と、前記分割電極よりも電極面積が大きい大電極部とに区画され、
前記分割電極部と前記大電極部とが前記誘電体フィルムの幅方向に交互に配置され、
前記複数の分割電極は、それぞれ多角形状からなり、
前記複数の分割電極のうち前記長手方向に隣接する2つの分割電極は、その頂点において互いに電気的に接続されるようにヒューズ部を共有するとともに、当該ヒューズ部が前記大電極部と電気的に接続されていることを特徴とする金属化フィルムコンデンサ。
続きを表示(約 800 文字)
【請求項2】
前記分割電極部を複数の小分割電極からなる小分割電極部としたとき、
前記大電極部は、非蒸着の絶縁スリットにより分割され、前記小分割電極よりも電極面積が大きい複数の大分割電極からなる大分割電極部を含み、
前記複数の小分割電極のうち前記長手方向に隣接する2つの小分割電極は、その頂点において互いに電気的に接続されるように第1のヒューズ部を共有するとともに、当該第1のヒューズ部が前記大分割電極と電気的に接続されていることを特徴とする請求項1に記載の金属化フィルムコンデンサ。
【請求項3】
前記小分割電極に対する前記大分割電極の電極面積比率が2以上であることを特徴とする請求項2に記載の金属化フィルムコンデンサ。
【請求項4】
前記分割電極部を複数の小分割電極からなる小分割電極部としたとき、
前記大電極部は、金属蒸着電極が、非蒸着の絶縁スリットにより前記誘電体フィルムの長手方向に分割されていない非分割電極部を含み、
前記複数の小分割電極のうち前記長手方向に隣接する2つの小分割電極は、その頂点において互いに電気的に接続されるように第2のヒューズ部を共有するとともに、当該第2のヒューズ部が前記非分割電極部と電気的に接続されていることを特徴とする請求項2または3に記載の金属化フィルムコンデンサ。
【請求項5】
前記分割電極部として、複数の第1の小分割電極からなる第1小分割電極部と、複数の第2の小分割電極からなる第2小分割電極部を有し、
前記非分割電極部が外部電極と接続される引出し電極と電気的に接続され、
前記誘電体フィルムの幅方向に、前記非分割電極部、前記第1小分割電極部、前記大分割電極部、前記第2小分割電極部の順に配列していることを特徴とする請求項4に記載の金属化フィルムコンデンサ。
発明の詳細な説明
【技術分野】
【0001】
本発明は、誘電体フィルムのフィルム面上に形成される金属蒸着電極が、非蒸着の絶縁スリットにより誘電体フィルムの長手方向に分割された複数の分割電極からなる分割電極部を備える金属化フィルムコンデンサに関する。
続きを表示(約 1,800 文字)
【背景技術】
【0002】
近年の電気自動車の普及に伴い、誘電体フィルムのフィルム面上に金属蒸着電極を形成した金属化フィルムコンデンサが、自動車用のインバータ回路の平滑用やフィルタ用に使用されている。その他にも、産業機器用のインバータ回路の平滑用やフィルタ用に金属化フィルムコンデンサが使用されている。
【0003】
この種の金属化フィルムコンデンサの特徴として、絶縁破壊を起こしたときに、その放電エネルギにより絶縁破壊部周辺の蒸着金属が飛散して飛散部分の絶縁が回復する自己回復機能を有することが知られている。また、金属化フィルムコンデンサの長寿命化や保安性向上の手法として、金属蒸着電極を非蒸着のスリットにより分割して複数の分割電極を形成し、分割電極間を蒸着金属のヒューズ部により接続し、絶縁破壊が生じたときにヒューズ部の溶断により絶縁を回復して保安機能を発揮できるようにすることが行われている。
【0004】
この種の金属化フィルムコンデンサとして、特許文献1に記載のものがある。特許文献1に記載の金属化フィルムコンデンサは、誘電体フィルムに形成された蒸着金属層に、複数の非蒸着スリットによって細分化した多角形状を有する複数の分割電極を形成し、各分割電極を蒸着金属のヒューズ部により接続している。
【先行技術文献】
【特許文献】
【0005】
特開2017-143170号公報
【発明の概要】
【発明が解決しようとする課題】
【0006】
ところで、この種の金属化フィルムコンデンサでは、絶縁破壊が生じたときに周囲から絶縁破壊部に電荷が移動し、その電流エネルギにより上記した自己回復機能を発揮するため、コンデンサの長寿命化が可能になる。
【0007】
しかしながら、上記した特許文献1に記載の金属化フィルムコンデンサでは、誘電体フィルムの幅方向の片側に同一形状の分割電極を多数配置した構成になっている。このため、分割電極が特定の領域に密集し過ぎて電荷の移動経路(流入電流経路)が複雑化するとともに、個々の分割電極の面積が小さくなってしまう。その結果、絶縁破壊部に十分な短絡電流エネルギを供給することが難しくなり、絶縁破壊時に安定して自己回復や保安機能を発揮することができないおそれがあった。
【0008】
本発明は、上記の課題に鑑みてなされたものであり、複数の分割電極からなる分割電極部を備える金属化フィルムコンデンサにおいて、絶縁破壊時に安定した自己回復機能や保安機能を発揮できるようにすることを目的とする。
【課題を解決するための手段】
【0009】
上記の目的を達成するために、本発明に係る金属化フィルムコンデンサは、誘電体フィルムのフィルム面上に形成される金属蒸着電極が、非蒸着の絶縁スリットにより前記誘電体フィルムの長手方向に分割された複数の分割電極からなる分割電極部と、前記分割電極よりも電極面積が大きい大電極部とに区画され、前記分割電極部と前記大電極部とが前記誘電体フィルムの幅方向に交互に配置され、前記複数の分割電極は、それぞれ多角形状からなり、前記複数の分割電極のうち前記長手方向に隣接する2つの分割電極は、その頂点において互いに電気的に接続されるようにヒューズ部を共有するとともに、当該ヒューズ部が前記大電極部と電気的に接続されていることを特徴としている。
【0010】
この構成によれば、分割電極部と大電極部とが誘電体フィルムの幅方向に交互に配置されているので、絶縁破壊が生じたときに、電極面積の大きい大電極部からの大きな電流エネルギを絶縁破壊部に供給することができる。また、隣接する2つの分割電極を頂点において共有するヒューズ部により互いに電気的に接続するとともに、当該ヒューズ部を大電極部と電気的に接続しているため、ヒューズ部が動作(溶断)した場合でも、流入電流経路が乱れるのを防ぐことができる。その結果、当該絶縁破壊部への電流の流入部位に位置するヒューズ部をより確実に溶断することができて絶縁破壊時に安定した自己回復機能や保安機能を発揮することができる。
(【0011】以降は省略されています)
この特許をJ-PlatPat(特許庁公式サイト)で参照する
関連特許
ニチコン株式会社
信号伝送システム
今日
ニチコン株式会社
電力供給システム
28日前
ニチコン株式会社
スイッチング電源装置
今日
ニチコン株式会社
金属化フィルムコンデンサ
2日前
東ソー株式会社
絶縁電線
23日前
APB株式会社
蓄電セル
21日前
個人
フレキシブル電気化学素子
1か月前
ローム株式会社
半導体装置
22日前
ローム株式会社
半導体装置
1か月前
マクセル株式会社
電源装置
15日前
株式会社東芝
端子台
15日前
株式会社ユーシン
操作装置
1か月前
日新イオン機器株式会社
イオン源
1か月前
株式会社GSユアサ
蓄電装置
16日前
株式会社GSユアサ
蓄電設備
1か月前
株式会社GSユアサ
蓄電設備
1か月前
三菱電機株式会社
回路遮断器
2日前
オムロン株式会社
電磁継電器
1か月前
株式会社ホロン
冷陰極電子源
29日前
太陽誘電株式会社
コイル部品
1か月前
株式会社GSユアサ
蓄電装置
16日前
株式会社GSユアサ
蓄電装置
8日前
ノリタケ株式会社
熱伝導シート
1か月前
トヨタ自動車株式会社
バッテリ
1か月前
トヨタ自動車株式会社
バッテリ
21日前
日本特殊陶業株式会社
保持装置
7日前
トヨタ自動車株式会社
冷却構造
23日前
トヨタ自動車株式会社
蓄電装置
16日前
トヨタ自動車株式会社
蓄電装置
1か月前
日本特殊陶業株式会社
保持装置
24日前
日東電工株式会社
積層体
1か月前
北道電設株式会社
配電具カバー
21日前
日新イオン機器株式会社
基板処理装置
18日前
サクサ株式会社
電池の固定構造
1か月前
SMK株式会社
キートップ及びスイッチ
1か月前
日本製紙株式会社
導電性フィルム
1か月前
続きを見る
他の特許を見る