TOP
|
特許
|
意匠
|
商標
特許ウォッチ
Twitter
他の特許を見る
10個以上の画像は省略されています。
公開番号
2025168875
公報種別
公開特許公報(A)
公開日
2025-11-12
出願番号
2024073701
出願日
2024-04-30
発明の名称
熱交換器
出願人
フタバ産業株式会社
代理人
名古屋国際弁理士法人
主分類
H01M
10/6556 20140101AFI20251105BHJP(基本的電気素子)
要約
【課題】バッテリと積層されて熱交換を行う外殻部材と、外殻部材内部の流路に対し熱交換用の流体を供給又は排出させる接続管とを備える熱交換器において、接続管を外殻部材と一体的に形成することなく、接続管に加わる荷重を外殻部材にて吸収できるようにする。
【解決手段】熱交換器は、電動車両に搭載されるバッテリと互いに積層して配置され、熱交換用の流体を介して熱交換を行う熱交換器であり、バッテリに積層されて流体の流路を形成する外殻部材と、外殻部材の流路に対し流体を供給又は排出させる筒状の接続管と、外殻部材の開口を周回するように接続管の一方の開口端を外殻部材に接合する接合部とを備え、外殻部材は、接続管から接合部に加わる力によって変形可能な変形領域を有する。
【選択図】図3
特許請求の範囲
【請求項1】
電動車両に搭載されるバッテリと互いに積層して配置され、熱交換用の流体を介して熱交換を行う熱交換器であって、
前記バッテリに積層されて前記流体の流路を形成する外殻部材と、
前記外殻部材の前記流路に対し前記流体を供給又は排出させる筒状の接続管と、
前記外殻部材の開口を周回するように前記接続管の一方の開口端を前記外殻部材に接合する接合部と、
を備え、前記外殻部材は、前記接続管から前記接合部に加わる力によって変形可能な変形領域を有する、熱交換器。
続きを表示(約 410 文字)
【請求項2】
前記外殻部材の板厚は、前記接続管の板厚よりも小さい、請求項1に記載の熱交換器。
【請求項3】
前記外殻部材において、前記変形領域は、前記バッテリに積層される本体部分の板面から前記接続管側又は前記接続管とは反対側に湾曲している、請求項1又は請求項2に記載の熱交換器。
【請求項4】
前記外殻部材には、前記接合部及び前記変形領域との間に隙間を形成して、前記変形領域の変形を規制する規制部材が設けられている、請求項1又は請求項2に記載の熱交換器。
【請求項5】
前記規制部材は、前記接続管を前記外殻部材の前記流路に連通させる連通路を有する剛体である、請求項4に記載の熱交換器。
【請求項6】
前記隙間は空間になっている、請求項4に記載の熱交換器。
【請求項7】
前記隙間には弾性体が配置されている、請求項4に記載の熱交換器。
発明の詳細な説明
【技術分野】
【0001】
本開示は、熱交換器に関する。
続きを表示(約 1,500 文字)
【背景技術】
【0002】
特許文献1に記載のように、熱交換の対象物となる電子部品と交互に積層される積層型熱交換器が知られている。この積層型熱交換器においては、電子部品に積層される1つの熱交換器が、熱交換用の流体の流路を形成する外殻部材を備える。そして、外殻部材には、電子部品との積層部分から外側の領域に、流路に対し流体を供給又は排出させる筒状の管部が突出されている。従って、突出管部は、電子部品を挟む2つの外殻部材の突出管部同士を連結することで、2つの外殻部材の流路に、流体を同時に供給又は排出することができる。
【0003】
ところで、このように外殻部材の突出管部同士を連結すると、電子部品の積層方向の幅のばらつきや連結時に加わる荷重によって、外殻部材における突出管部の根元部分に強い負荷が加わり、疲労破壊などが生じ易くなる。そこで、特許文献1に記載の熱交換器においては、外殻部材において突出管部の根元部分で積層方向の圧縮荷重を受ける領域を、突出管部に対し所定角度で傾斜させることで、圧縮荷重により変形するダイヤフラム部として構成している。
【先行技術文献】
【特許文献】
【0004】
特開2015-103736号公報
【発明の概要】
【発明が解決しようとする課題】
【0005】
特許文献1に記載の熱交換器においては、突出管部から外殻部材に加わる負荷をダイヤフラム部で軽減して、疲労破壊が生じるのを抑制できる。しかし、ダイヤフラム部を含む突出管部は、プレス成形により、外殻部材と一体に形成する必要がある。
【0006】
特に、熱交換の対象となる電子部品が、車両に搭載されるバッテリである場合、熱交換器の外殻部材と交互に積層されるバッテリセルの幅が大きくなるため、突出管部は、深絞り形成する必要がある。従って、特許文献1に記載の熱交換器においては、プレス成形時の精度、品質を確保するために、多くの工程が必要となり、製造コストが高くなるという問題が生じる。
【0007】
本開示の一局面は、バッテリと積層されて熱交換を行う外殻部材と、外殻部材内部の流路に対し熱交換用の流体を供給又は排出させる接続管とを備える熱交換器において、接続管を外殻部材と一体的に形成することなく、接続管に加わる荷重を外殻部材にて吸収できるようにすること、を目的とする。
【課題を解決するための手段】
【0008】
本開示の一局面によれば、電動車両に搭載されるバッテリと互いに積層して配置され、熱交換用の流体を介して熱交換を行う熱交換器が提供される。この熱交換器は、外殻部材と、接続管と、接合部とを備える。
【0009】
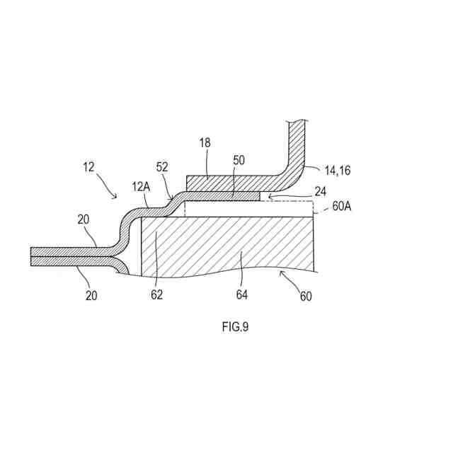
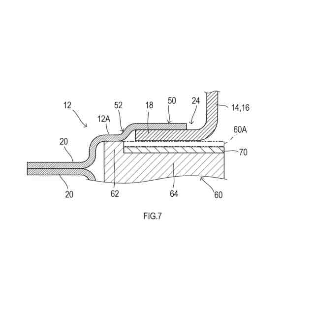
外殻部材は、バッテリに積層されて流体の流路を形成する。接続管は、筒状で、外殻部材の流路に対し流体を供給又は排出させる。接合部は、外殻部材の開口を周回するように接続管の一方の開口端を外殻部材に接合する。また、外殻部材は、接続管から接合部に加わる力によって変形可能な変形領域を有する。
【0010】
従って、本開示の熱交換器によれば、接続管の他方の開口端に、流体を供給又は排出する管を連結することで、外殻部材の流路に熱交換用の流体を流すことができる。このため、流体によりバッテリとの熱交換を促進し、バッテリを過熱等から保護することができる。また、バッテリに交互に積層される外殻部材の接続管同士を順に連結することで、複数の外殻部材の流路に、流体を同時に供給又は排出することができる。
(【0011】以降は省略されています)
この特許をJ-PlatPat(特許庁公式サイト)で参照する
関連特許
フタバ産業株式会社
熱交換器
7日前
フタバ産業株式会社
熱交換器
7日前
フタバ産業株式会社
熱交換器
14日前
フタバ産業株式会社
熱交換器
14日前
フタバ産業株式会社
熱交換器
14日前
フタバ産業株式会社
熱交換器
29日前
フタバ産業株式会社
成形品の製造方法
今日
フタバ産業株式会社
成形品の製造方法
6日前
フタバ産業株式会社
成形品の製造方法
27日前
フタバ産業株式会社
成型品の製造方法
27日前
フタバ産業株式会社
接合体の製造方法
1か月前
フタバ産業株式会社
耐熱塗料の乾燥方法
1か月前
フタバ産業株式会社
ステアリング支持装置
2か月前
フタバ産業株式会社
プレス成形品の製造方法
29日前
フタバ産業株式会社
アッパ部材及びバッテリケース
6日前
フタバ産業株式会社
触媒の盗難抑制構造及び触媒の盗難抑制システム
1か月前
個人
三重コイル変圧器
1日前
日機装株式会社
加圧装置
6日前
株式会社東芝
端子台
1か月前
ローム株式会社
半導体装置
今日
マクセル株式会社
電源装置
1か月前
ローム株式会社
半導体装置
1日前
日新イオン機器株式会社
イオン源
6日前
富士電機株式会社
電磁接触器
21日前
三菱電機株式会社
回路遮断器
29日前
株式会社GSユアサ
蓄電装置
1か月前
株式会社GSユアサ
蓄電装置
1か月前
株式会社GSユアサ
蓄電装置
21日前
株式会社GSユアサ
蓄電装置
1か月前
トヨタ自動車株式会社
蓄電装置
1か月前
個人
電源ボックス及び電子機器
6日前
トヨタ自動車株式会社
蓄電装置
13日前
株式会社東芝
電子源
6日前
日本特殊陶業株式会社
保持装置
1か月前
日本特殊陶業株式会社
保持装置
1日前
株式会社ヨコオ
コネクタ
今日
続きを見る
他の特許を見る