TOP
|
特許
|
意匠
|
商標
特許ウォッチ
Twitter
他の特許を見る
10個以上の画像は省略されています。
公開番号
2025173203
公報種別
公開特許公報(A)
公開日
2025-11-27
出願番号
2024078677
出願日
2024-05-14
発明の名称
熱交換器
出願人
フタバ産業株式会社
代理人
名古屋国際弁理士法人
主分類
B60K
11/02 20060101AFI20251119BHJP(車両一般)
要約
【課題】車両に搭載される熱交換器において、対象物との熱交換効率を向上させるための技術を提供する。
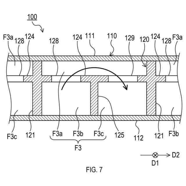
【解決手段】熱交換器には、第1板部と第2板部との間に流路が設けられる。流路は、熱交換媒体が供給される供給部と、熱交換媒体が排出される排出部と、供給部から排出部まで熱交換媒体が流れる流通部と、を有する。上流壁部が、流通部の上流側の端部を閉塞する。下流壁部が、流通部の下流側の端部を閉塞する。第1仕切り部及び第2仕切り部が、流通部を、第1板部側の第1領域と、第2板部側の第2領域及び第3領域と、に仕切る。上流壁部には、供給部と第2領域とを連通する第1連通部が形成される。第1仕切り部には、第1領域と第2領域とを連通する第2連通部と、第1領域と第3領域とを連通する第3連通部と、が形成される。下流壁部には、第3領域と排出部とを連通する第4連通部が形成される。
【選択図】図2
特許請求の範囲
【請求項1】
車両に搭載される熱交換器であって、
対象物に対向するように構成された板状の第1板部と、
前記第1板部に前記対象物側と反対側から対向する板状の第2板部と、
前記第1板部と前記第2板部との間に設けられた流路であって、熱交換媒体が供給される供給部と、前記熱交換媒体が排出される排出部と、前記供給部から前記排出部まで前記熱交換媒体が流れる流通部と、を有する前記流路と、
前記流通部の上流側の端部を閉塞する上流壁部と、
前記流通部の下流側の端部を閉塞する下流壁部と、
前記第1板部及び前記第2板部の双方に対向しつつ、前記上流壁部から前記下流壁部まで延びる第1仕切り部と、
前記第1仕切り部から前記第2板部側へ延びる第2仕切り部と、
を備え、
前記第1仕切り部及び前記第2仕切り部は、前記流通部を、前記第1板部側の第1領域と、前記第1仕切り部を挟んで前記第1領域に隣り合うとともに、前記第2仕切り部を挟んで互いに隣り合う、前記第2板部側の第2領域及び第3領域と、に仕切り、
前記上流壁部には、前記供給部と前記第2領域とを連通する第1連通部が形成され、
前記第1仕切り部には、前記第1領域と前記第2領域とを連通する第2連通部と、前記第1領域と前記第3領域とを連通する第3連通部と、が形成され、
前記下流壁部には、前記第3領域と前記排出部とを連通する第4連通部が形成される、熱交換器。
続きを表示(約 960 文字)
【請求項2】
請求項1に記載の熱交換器であって、
以下の(a)及び(b)の少なくとも一方を満たす、熱交換器。
(a)前記第2連通部は、第1位置における開口幅が、前記第1位置よりも下流側の第2位置における開口幅よりも大きいこと。
(b)前記第3連通部は、第3位置における開口幅が、前記第3位置よりも下流側の第4位置における開口幅よりも大きいこと。
【請求項3】
請求項1又は請求項2に記載の熱交換器であって、
以下の(c)及び(d)の少なくとも一方を満たす、熱交換器。
(c)前記第1仕切り部には、2つの前記第2連通部が形成され、2つの前記第2連通部のうち、上流側の前記第2連通部のほうが、開口面積が大きいこと。
(d)前記第1仕切り部には、2つの前記第3連通部が形成され、2つの前記第3連通部のうち、上流側の前記第3連通部のほうが、開口面積が大きいこと。
【請求項4】
請求項1又は請求項2に記載の熱交換器であって、
前記第2領域は、第1位置における流路断面積が、前記第1位置よりも下流側の第2位置における流路断面積よりも大きい、熱交換器。
【請求項5】
請求項1又は請求項2に記載の熱交換器であって、
前記第1板部及び前記第2板部の少なくとも一方には、前記供給部に前記熱交換媒体を供給するための供給口、及び、前記排出部から前記熱交換媒体を排出するための排出口が、前記供給部から前記排出部へ向かう方向から視て、互いに重なるように形成され、
前記流路は、2つの前記流通部を有し、2つの前記流通部のそれぞれに、前記上流壁部、前記下流壁部、前記第1仕切り部及び前記第2仕切り部が設けられ、
前記熱交換器は、以下の(e)及び(f)の少なくとも一方を満たす、熱交換器。
(e)2つの前記流通部にそれぞれ設けられた前記上流壁部のうち、前記供給口に近い前記上流壁部のほうが、形成される前記第1連通部の開口面積が小さいこと。
(f)2つの前記流通部にそれぞれ設けられた前記下流壁部のうち、前記排出口に近い前記下流壁部のほうが、形成される前記第4連通部の開口面積が小さいこと。
発明の詳細な説明
【技術分野】
【0001】
本開示は、車両に搭載される熱交換器に関する。
続きを表示(約 1,600 文字)
【背景技術】
【0002】
例えば特許文献1には、車両に搭載される冷却装置が記載されている。冷却装置は、冷却部及び仕切り板を備える。冷却部の内部には、空間が形成されている。仕切り板は、冷却部の内部の空間を、冷却部の上面側の上部空間と下面側の下部空間とに仕切る。仕切り板には、複数の冷媒通過孔が形成されている。冷却装置において、冷媒は、下部空間へ供給され、複数の冷媒通過孔を通って上部空間へ流入する。そして、上部空間から冷媒が排出される。
【先行技術文献】
【特許文献】
【0003】
特開2010-278130号公報
【発明の概要】
【発明が解決しようとする課題】
【0004】
特許文献1に記載の冷却装置では、下部空間から上部空間へ流入した冷媒が、下流側へ流れつつ対象物と熱交換を行う。このため、上部空間における冷媒の温度が下流側へ向かうにつれて上昇しやすいという課題があった。冷媒の温度が上昇した場合、対象物の冷却効率が低下しやすい。
【0005】
なお、このような課題は、冷媒と対象物との間で熱交換を行うように構成された冷却装置に限られず、例えば、熱媒と対象物との間で熱交換を行うように構成された加熱装置においても、同様に生じ得る。加熱装置においては、上部空間における熱媒の温度が下流側へ向かうにつれて低下しやすく、対象物の加熱効率が低下しやすい。
【0006】
本開示の一局面は、車両に搭載される熱交換器において、対象物との熱交換効率を向上させるための技術を提供する。
【課題を解決するための手段】
【0007】
本開示の一態様は、車両に搭載される熱交換器であって、第1板部と、第2板部と、流路と、上流壁部と、下流壁部と、第1仕切り部と、第2仕切り部と、を備える。第1板部及び第2板部は、板状である。第1板部は、対象物に対向するように構成されている。第2板部は、第1板部に対象物側と反対側から対向する。流路は、第1板部と第2板部との間に設けられる。流路は、熱交換媒体が供給される供給部と、熱交換媒体が排出される排出部と、供給部から排出部まで熱交換媒体が流れる流通部と、を有する。上流壁部は、流通部の上流側の端部を閉塞する。下流壁部は、流通部の下流側の端部を閉塞する。第1仕切り部は、第1板部及び第2板部の双方に対向しつつ、上流壁部から下流壁部まで延びる。第2仕切り部は、第1仕切り部から第2板部側へ延びる。第1仕切り部及び第2仕切り部は、流通部を、第1板部側の第1領域と、第2板部側の第2領域及び第3領域と、に仕切る。第2領域及び第3領域は、第1仕切り部を挟んで第1領域に隣り合うとともに、第2仕切り部を挟んで互いに隣り合う。上流壁部には、供給部と第2領域とを連通する第1連通部が形成される。第1仕切り部には、第1領域と第2領域とを連通する第2連通部と、第1領域と第3領域とを連通する第3連通部と、が形成される。下流壁部には、第3領域と排出部とを連通する第4連通部が形成される。
【0008】
このような構成によれば、車両に搭載される熱交換器において、対象物との熱交換効率を向上させることができる。
【0009】
本開示の一態様では、以下の(a)及び(b)の少なくとも一方を満たしてもよい。
(a)第2連通部は、第1位置における開口幅が、第1位置よりも下流側の第2位置における開口幅よりも大きいこと。
(b)第3連通部は、第3位置における開口幅が、第3位置よりも下流側の第4位置における開口幅よりも大きいこと。
【0010】
このような構成によれば、車両に搭載される熱交換器において、対象物との熱交換効率を一層向上させることができる。
(【0011】以降は省略されています)
この特許をJ-PlatPat(特許庁公式サイト)で参照する
関連特許
フタバ産業株式会社
消音器
1か月前
フタバ産業株式会社
消音器
2か月前
フタバ産業株式会社
熱交換器
今日
フタバ産業株式会社
熱交換器
今日
フタバ産業株式会社
熱交換器
15日前
フタバ産業株式会社
熱交換器
今日
フタバ産業株式会社
排気系部品
1か月前
フタバ産業株式会社
成形品の製造方法
13日前
フタバ産業株式会社
成型品の製造方法
13日前
フタバ産業株式会社
パイプの連結構造
2か月前
フタバ産業株式会社
接合体の製造方法
28日前
フタバ産業株式会社
耐熱塗料の乾燥方法
28日前
フタバ産業株式会社
ステアリング支持装置
1か月前
フタバ産業株式会社
プレス成形品の製造方法
15日前
フタバ産業株式会社
排気部品及び排気部品の製造方法
2か月前
フタバ産業株式会社
プレス成形装置及びプレス成形品の製造方法
3か月前
フタバ産業株式会社
触媒の盗難抑制構造及び触媒の盗難抑制システム
1か月前
個人
タイヤレバー
4か月前
個人
前輪キャスター
3か月前
個人
上部一体型自動車
1か月前
個人
ホイルのボルト締結
4か月前
個人
タイヤ脱落防止構造
3か月前
個人
ルーフ付きトライク
3か月前
個人
空間形成装置
28日前
日本精機株式会社
表示装置
3か月前
日本精機株式会社
表示装置
3か月前
個人
車両通過構造物
4か月前
個人
マスタシリンダ
2か月前
日本精機株式会社
表示装置
3か月前
日本精機株式会社
表示装置
3か月前
日本精機株式会社
照明装置
23日前
個人
アクセルのソフトウェア
5か月前
個人
車両用スリップ防止装置
5か月前
個人
乗合路線バスの客室装置
4か月前
個人
常設収納型サンバイザー
1か月前
株式会社ニフコ
保持装置
4か月前
続きを見る
他の特許を見る