TOP
|
特許
|
意匠
|
商標
特許ウォッチ
Twitter
他の特許を見る
公開番号
2025142753
公報種別
公開特許公報(A)
公開日
2025-10-01
出願番号
2024042281
出願日
2024-03-18
発明の名称
排気系部品
出願人
フタバ産業株式会社
代理人
名古屋国際弁理士法人
主分類
F01N
13/00 20100101AFI20250924BHJP(機械または機関一般;機関設備一般;蒸気機関)
要約
【課題】流路部材に対するセンサボスの位置ズレが抑制される技術を提供する。
【解決手段】排気系部品は、凹み部と挿入孔とを有し、流路を形成する流路部材と、凹み部に取り付けられるセンサボスと、を備える。凹み部は、流路部材の一部が流路内に向かって凹む部分であり、座面と外壁面とを有する。座面は、流路部材の外部に面し、流路部材の厚み方向において、流路部材の凹み部と隣接する部分の外面及び内面の間に位置する。外壁面は、座面及び当該外面を繋ぐ。挿入孔は、凹み部に当該凹み部を貫通するように形成される。センサボスは、挿入孔と連通するように構成される連通路と、連通路の一方の開口を囲む当接面と、当接面の縁から延び出す側面と、を有する。センサボスは、当接面が座面に当接し、かつ、側面の少なくとも一部が外壁面に当接した状態において、流路部材に溶接により接合されている。
【選択図】図7
特許請求の範囲
【請求項1】
排気系部品であって、
排気ガスが流れる流路を形成する流路部材であって、当該流路部材の一部が前記流路内に向かって凹む凹み部と、前記凹み部に当該凹み部を貫通するように形成される挿入孔と、を有する流路部材と、
前記凹み部に取り付けられたセンサボスと、
を備え、
前記センサボスは、前記挿入孔と連通するように構成される連通路と、前記連通路の一方の開口を囲む当接面と、前記当接面の縁から延び出す側面と、を有し、
前記凹み部は、前記流路部材の外部に面する座面であって、前記流路部材の厚み方向において、前記流路部材の前記凹み部と隣接する部分の外面及び内面の間に位置する座面と、前記座面及び当該外面を繋ぐ外壁面と、を有し、
前記センサボスは、前記当接面が前記座面に当接し、かつ、前記側面の少なくとも一部が前記外壁面に当接した状態において、前記流路部材に溶接により接合されている、排気系部品。
続きを表示(約 290 文字)
【請求項2】
請求項1に記載の排気系部品であって、
前記凹み部は、前記座面と対向する対向面であって、前記厚み方向において、前記内面よりも前記流路の内側に位置する対向面と、前記対向面及び当該内面を繋ぐ内壁面と、を有し、
前記内壁面は、前記厚み方向に直交する方向において、前記外壁面が当該内壁面よりも前記挿入孔側に位置するように設けられる、排気系部品。
【請求項3】
請求項1又は請求項2に記載の排気系部品であって、
前記センサボスにおける前記当接面から当該当接面とは反対側の非当接面まで延びる中心軸は、前記座面に対して傾いている、排気系部品。
発明の詳細な説明
【技術分野】
【0001】
本開示は、センサボスが接合された流路部材を備える排気系部品に関する。
続きを表示(約 1,700 文字)
【背景技術】
【0002】
特許文献1には、車両の内燃機関の排気系に設けられる二重管構造の排気管が開示されている。この排気管では、外管の外面に設けられた平坦部に、排気管内に挿通されるセンサを保持するためのセンサボスが接合されている。当該センサボスは、平坦部に当接する端部の外周部分が、平坦部に溶接によって固定される。
【先行技術文献】
【特許文献】
【0003】
特開平8-246863号公報
【発明の概要】
【発明が解決しようとする課題】
【0004】
しかしながら、センサボスの溶接にあたっては、平坦部上のあらかじめ設定された位置にセンサボスが当接するように配置されても、溶接時に、センサボスが当該位置からずれてしまう場合があった。
【0005】
本開示の一局面は、流路部材に対するセンサボスの位置ズレが抑制される技術を提供することを目的としている。
【課題を解決するための手段】
【0006】
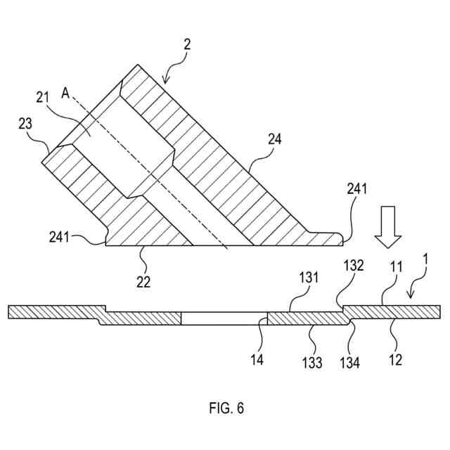
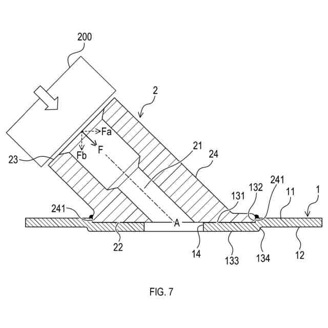
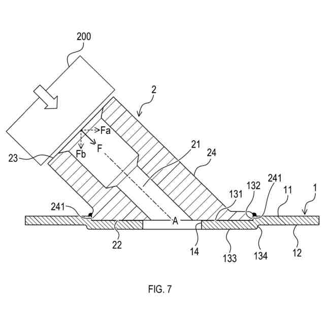
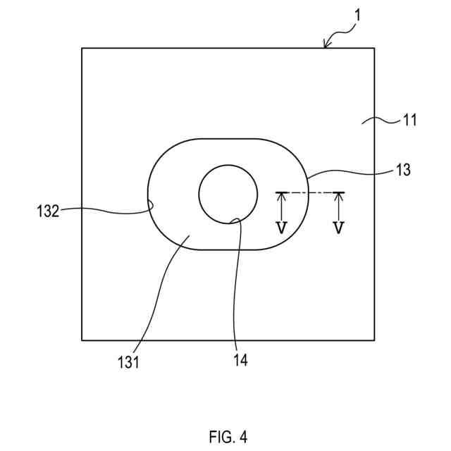
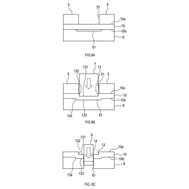
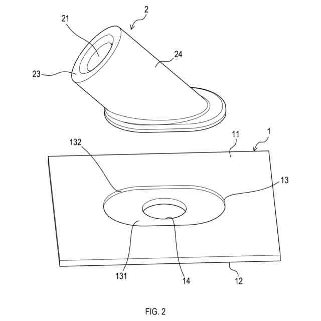
本開示の一態様は、排気系部品であって、流路部材と、センサボスと、を備える。流路部材は、排気ガスが流れる流路を形成する。また、流路部材は、凹み部と、挿入孔と、を有する。凹み部は、流路部材の一部が流路内に向かって凹む部分である。挿入孔は、凹み部に当該凹み部を貫通するように形成される。センサボスは、凹み部に取り付けられる。また、センサボスは、連通路と、当接面と、側面と、を有する。連通路は、挿入孔と連通するように構成される。当接面は、連通路の一方の開口を囲む。側面は、当接面の縁から延び出す。凹み部は、座面と、外壁面と、を有する。座面は、流路部材の外部に面し、流路部材の厚み方向において、流路部材の凹み部と隣接する部分の外面及び内面の間に位置する。外壁面は、座面及び当該外面を繋ぐ。センサボスは、当接面が座面に当接し、かつ、側面の少なくとも一部が外壁面に当接した状態において、流路部材に溶接により接合されている。
【0007】
このような構成では、センサボスの当接面を凹み部の座面に当接させ、かつ、センサボスの側面の少なくとも一部を凹み部の外壁面に当接させた状態で、凹み部に配置されたセンサボスを流路部材に接合可能である。このため、センサボスの流路部材への溶接時に、座面及び外壁面によりセンサボスの移動が規制されやすい。したがって、流路部材に対するセンサボスの位置ズレを抑制することができる。
【0008】
本開示の一態様では、凹み部は、対向面と、内壁面と、を有してもよい。対向面は、座面と対向する。また、対向面は、厚み方向において、流路部材の凹み部と隣接する部分の内面よりも流路の内側に位置する。内壁面は、対向面及び当該内面を繋ぐ。また、内壁面は、厚み方向に直交する方向において、外壁面が当該内壁面よりも挿入孔側に位置するように設けられてもよい。
【0009】
このような構成によれば、厚み方向に直交する方向において、凹み部の内壁面と外壁面との間の距離が広がりやすいため、凹み部が設けられることにより流路部材において厚みが局所的に薄くなる部分が生じることを抑制することができる。その結果、凹み部周辺における流路部材の強度が低下することを抑制することができる。
【0010】
本開示の一態様では、センサボスにおける当接面から当該当接面とは反対側の非当接面まで延びる中心軸は、座面に対して傾いていてもよい。
センサボスの中心軸が座面に対して傾いている場合には、センサボスの溶接時にセンサボスを流路部材へ押さえ付けると、座面に沿った方向への力が生じやすく、当該力により、流路部材に対するセンサボスの位置が比較的ずれやすくなる。上述した構成によれば、センサボスの側面が凹み部の外壁面に当接することにより、座面に沿った方向へのセンサボスの移動が規制されるため、流路部材に対するセンサボスの位置ズレをより一層抑制することができる。
【図面の簡単な説明】
(【0011】以降は省略されています)
この特許をJ-PlatPat(特許庁公式サイト)で参照する
関連特許
フタバ産業株式会社
消音器
15日前
フタバ産業株式会社
消音器
3日前
フタバ産業株式会社
熱交換器
2か月前
フタバ産業株式会社
排気装置
2か月前
フタバ産業株式会社
熱交換器
2か月前
フタバ産業株式会社
熱交換器
1か月前
フタバ産業株式会社
排気系部品
3日前
フタバ産業株式会社
ブラケット
1か月前
フタバ産業株式会社
燃料改質システム
1か月前
フタバ産業株式会社
パイプの連結構造
26日前
フタバ産業株式会社
車両用電池パック
1か月前
フタバ産業株式会社
金属部材の製造方法
2か月前
フタバ産業株式会社
管状部材の製造方法
1か月前
フタバ産業株式会社
フロア部材の製造方法
1か月前
フタバ産業株式会社
アンダーボディー部材
1か月前
フタバ産業株式会社
熱交換器及び熱交換システム
1か月前
フタバ産業株式会社
インパネリインフォースメント
2か月前
フタバ産業株式会社
排気部品及び排気部品の製造方法
1か月前
フタバ産業株式会社
プレス成形品及びプレス成形品の製造方法
1か月前
フタバ産業株式会社
ボディー部材、及びボディー部材の製造方法
1か月前
フタバ産業株式会社
プレス成形装置及びプレス成形品の製造方法
1か月前
フタバ産業株式会社
解析装置、解析方法、及びコンピュータプログラム
1か月前
フタバ産業株式会社
インシュレータの製造方法及びインシュレータの構成部品
1か月前
株式会社三五
消音器
26日前
個人
ジェットエンジンタービン羽根
24日前
株式会社三五
排気装置
1か月前
トヨタ自動車株式会社
車両
24日前
スズキ株式会社
排気装置
25日前
スズキ株式会社
排気装置
25日前
ダイハツ工業株式会社
内燃機関
26日前
トヨタ自動車株式会社
エンジンシステム
1日前
株式会社SUBARU
ピストン冷却構造
15日前
トヨタ自動車株式会社
エンジンシステム
23日前
トヨタ自動車株式会社
内燃機関の制御装置
15日前
トヨタ自動車株式会社
異音診断プログラム
17日前
三浦工業株式会社
船舶用発電システム
1日前
続きを見る
他の特許を見る