TOP
|
特許
|
意匠
|
商標
特許ウォッチ
Twitter
他の特許を見る
10個以上の画像は省略されています。
公開番号
2025142752
公報種別
公開特許公報(A)
公開日
2025-10-01
出願番号
2024042280
出願日
2024-03-18
発明の名称
消音器
出願人
フタバ産業株式会社
代理人
名古屋国際弁理士法人
主分類
F01N
1/08 20060101AFI20250924BHJP(機械または機関一般;機関設備一般;蒸気機関)
要約
【課題】筐体内部を区画するセパレータを備えた消音器において、セパレータの強度を高め、セパレータの開口部分で発生する異音を抑制できるようにする。
【解決手段】消音器は、筐体と、筐体内に挿入されて、排気ガスの流路を構成するパイプと、筐体の内部を区画するセパレータと、を備える。また、セパレータは、少なくとも2つのパイプがそれぞれ貫通される少なくとも2つの開口部と、開口部同士を連通させる連通部と、開口部と連通部とで構成される空間の周囲全域にわたって、パイプの軸方向に延びるように突出された突出部と、を備える。
【選択図】図1
特許請求の範囲
【請求項1】
筐体と、
前記筐体内に挿入されて、排気ガスの流路を構成するパイプと、
前記筐体の内部を区画するセパレータと、
を備え、
前記セパレータは、
少なくとも2つの前記パイプがそれぞれ貫通される少なくとも2つの開口部と、
前記開口部同士を連通させる連通部と、
前記開口部と前記連通部とで構成される空間の周囲全域にわたって、前記パイプの軸方向に延びるように突出された突出部と、
を備える、消音器。
続きを表示(約 180 文字)
【請求項2】
前記パイプには、前記流路から前記筐体の内部空間へと前記排気ガスを排出させる孔が設けられており、該孔は、前記セパレータの前記突出部の基端部に対向する位置に配置されている、請求項1に記載の消音器。
【請求項3】
前記突出部の突出方向先端側は、前記基端部側よりも外側に広がっている、請求項1又は請求項2に記載の消音器。
発明の詳細な説明
【技術分野】
【0001】
本開示は、消音器に関する。
続きを表示(約 1,400 文字)
【背景技術】
【0002】
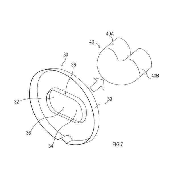
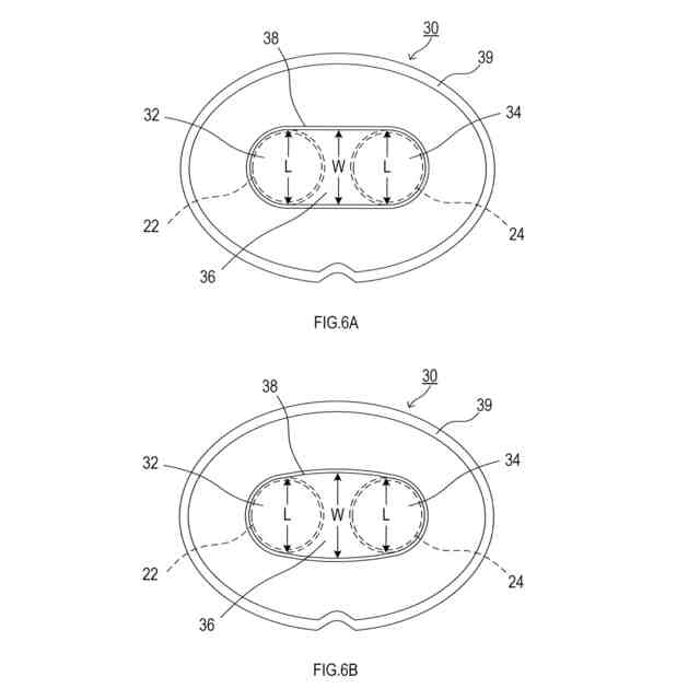
消音器には、筐体の内部を区画するセパレータと、排気ガスの流路を構成する複数のパイプを備え、複数のパイプをセパレータに貫通させることで、セパレータにて区画された部屋を連通させて、排気音を減衰させるように構成されたものが知られている。
【0003】
この種の消音器として、特許文献1には、セパレータに、外周面同士を接触させた3つのパイプを貫通させる開口を設け、その開口の周囲に各パイプの軸方向に延びる突出部を設けることで、セパレータによるパイプの支持強度を確保することが記載されている。
【先行技術文献】
【特許文献】
【0004】
特開2004-339991号公報
【発明の概要】
【発明が解決しようとする課題】
【0005】
特許文献1に記載の消音器においては、3つのパイプをそれぞれ貫通させる3つの開口を、パイプ同士の接触部分で連通させて、その連通箇所を除く各開口の周囲にだけ突出部を設けている。
このため、開口全周を突出部にて補強することができず、セパレータの剛性が低下して、開口へのパイプの圧入がし難くなるという問題が生じる。また、パイプ同士の接触部分で連通させた開口部分を排気ガスが通過する際に、排気ガスの流れが乱れて、異音が発生することも考えられる。
【0006】
本開示の一局面は、筐体内部を区画するセパレータを備えた消音器において、セパレータの強度を高め、セパレータの開口部分で発生する異音を抑制できるようにすることを目的とする。
【課題を解決するための手段】
【0007】
本開示の一局面の消音器は、筐体と、筐体内に挿入されて、排気ガスの流路を構成するパイプと、筐体の内部を区画するセパレータと、を備える。
また、セパレータは、少なくとも2つのパイプがそれぞれ貫通される少なくとも2つの開口部と、開口部同士を連通させる連通部と、開口部と連通部とで構成される空間の周囲全域にわたって、パイプの軸方向に延びるように突出された突出部と、を備える。
【0008】
このように、本開示の消音器において、セパレータには、少なくとも2つのパイプを貫通させるための空間が、各パイプに対応した少なくとも2つの開口部と開口部同士を連通させる連通部とにより構成されている。そして、その空間の周囲全域に突出部が設けられている。このため、特許文献1に記載のものに比べて、セパレータの強度を高めることができる。
【0009】
従って、本開示の消音器によれば、各開口部へのパイプの圧入がし易くなり、パイプとセパレータとを溶接にて接続する場合に比べて、消音器の製造効率を高めることができる。
【0010】
また、セパレータには、各パイプを貫通させる開口部同士を連通させる連通部が設けられ、その連通部周囲にも突出部が設けられている。このため、本開示の消音器によれば、パイプとパイプとの間の連通部を排気ガスが通過し易くなり、しかも、排気ガスが連通部を通過する際に、突出部の側壁にて外気ガスの流れを整えることができる。よって、本開示の消音器によれば、排気ガスがセパレータの連通部を通貨する際に発生する異音を抑制できる。
(【0011】以降は省略されています)
この特許をJ-PlatPat(特許庁公式サイト)で参照する
関連特許
トヨタ自動車株式会社
エンジン
3日前
トヨタ自動車株式会社
エンジン
2日前
株式会社三五
ハイブリッド車の排気システム
3日前
株式会社SUBARU
エンジン制御装置
15日前
トヨタ自動車株式会社
水素エンジン
29日前
トヨタ自動車株式会社
異常診断装置
23日前
トヨタ自動車株式会社
油量判定装置
16日前
トヨタ自動車株式会社
排気浄化装置
3日前
株式会社アイシン
冷却モジュール
15日前
トヨタ自動車株式会社
内燃機関の制御装置
29日前
トヨタ自動車株式会社
内燃機関の制御装置
24日前
日産自動車株式会社
内燃機関
15日前
株式会社豊田自動織機
排気浄化装置
1か月前
井関農機株式会社
エンジン
2日前
トヨタ自動車株式会社
オイルタンク
3日前
株式会社三五
排気浄化装置
2日前
トヨタ自動車株式会社
過給機冷却システム
2日前
いすゞ自動車株式会社
排気処理装置
2日前
三菱自動車工業株式会社
オイルパン
1か月前
トヨタ自動車株式会社
冷却システム
1か月前
川崎重工業株式会社
多段ラジアルタービン
15日前
トヨタ自動車株式会社
車両の制御装置
2日前
カナデビア株式会社
排ガス処理システム
25日前
株式会社豊田自動織機
内燃機関の制御装置
16日前
トヨタ自動車株式会社
車両の制御装置
2日前
トヨタ自動車株式会社
車両の制御装置
2日前
スズキ株式会社
エンジンの排気浄化装置
10日前
三菱重工業株式会社
蒸気タービンシステム
25日前
トヨタ自動車株式会社
ウォーターポンプ制御装置
25日前
スズキ株式会社
内燃機関のオイルレベルゲージの支持構造
1か月前
株式会社小松製作所
ファン駆動システム及びファン駆動方法
15日前
トヨタ自動車株式会社
フィルタ機能付き触媒の異常判定装置
2日前
三菱重工業株式会社
静翼セグメント、及びこれを備える蒸気タービン
8日前
イブラヒム ハンナ
内燃機関用の自給式4ストローク1サイクル燃焼シリンダ
16日前
ヤンマーパワーテクノロジー株式会社
エンジン装置
17日前
三菱重工業株式会社
流路形成板、分割環、静翼、ガスタービン、及び流路形成板の製造方法
1か月前
続きを見る
他の特許を見る