TOP
|
特許
|
意匠
|
商標
特許ウォッチ
Twitter
他の特許を見る
10個以上の画像は省略されています。
公開番号
2025167471
公報種別
公開特許公報(A)
公開日
2025-11-07
出願番号
2024072105
出願日
2024-04-26
発明の名称
ファン駆動システム及びファン駆動方法
出願人
株式会社小松製作所
代理人
弁理士法人酒井国際特許事務所
主分類
F01P
11/14 20060101AFI20251030BHJP(機械または機関一般;機関設備一般;蒸気機関)
要約
【課題】ファン駆動システムの機器の状態を監視すること。
【解決手段】ファン駆動システムは、油圧ポンプと、油圧ポンプから供給された作動油に基づいてファンを回転させる油圧モータと、コントローラと、を備える。コントローラは、ファンの冷却対象の状態に基づいて、ファンの目標回転数を決定する目標量決定部と、ファンの目標回転数とファンの実回転数との偏差を示すフィードバック量を算出する比較部と、フィードバック量と、油圧ポンプから作動油タンクに作動油を戻すポンプドレンラインの圧力であるポンプドレン圧と、油圧モータから作動油タンクに作動油を戻すモータドレンラインの圧力であるモータドレン圧とに基づいて、油圧ポンプの状態又は油圧モータの状態を推測する推測部と、を有する。
【選択図】図6
特許請求の範囲
【請求項1】
油圧ポンプと、
前記油圧ポンプから供給された作動油に基づいてファンを回転させる油圧モータと、
コントローラと、を備え、
前記コントローラは、
前記ファンの冷却対象の状態に基づいて、前記ファンの目標回転数を決定する目標量決定部と、
前記ファンの目標回転数と前記ファンの実回転数との偏差を示すフィードバック量を算出する比較部と、
前記フィードバック量と、前記油圧ポンプから作動油タンクに作動油を戻すポンプドレンラインの圧力であるポンプドレン圧と、前記油圧モータから作動油タンクに作動油を戻すモータドレンラインの圧力であるモータドレン圧とに基づいて、前記油圧ポンプの状態又は前記油圧モータの状態を推測する推測部と、を有する、
ファン駆動システム。
続きを表示(約 1,000 文字)
【請求項2】
前記推測部は、前記ポンプドレン圧がドレン圧閾値を超過した場合、前記油圧ポンプが異常であると推測する、
請求項1に記載のファン駆動システム。
【請求項3】
前記推測部は、前記モータドレン圧がドレン圧閾値を超過した場合、前記油圧モータが異常であると推測する、
請求項1に記載のファン駆動システム。
【請求項4】
前記ファンの冷却対象は、ラジエータを流通する冷却水及びオイルクーラを流通する作動油を含み、
前記推測部は、前記フィードバック量と、前記ファンの実回転数と、外気温度と、前記冷却水の温度又は前記作動油の温度と、前記モータドレン圧とに基づいて、前記ファンの状態を推測する、
請求項1に記載のファン駆動システム。
【請求項5】
前記推測部は、前記フィードバック量と、前記ポンプドレン圧と、前記モータドレン圧とに基づいて、前記ポンプドレンライン及び前記モータドレンラインの状態を推測する、
請求項1に記載のファン駆動システム。
【請求項6】
前記ファンの冷却対象は、ラジエータを流通する冷却水及びオイルクーラを流通する作動油を含み、
前記推測部は、前記フィードバック量と、前記ファンの実回転数と、前記冷却水の温度と、前記作動油の温度と、前記ポンプドレン圧と、前記モータドレン圧とに基づいて、前記ラジエータの状態又は前記オイルクーラの状態を推測する、
請求項1に記載のファン駆動システム。
【請求項7】
前記油圧ポンプの状態又は前記油圧モータの状態は、前記油圧ポンプの容積効率と前記油圧モータの容積効率との積を示すシステム効率を含む、
請求項1に記載のファン駆動システム。
【請求項8】
油圧ポンプから油圧モータに作動油を供給することと、
前記油圧モータによりファンを回転させることと、
前記ファンの冷却対象の状態に基づいて、前記ファンの目標回転数を決定することと、
前記ファンの目標回転数と前記ファンの実回転数との偏差を示すフィードバック量を算出することと、
前記フィードバック量と、前記油圧ポンプから作動油タンクに作動油を戻すポンプドレンラインの圧力であるポンプドレン圧と、前記油圧モータから作動油タンクに作動油を戻すモータドレンラインの圧力であるモータドレン圧とに基づいて、前記油圧ポンプの状態又は前記油圧モータの状態を推測することと、を含む、
ファン駆動方法。
発明の詳細な説明
【技術分野】
【0001】
本開示は、ファン駆動システム及びファン駆動方法に関する。
続きを表示(約 2,400 文字)
【背景技術】
【0002】
ファン駆動システムに係る技術分野において、特許文献1に開示されているようなファン駆動システムが知られている。特許文献1において、ファン駆動システムは、油圧ポンプと、油圧ポンプから供給された作動油に基づいてファンを回転させる油圧モータとを備える。ファン駆動システムは、ファンの目標回転数と実回転数との差を示すフィードバック量の変化に基づいて、油圧ポンプの状態又は油圧モータの状態を推測する。
【先行技術文献】
【特許文献】
【0003】
国際公開第2018/131118号
【発明の概要】
【発明が解決しようとする課題】
【0004】
ファン駆動システムは、複数の機器により構成される。機器に異常が生じた場合、異常が生じた機器をメンテナンスする必要がある。そのため、機器の状態を精度良く監視できる技術が要望される。
【0005】
本開示は、ファン駆動システムの機器の状態を監視することを目的とする。
【課題を解決するための手段】
【0006】
本開示に従えば、油圧ポンプと、油圧ポンプから供給された作動油に基づいてファンを回転させる油圧モータと、コントローラと、を備える、ファン駆動システムが提供される。コントローラは、ファンの冷却対象の状態に基づいて、ファンの目標回転数を決定する目標量決定部と、ファンの目標回転数とファンの実回転数との偏差を示すフィードバック量を算出する比較部と、フィードバック量と、油圧ポンプから油圧タンクに作動油を戻すドレン回路の圧力であるポンプドレン圧と、油圧モータから油圧タンクに作動油を戻すドレン回路の圧力であるモータドレン圧とに基づいて、油圧ポンプの状態又は油圧モータの状態を推測する推測部と、を有する。
【発明の効果】
【0007】
本開示によれば、ファン駆動システムの機器の状態を監視することができる。
【図面の簡単な説明】
【0008】
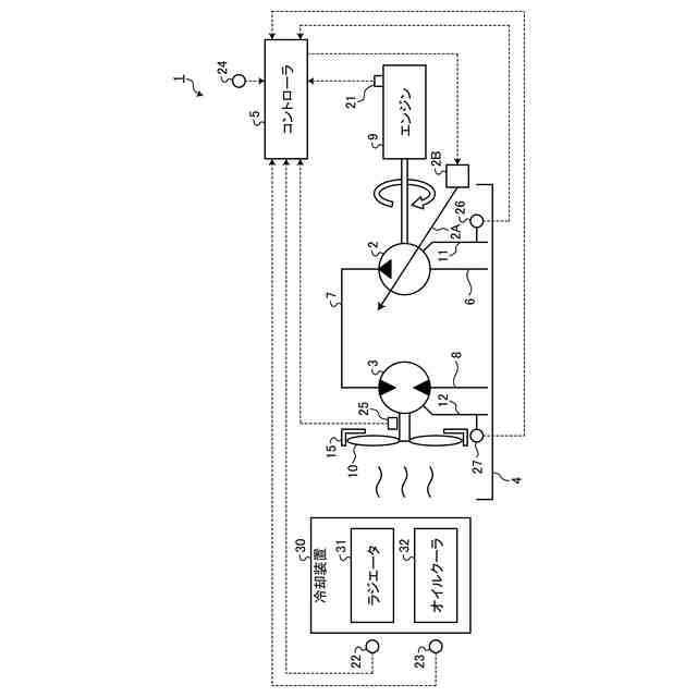
図1は、実施形態に係るファン駆動システムを模式的に示す図である。
図2は、実施形態に係るコントローラを示すハードウエア構成図である。
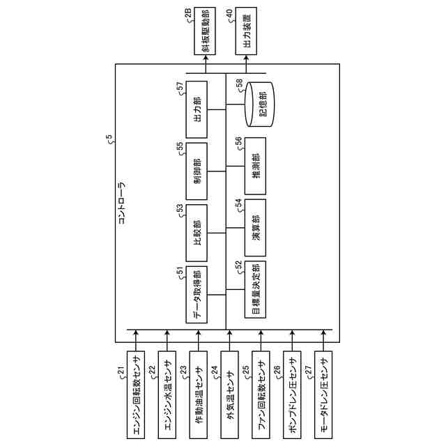
図3は、実施形態に係るコントローラを示す機能ブロック図である。
図4は、実施形態に係るコントローラの制御ブロック図である。
図5は、実施形態に係るフィードバック量とシステム効率と油圧ポンプの容量とファンの実回転数との関係を模式的に示す図である。
図6は、実施形態に係るフィードバック量とポンプドレン圧とモータドレン圧との関係を模式的に示す図である。
図7は、実施形態に係る異常の種類を説明する図である。
図8は、実施形態に係る異常の種類を説明する図である。
図9は、実施形態に係る異常の種類を説明する図である。
図10は、実施形態に係る異常の種類の判定方法を示すフローチャートである。
図11は、実施形態に係る異常な油圧ポンプ又は油圧モータの特定方法を示すフローチャートである。
図12は、実施形態に係るフィードバック量とファンの実回転数と外気温度と作動油温度とドレン圧との関係を模式的に示す図である。
図13は、実施形態に係るフィードバック量とファンの実回転数とポンプドレン圧とモータドレン圧との関係を模式的に示す図である。
図14は、実施形態に係る異常なファン又はドレンラインの特定方法を示すフローチャートである。
図15は、実施形態に係るラジエータのクーリングコアに異常が生じたときのフィードバック量とファンの実回転数とラジエータ温度とオイルクーラ温度とポンプドレン圧とモータドレン圧との関係を模式的に示す図である。
図16は、実施形態に係るオイルクーラのクーリングコアに異常が生じたときのフィードバック量とファンの実回転数とラジエータ温度とオイルクーラ温度とポンプドレン圧とモータドレン圧との関係を模式的に示す図である。
図17は、実施形態に係る異常なラジエータ又はオイルクーラの特定方法を示すフローチャートである。
図18は、実施形態に係るデータ取得部が取得するデータと推測部が状態を推測可能な機器との関係を示す図である。
【発明を実施するための形態】
【0009】
以下、本開示に係る実施形態について図面を参照しながら説明するが、本開示は実施形態に限定されない。以下で説明する実施形態の構成要素は、適宜組み合わせることができる。また、一部の構成要素を用いない場合もある。
【0010】
[ファン駆動システム]
図1は、実施形態に係るファン駆動システム1を模式的に示す図である。ファン駆動システム1は、作業機を有する作業機械に搭載される。作業機械として、油圧ショベル、ブルドーザ、及びホイールローダが例示される。作業機械は、エンジン9と、冷却装置30とを有する。冷却装置30は、ラジエータ31及びオイルクーラ32を含む。エンジン9を冷却する冷却水は、ラジエータ31を流通する。冷却水は、エンジン9及びラジエータ31を含む循環系において循環する。作動油は、オイルクーラ32を流通する。作動油は、作業機械に搭載されている油圧機器及びオイルクーラ32を含む循環系において循環する。ファン駆動システム1は、ファン10を回転させる。ファン10の回転により発生する気流により、ラジエータ31及びオイルクーラ32が冷却される。ラジエータ31及びオイルクーラ32が冷却されることにより、冷却水及び作動油が冷却され、エンジン9及び油圧機器が冷却される。
(【0011】以降は省略されています)
この特許をJ-PlatPat(特許庁公式サイト)で参照する
関連特許
株式会社小松製作所
多段変速機
2日前
株式会社小松製作所
作業機械および方法
1か月前
株式会社小松製作所
磁気結合型リアクトル
1か月前
株式会社小松製作所
評価装置および評価方法
25日前
株式会社小松製作所
制御システムおよび制御方法
1か月前
株式会社小松製作所
作業機械および作業機械の制御方法
17日前
株式会社小松製作所
作業機械および作業機械の制御方法
17日前
株式会社小松製作所
管理システム、管理装置、及び管理方法
9日前
株式会社小松製作所
ファン駆動システム及びファン駆動方法
1か月前
株式会社小松製作所
作業機械及び作業機械を制御するための方法
2日前
株式会社小松製作所
作業車両の制御装置および作業車両の制御方法
9日前
株式会社小松製作所
作業現場の従事者支援システム及び従事者支援方法
1か月前
株式会社小松製作所
作業機械の制御システム、および作業機械の制御方法
1か月前
株式会社小松製作所
作業機械の制御システム、および作業機械の制御方法
1か月前
株式会社小松製作所
トレーニングシステムおよびステージデータの生成方法
1か月前
株式会社小松製作所
認証情報表示システム、情報端末、及び認証情報表示方法
1か月前
株式会社小松製作所
作業機械の遠隔操作システムおよび作業機械の遠隔操作方法
3日前
株式会社小松製作所
作業機械のペイロード算出システムおよび作業機械のペイロード算出方法
1か月前
株式会社小松製作所
管理システム及び管理方法
17日前
株式会社小松製作所
作業機械の動作条件決定システム、作業機械、及び作業機械の動作条件決定方法
17日前
株式会社小松製作所
作業機械の動作条件決定システム、作業機械、及び作業機械の動作条件決定方法
17日前
株式会社小松製作所
消費電力予測装置、作業機械、消費電力予測システム、消費電力予測方法、およびプログラム
10日前
株式会社三五
排気浄化装置
2日前
トヨタ自動車株式会社
計測システム
1か月前
株式会社SUBARU
排気浄化装置
9日前
スズキ株式会社
内燃機関の制御装置
9日前
本田技研工業株式会社
排気装置
1か月前
株式会社ミクニ
二次空気供給システム
3日前
トヨタ自動車株式会社
エンジン
17日前
トヨタ自動車株式会社
エンジン
9日前
株式会社三五
ハイブリッド車の排気システム
18日前
本田技研工業株式会社
排気装置
1か月前
本田技研工業株式会社
排気装置
1か月前
トヨタ自動車株式会社
エンジン
18日前
株式会社クボタ
多目的車両
1か月前
株式会社クボタ
多目的車両
1か月前
続きを見る
他の特許を見る