TOP
|
特許
|
意匠
|
商標
特許ウォッチ
Twitter
他の特許を見る
10個以上の画像は省略されています。
公開番号
2025168052
公報種別
公開特許公報(A)
公開日
2025-11-07
出願番号
2024073171
出願日
2024-04-26
発明の名称
作業機械および方法
出願人
株式会社小松製作所
代理人
弁理士法人志賀国際特許事務所
主分類
B60L
58/40 20190101AFI20251030BHJP(車両一般)
要約
【課題】燃料電池の出力変動を抑制する。
【解決手段】制御装置は、蓄電装置の充電率に基づいて、燃料電池の目標発電電力を、第一電力および前記第一電力より低い第二電力を含む発電電力候補の何れか1つに切り替える。制御装置は、目標発電電力を第一電力と第二電力との間で切り替えることを契機として、第一電力または第二電力の値を更新する。
【選択図】図5
特許請求の範囲
【請求項1】
燃料電池と蓄電装置とを備える作業機械であって、
制御装置を備え、
前記制御装置は、
前記蓄電装置の充電率に基づいて、前記燃料電池の目標発電電力を、第一電力および前記第一電力より低い第二電力を含む発電電力候補の何れか1つに切り替え、
前記目標発電電力を前記第一電力と前記第二電力との間で切り替えることを契機として、前記第一電力または前記第二電力の値を更新する、
作業機械。
続きを表示(約 1,600 文字)
【請求項2】
前記制御装置は、
前記目標発電電力を前記第一電力と前記第二電力との間で切り替えることを契機として、切り替え前における前記第一電力で発電した時間と前記第二電力で発電した時間との比に基づいて、前記第一電力または前記第二電力の値を更新する、
請求項1に記載の作業機械。
【請求項3】
前記制御装置は、前記目標発電電力を前記第一電力と前記第二電力との間で切り替えるときに、前記第一電力または前記第二電力の値を更新する、
請求項1に記載の作業機械。
【請求項4】
前記制御装置は、前記目標発電電力を前記第一電力と前記第二電力との間で切り替えるときに、切り替えの直近における前記第一電力で発電した時間と前記第二電力で発電した時間との比に基づいて、前記第一電力または前記第二電力の値を更新する、
請求項2に記載の作業機械。
【請求項5】
前記制御装置は、
前記蓄電装置の充電率が第一閾値を下回ったときに、前記目標発電電力を前記第一電力に切り替え、
前記蓄電装置の充電率が前記第一閾値より高い第二閾値を上回ったときに、前記目標発電電力を前記第二電力に切り替える、
請求項1に記載の作業機械。
【請求項6】
前記発電電力候補は、前記第二電力より低い第三電力を含み、
前記制御装置は、
前記目標発電電力を前記第二電力と前記第三電力との間で切り替えることを契機として、前記第二電力または前記第三電力の値を更新する、
請求項1に記載の作業機械。
【請求項7】
前記制御装置は、
前記目標発電電力を前記第二電力と前記第三電力との間で切り替えることを契機として、切り替え前における前記第二電力で発電した時間と前記第三電力で発電した時間との比に基づいて、前記第二電力または前記第三電力の値を更新する、
請求項6に記載の作業機械。
【請求項8】
前記制御装置は、
前記目標発電電力を前記第一電力と前記第二電力との間で切り替えることを契機として、切り替え前における前記第一電力で発電した時間と前記第二電力で発電した時間との比に基づいて、前記第二電力の値を更新し、
前記目標発電電力を前記第二電力と前記第三電力との間で切り替えることを契機として、切り替え前における前記第二電力で発電した時間と前記第三電力で発電した時間との比に基づいて、前記第二電力の値を更新する、
請求項7に記載の作業機械。
【請求項9】
前記制御装置は、
前記目標発電電力が前記第二電力である場合において、前記蓄電装置の充電率が第一閾値を下回ったときに、前記目標発電電力を前記第一電力に切り替え、
前記目標発電電力が前記第一電力である場合において、前記蓄電装置の充電率が前記第一閾値より高い第二閾値を上回ったときに、前記目標発電電力を前記第二電力に切り替え、
前記目標発電電力が前記第二電力である場合において、前記蓄電装置の充電率が前記第二閾値より高い第三閾値を上回ったときに、前記目標発電電力を前記第三電力に切り替え、
前記目標発電電力が前記第三電力である場合において、前記蓄電装置の充電率が前記第一閾値より高く前記第二閾値より低い第四閾値を下回ったときに、前記目標発電電力を前記第二電力に切り替える、
請求項6に記載の作業機械。
【請求項10】
前記制御装置は、
前記目標発電電力を前記第一電力と前記第二電力との間で切り替えることを契機として、切り替え前における前記第一電力で発電した時間と前記第二電力で発電した時間との比に応じた重みで、前記第一電力と前記第二電力とを加重平均した値を、前記第一電力または前記第二電力の値に更新する、
請求項1から請求項9の何れか1項に記載の作業機械。
(【請求項11】以降は省略されています)
発明の詳細な説明
【技術分野】
【0001】
本開示は、作業機械および方法に関する。
続きを表示(約 1,500 文字)
【背景技術】
【0002】
特許文献1に示すように、水素を燃料として用いる燃料電池を搭載する作業機械が検討されている。燃料電池で駆動する作業機械は、燃料電池の搭載量を抑え、また回生電力を吸収させるために、バッテリなどの蓄電装置を備える。そのため、作業機械の制御装置は、燃料電池と蓄電装置のエネルギーを適切に分配するエネルギーマネジメントを行う必要がある。
【先行技術文献】
【特許文献】
【0003】
特開2023-110969号公報
【発明の概要】
【発明が解決しようとする課題】
【0004】
作業機械に必要な電力は、作業内容やオペレータの技量などによって変化する。一方で、燃料電池は、出力変動が頻繁に発生するとセルが劣化する可能性がある。
本開示の目的は、燃料電池の出力変動を抑制することができる作業機械および方法を提供することにある。
【課題を解決するための手段】
【0005】
本発明の一態様によれば、作業機械は、燃料電池と蓄電装置と制御装置を備え、前記制御装置は、前記蓄電装置の充電率に基づいて、前記燃料電池の目標発電電力を、第一電力および前記第一電力より低い第二電力を含む発電電力候補の何れか1つに切り替え、前記目標発電電力を前記第一電力と前記第二電力との間で切り替えることを契機として、前記第一電力または前記第二電力の値を更新する。
【発明の効果】
【0006】
上記態様によれば、作業機械は、燃料電池の出力変動を抑制することができる。
【図面の簡単な説明】
【0007】
第一実施形態に係る作業機械を模式的に示す斜視図である。
第一実施形態に係る作業機械の構成を示す概略ブロック図である。
第一実施形態に係る作業機械が備える制御系の構成を示す概略ブロック図である。
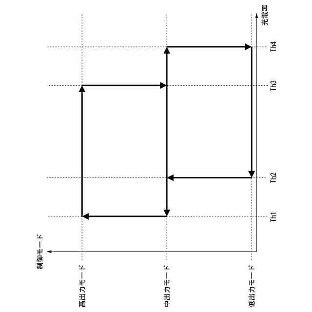
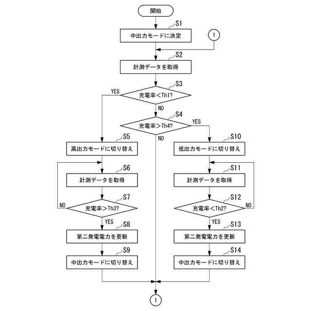
第一実施形態に係る制御モードの切り替え方法を示す図である。
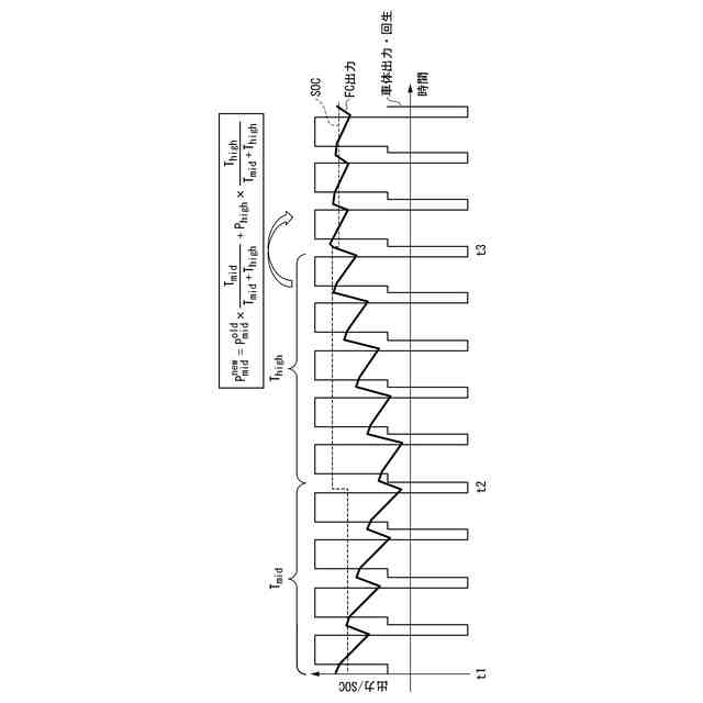
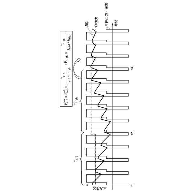
第一実施形態に係る第二発電電力の第一の更新方法の例を示す図である。
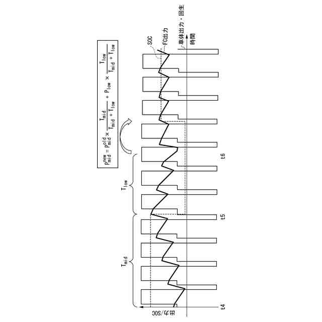
第一実施形態に係る第二発電電力の第二の更新方法の例を示す図である。
第一実施形態に係る作業機械の制御方法を示すフローチャートである。
第二実施形態に係る作業機械を模式的に示す斜視図である。
第二実施形態に係る作業機械の構成を示す概略ブロック図である。
少なくとも1つの実施形態に係るコンピュータの構成を示す概略ブロック図である。
【発明を実施するための形態】
【0008】
〈第一実施形態〉
《作業機械10の構成》
以下、図面を参照しながら実施形態について詳しく説明する。
図1は、第一実施形態に係る作業機械10を模式的に示す斜視図である。第一実施形態に係る作業機械10は、例えばダンプトラックである。作業機械10は、車体11と、走行装置12と、ダンプボディ13とを備える。ダンプボディ13は、作業機の一例である。
【0009】
車体11は、ダンプボディ13を支持する。車体11は、走行装置12に支持される。
【0010】
走行装置12は、車体11を支持する。走行装置12は、作業機械10を走行させる。走行装置12は、作業機械10を前進又は後進させる。走行装置12の少なくとも一部は、車体11よりも下方に配置される。走行装置12は、一対の前輪と一対の後輪とを備える。前輪は操舵輪であり、後輪は駆動輪である。なお、操舵輪と駆動輪の組み合わせはこれに限られず、走行装置12は、四輪駆動、四輪操舵であってもよい。
(【0011】以降は省略されています)
この特許をJ-PlatPat(特許庁公式サイト)で参照する
関連特許
株式会社小松製作所
多段変速機
1日前
株式会社小松製作所
管理システム、管理装置、及び管理方法
8日前
株式会社小松製作所
作業機械及び作業機械を制御するための方法
1日前
株式会社小松製作所
作業車両の制御装置および作業車両の制御方法
8日前
株式会社小松製作所
作業機械の遠隔操作システムおよび作業機械の遠隔操作方法
2日前
株式会社小松製作所
管理システム及び管理方法
16日前
株式会社小松製作所
消費電力予測装置、作業機械、消費電力予測システム、消費電力予測方法、およびプログラム
9日前
個人
タイヤレバー
4か月前
個人
前輪キャスター
3か月前
個人
上部一体型自動車
2か月前
個人
ルーフ付きトライク
4か月前
個人
空間形成装置
1か月前
個人
ホイルのボルト締結
5か月前
個人
タイヤ脱落防止構造
3か月前
井関農機株式会社
作業車両
5か月前
日本精機株式会社
表示装置
4か月前
個人
マスタシリンダ
2か月前
日本精機株式会社
照明装置
1か月前
個人
キャンピングトライク
5か月前
個人
車両通過構造物
4か月前
日本精機株式会社
表示装置
3か月前
日本精機株式会社
表示装置
4か月前
日本精機株式会社
表示装置
4か月前
個人
キャンピングトレーラー
5か月前
個人
アクセルのソフトウェア
5か月前
個人
乗合路線バスの客室装置
4か月前
個人
車両用スリップ防止装置
5か月前
個人
常設収納型サンバイザー
1か月前
個人
音声ガイド、音声サービス
4か月前
株式会社ニフコ
照明装置
3か月前
日本精機株式会社
車載表示装置
1か月前
個人
車載小物入れ兼雨傘収納具
5か月前
株式会社ニフコ
収納装置
2か月前
日本精機株式会社
車載表示装置
5か月前
日本精機株式会社
車載表示装置
1か月前
日本精機株式会社
車室演出装置
3か月前
続きを見る
他の特許を見る