TOP
|
特許
|
意匠
|
商標
特許ウォッチ
Twitter
他の特許を見る
10個以上の画像は省略されています。
公開番号
2025173249
公報種別
公開特許公報(A)
公開日
2025-11-27
出願番号
2024078746
出願日
2024-05-14
発明の名称
消費電力予測装置、作業機械、消費電力予測システム、消費電力予測方法、およびプログラム
出願人
株式会社小松製作所
代理人
弁理士法人志賀国際特許事務所
主分類
G06Q
10/04 20230101AFI20251119BHJP(計算;計数)
要約
【課題】蓄電池の劣化を抑えること。
【解決手段】消費電力予測装置は、計画取得部と、消費電力量予測部と、出力部とを備える。前記計画取得部は、蓄電池を備えた作業機械が行う作業内容と、当該作業内容が行われる作業時間と、を含む作業計画を取得する。前記消費電力量予測部は、前記計画取得部によって取得された前記作業計画に基づいて、前記作業計画において前記蓄電池が消費する作業消費電力量を予測する。前記出力部は、前記消費電力量予測部によって予測された前記作業消費電力量を出力する。
【選択図】図6A
特許請求の範囲
【請求項1】
蓄電池を備えた作業機械が行う作業内容と、当該作業内容が行われる作業時間と、を含む作業計画を取得する計画取得部と、
前記計画取得部によって取得された前記作業計画に基づいて、前記作業計画において前記蓄電池が消費する作業消費電力量を予測する消費電力量予測部と、
前記消費電力量予測部によって予測された前記作業消費電力量を出力する出力部と、
を備える消費電力予測装置。
続きを表示(約 1,800 文字)
【請求項2】
作業内容ごとに単位期間当たりの単位消費電力を記憶する単位消費電力記憶部から、前記作業計画が示す作業内容に応じた単位消費電力を抽出する単位消費電力抽出部を備え、
前記消費電力量予測部は、前記単位消費電力抽出部によって抽出された単位消費電力と、前記作業計画から得られる作業時間とに基づいて、前記作業消費電力量を予測する、
請求項1に記載の消費電力予測装置。
【請求項3】
前記蓄電池の蓄電残量を取得する蓄電残量取得部を備え、
前記出力部は、前記蓄電残量が前記作業消費電力量に対して不足する場合、警告を示す警告情報を出力する、
請求項1または2に記載の消費電力予測装置。
【請求項4】
前記蓄電池の蓄電残量を取得する蓄電残量取得部を備え、
前記蓄電残量が前記作業消費電力量に対して不足する場合、他の作業機械の作業計画に基づいて、不足分の作業を行う他の作業機械を特定する作業機械特定部と、
を備え、
前記出力部は、前記作業機械特定部によって特定された他の作業機械を示す情報を出力する、
請求項1または2に記載の消費電力予測装置。
【請求項5】
請求項1または2に記載の消費電力予測装置に接続し、前記蓄電池を備える作業機械であって、
前記出力部によって出力された前記作業消費電力量を取得する消費電力量取得部と、
前記蓄電池の蓄電残量、および前記蓄電池又は前記蓄電池に接続される充電器の充電能力を取得する蓄電内容取得部と、
前記消費電力量取得部によって取得された前記作業消費電力量と、前記蓄電内容取得部によって取得された前記蓄電残量および前記充電能力と、に基づいて、前記蓄電池の充電に要する充電予測時間を算出する充電予測時間算出部と、
前記充電予測時間算出部によって算出された充電予測時間に基づく指示を行う指示部と、
を備える作業機械。
【請求項6】
前記作業時間に含まれる作業開始時刻を取得する時刻取得部と、
前記指示部は、前記時刻取得部によって取得された作業開始時刻と、前記充電予測時間算出部によって算出された充電予測時間とに基づく充電開始時刻になると、前記蓄電池の充電開始に係る指示を出力する、
を備える請求項5に記載の作業機械。
【請求項7】
請求項1または2に記載の消費電力予測装置と、前記蓄電池を備える作業機械と、を含む消費電力予測システムであって、
前記作業機械は、
前記出力部によって出力された前記作業消費電力量を取得する消費電力量取得部と、
前記蓄電池の蓄電残量、および前記蓄電池又は前記蓄電池に接続される充電器の充電能力を取得する蓄電内容取得部と、
前記消費電力量取得部によって取得された前記作業消費電力量と、前記蓄電内容取得部によって取得された前記蓄電残量および前記充電能力と、に基づいて、前記蓄電池の充電に要する充電予測時間を算出する充電予測時間算出部と、
前記充電予測時間算出部によって算出された充電予測時間に基づく指示を行う指示部と、
を備える消費電力予測システム。
【請求項8】
消費電力予測装置が、
蓄電池を備えた作業機械が行う作業内容と、当該作業内容が行われる作業時間と、を含む作業計画を取得する計画取得ステップと、
前記計画取得ステップにおいて取得された前記作業計画に基づいて、前記作業計画において前記蓄電池が消費する作業消費電力量を予測する消費電力予測ステップと、
前記消費電力予測ステップにおいて予測された前記作業消費電力量を出力する出力ステップと、
を含む処理を実行する消費電力予測方法。
【請求項9】
消費電力予測装置のコンピュータを、
蓄電池を備えた作業機械が行う作業内容と、当該作業内容が行われる作業時間と、を含む作業計画を取得する計画取得部、
前記計画取得部によって取得された前記作業計画に基づいて、前記作業計画において前記蓄電池が消費する作業消費電力量を予測する消費電力量予測部、
前記消費電力量予測部によって予測された前記作業消費電力量を出力する出力部、
として機能させるプログラム。
発明の詳細な説明
【技術分野】
【0001】
本開示は、消費電力予測装置、作業機械、消費電力予測システム、消費電力予測方法、およびプログラムに関する。
続きを表示(約 2,100 文字)
【背景技術】
【0002】
近年、作業機械には、蓄電池が搭載され、蓄電池の電力で動作するものが普及している。蓄電池は、定期的に充電される。そこで、ユーザに対して充電を促す技術が提案されている。例えば、車両が備えるバッテリの消費量に係る履歴に基づいて、1日の推定消費量を算出し、当該推定消費量と、下限残容量と、バッテリの余裕量とに基づく充電推奨閾値を設定し、バッテリの残容量が充電推奨閾値を下回ると、充電を促す通知を行う充電制御方法が知られている(例えば、下記特許文献1参照。)。
【先行技術文献】
【特許文献】
【0003】
特許第7198851号公報
【発明の概要】
【発明が解決しようとする課題】
【0004】
しかしながら、従来技術では、作業機械に具備される蓄電池が消費する最適な電力分を最適なタイミングで充電することができないことがあり、これにより、蓄電池の劣化が早まってしまうことがある。
本開示は、作業機械に具備される蓄電池の劣化を抑えることができる消費電力予測装置、作業機械、消費電力予測システム、消費電力予測方法、およびプログラムを提供することを目的とする。
【課題を解決するための手段】
【0005】
本開示の第1の態様によれば、消費電力予測装置は、蓄電池を備えた作業機械が行う作業内容と、当該作業内容が行われる作業時間と、を含む作業計画を取得する計画取得部と、前記計画取得部によって取得された前記作業計画に基づいて、前記作業計画において前記蓄電池が消費する作業消費電力量を予測する消費電力量予測部と、前記消費電力量予測部によって予測された前記作業消費電力量を出力する出力部と、を備える。
【発明の効果】
【0006】
上記態様によれば、作業機械に具備される蓄電池の劣化を抑えることができる。
【図面の簡単な説明】
【0007】
実施形態に係る消費電力予測システムのネットワーク構成の一例を示す図である。
作業機械の構成の一例を示すブロック図である。
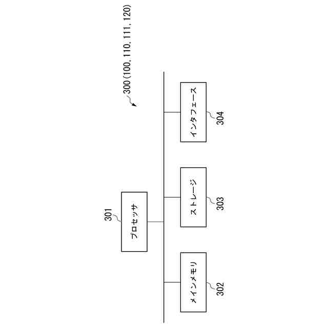
消費電力予測サーバ、作業機械(ECU)、および管理者端末が備えるコンピュータ装置のハードウェア構成を示すブロック図である。
作業計画DBに記憶される作業計画の一例を示す図である。
消費電力リストDBに記憶される消費電力リストの一例を示す図である。
消費電力予測システムの機能的構成の一例を示す図である。
消費電力予測サーバが行う消費電力予測方法を示すフローチャートである。
消費電力予測サーバが行う代替判別処理を示すフローチャートである。
作業機械が行う充電制御方法を示すフローチャートである。
作業機械が行う充電要否処理を示すフローチャートである。
作業機械が行う充電予測時間演算処理を示すフローチャートである。
【発明を実施するための形態】
【0008】
〈実施形態〉
《消費電力予測システム1》
図1は、実施形態に係る消費電力予測システムのネットワーク構成の一例を示す図である。図1に示すように、消費電力予測システム1は、消費電力予測サーバ100と、複数の作業機械110と、充電器111と、管理者端末120とを備える。消費電力予測システム1は、建設現場や採石場などの作業機械110が作業する作業現場に導入される。消費電力予測システム1は、作業機械110が搭載する蓄電池の消費電力を予測する。
【0009】
図1に示す消費電力予測システム1において、消費電力予測サーバ100と、複数の作業機械110と、管理者端末120とは、ネットワーク140を介して通信可能に接続されている。なお、充電器111についても、ネットワーク140を介して各装置に、通信可能に接続されていてもよい。各装置は、CPU(Central Processing Unit)、ROM(Read Only Memory)、RAM(Random Access Memory)、通信部などを備えたコンピュータ装置である。
【0010】
消費電力予測サーバ100は、消費電力予測装置の一例である。消費電力予測サーバ100は、各作業機械110の作業内容に応じた消費電力を予測する。具体的には、消費電力予測サーバ100は、作業計画DB(データベース)101および消費電力リストDB102を備える。作業計画DB101は、作業機械110ごとの各作業内容を含む作業計画を記憶する。消費電力リストDB102は、作業機械110ごとの各作業内容において消費される消費電力リスト(単位時間当たりの消費電力)を記憶する。消費電力予測サーバ100は、作業計画DB101および消費電力リストDB102に記憶される情報に基づいて、各作業機械110の作業計画における消費電力を予測する。
(【0011】以降は省略されています)
この特許をJ-PlatPat(特許庁公式サイト)で参照する
関連特許
株式会社小松製作所
作業機械および方法
21日前
株式会社小松製作所
磁気結合型リアクトル
21日前
株式会社小松製作所
評価装置および評価方法
16日前
株式会社小松製作所
制御システムおよび制御方法
21日前
株式会社小松製作所
作業機械および作業機械の制御方法
8日前
株式会社小松製作所
作業機械および作業機械の制御方法
8日前
株式会社小松製作所
ファン駆動システム及びファン駆動方法
21日前
株式会社小松製作所
管理システム、管理装置、及び管理方法
今日
株式会社小松製作所
作業車両の制御装置および作業車両の制御方法
今日
株式会社小松製作所
作業現場の従事者支援システム及び従事者支援方法
21日前
株式会社小松製作所
作業機械の制御システム、および作業機械の制御方法
21日前
株式会社小松製作所
作業機械の制御システム、および作業機械の制御方法
21日前
株式会社小松製作所
トレーニングシステムおよびステージデータの生成方法
21日前
株式会社小松製作所
認証情報表示システム、情報端末、及び認証情報表示方法
1か月前
株式会社小松製作所
作業機械のペイロード算出システムおよび作業機械のペイロード算出方法
22日前
株式会社小松製作所
管理システム及び管理方法
8日前
株式会社小松製作所
作業機械の動作条件決定システム、作業機械、及び作業機械の動作条件決定方法
8日前
株式会社小松製作所
作業機械の動作条件決定システム、作業機械、及び作業機械の動作条件決定方法
8日前
株式会社小松製作所
消費電力予測装置、作業機械、消費電力予測システム、消費電力予測方法、およびプログラム
1日前
個人
詐欺保険
1か月前
個人
縁伊達ポイン
1か月前
個人
5掛けポイント
21日前
個人
RFタグシート
1か月前
個人
職業自動販売機
14日前
個人
QRコードの彩色
1か月前
個人
ペルソナ認証方式
29日前
個人
地球保全システム
1か月前
個人
情報処理装置
24日前
個人
自動調理装置
1か月前
個人
残土処理システム
1か月前
個人
表変換編集支援システム
2か月前
個人
農作物用途分配システム
1か月前
個人
タッチパネル操作指代替具
1か月前
個人
知的財産出願支援システム
1か月前
個人
インターネットの利用構造
28日前
個人
サービス情報提供システム
16日前
続きを見る
他の特許を見る