TOP
|
特許
|
意匠
|
商標
特許ウォッチ
Twitter
他の特許を見る
10個以上の画像は省略されています。
公開番号
2025170916
公報種別
公開特許公報(A)
公開日
2025-11-20
出願番号
2024075779
出願日
2024-05-08
発明の名称
作業機械の動作条件決定システム、作業機械、及び作業機械の動作条件決定方法
出願人
株式会社小松製作所
代理人
弁理士法人酒井国際特許事務所
主分類
E02F
9/20 20060101AFI20251113BHJP(水工;基礎;土砂の移送)
要約
【課題】作業機に保持された積荷の崩れを抑制すること。
【解決手段】作業機械の動作条件決定システムは、コンピュータを備える。コンピュータは、作業機械の第1位置を含む第1状態を取得し、作業機械の第2位置を含む第1状態よりも後の第2状態を取得し、第1位置から第2位置までの作業機械の移動において作業機械が有する走行装置を制御する走行入力値及び作業機械が有する作業機を制御する作業入力値を含む制御入力値を生成し、第1状態と第2状態と制御入力値とを作業機械のモデルに入力して、移動において作業機に保持された積荷が崩れない制約条件を満足するように、第1位置から第2位置までの走行装置の目標走行条件及び作業機の目標作業条件を含む作業機械の目標動作条件を決定する。
【選択図】図6
特許請求の範囲
【請求項1】
コンピュータを備え、
前記コンピュータは、
作業機械の第1位置を含む第1状態を取得し、
前記作業機械の第2位置を含む前記第1状態よりも後の第2状態を取得し、
前記第1位置から前記第2位置までの前記作業機械の移動において前記作業機械が有する走行装置を制御する走行入力値及び前記作業機械が有する作業機を制御する作業入力値を含む制御入力値を生成し、
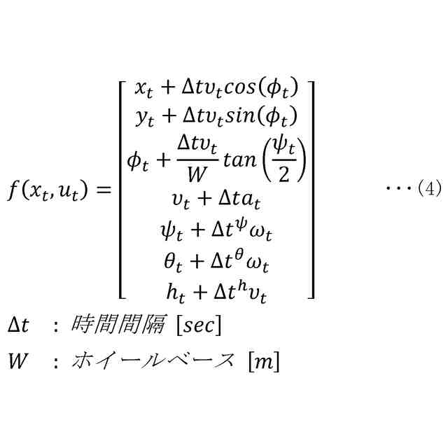
前記第1状態と前記第2状態と前記制御入力値とを前記作業機械のモデルに入力して、前記移動において前記作業機に保持された積荷が崩れない制約条件を満足するように、前記第1位置から前記第2位置までの前記走行装置の目標走行条件及び前記作業機の目標作業条件を含む前記作業機械の目標動作条件を決定する、
作業機械の動作条件決定システム。
続きを表示(約 990 文字)
【請求項2】
前記目標走行条件は、前記第1位置から前記第2位置までの前記走行装置の目標軌道を含む、
請求項1に記載の作業機械の動作条件決定システム。
【請求項3】
前記目標走行条件は、前記目標軌道の複数のポイントのそれぞれにおける前記走行装置の目標方位角度、目標走行速度、及び目標ステアリング角度を含む、
請求項2に記載の作業機械の動作条件決定システム。
【請求項4】
前記目標作業条件は、前記目標軌道の複数のポイントのそれぞれにおける前記作業機の目標姿勢を含む、
請求項2に記載の作業機械の動作条件決定システム。
【請求項5】
前記コンピュータは、
前記積荷に作用する慣性力と、前記積荷の形状と、前記積荷に係る積荷パラメータとに基づいて、前記制約条件を算出する、
請求項1に記載の作業機械の動作条件決定システム。
【請求項6】
前記積荷は、土砂を含み、
前記積荷パラメータは、前記土砂の粘着力、前記土砂の内部摩擦力、及び前記土砂の密度を含む、
請求項5に記載の作業機械の動作条件決定システム。
【請求項7】
前記コンピュータは、
前記積荷の質量、前記積荷の慣性テンソル、及び前記積荷の重心位置を含む積荷パラメータに基づいて、前記制約条件を算出し、
前記制約条件は、前記作業機の形状に基づいて設定された設定範囲から前記積荷のゼロモーメントポイントが逸脱しない条件を含む、
請求項1に記載の作業機械の動作条件決定システム。
【請求項8】
前記コンピュータは、
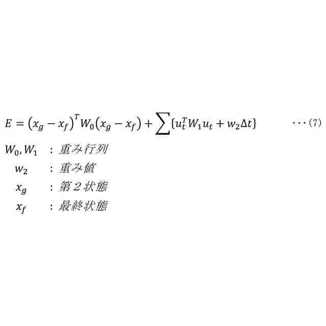
前記第2状態と前記目標軌道の最終位置における前記作業機械の状態との偏差に係る評価項目を含む評価関数を演算して、前記評価関数の評価値の度合いが良くなるように、前記目標動作条件を決定する、
請求項2に記載の作業機械の動作条件決定システム。
【請求項9】
前記評価関数は、前記制御入力値に係る評価項目を含む、
請求項8に記載の作業機械の動作条件決定システム。
【請求項10】
請求項1に記載の作業機械の動作条件決定システムを備える、
作業機械。
(【請求項11】以降は省略されています)
発明の詳細な説明
【技術分野】
【0001】
本開示は、作業機械の動作条件決定システム、作業機械、及び作業機械の動作条件決定方法に関する。
続きを表示(約 1,500 文字)
【背景技術】
【0002】
作業機械に係る技術分野において、特許文献1に開示されているような、車両が自動走行するための軌道を探索するシステムが知られている。特許文献1において、システムは、障害物の位置を表す第1制約条件に基づいて、車両の初期位置から目標位置へ移動するための経路である車両の位置及び姿勢を要素とする系列を探索し、経路からの逸脱距離に応じてペナルティ値が増加する第2制約条件を生成し、第2制約条件に基づいて、車両の初期位置から目標位置へ移動するための軌道である車両の位置、姿勢、速度及び舵角を要素とする系列を探索する。
【先行技術文献】
【特許文献】
【0003】
特開2022-157259号公報
【発明の概要】
【発明が解決しようとする課題】
【0004】
初期位置から目標位置までの作業機械の移動において、作業機械の動作条件によっては、作業機械の作業機に保持された積荷が崩れる可能性がある。
【0005】
本開示は、作業機に保持された積荷の崩れを抑制することを目的とする。
【課題を解決するための手段】
【0006】
本開示に従えば、コンピュータを備える作業機械の動作条件決定システムが提供される。コンピュータは、作業機械の第1位置を含む第1状態を取得し、作業機械の第2位置を含む第1状態よりも後の第2状態を取得し、第1位置から第2位置までの作業機械の移動において作業機械が有する走行装置を制御する走行入力値及び作業機械が有する作業機を制御する作業入力値を含む制御入力値を生成し、第1状態と第2状態と制御入力値とを作業機械のモデルに入力して、移動において作業機に保持された積荷が崩れない制約条件を満足するように、第1位置から第2位置までの走行装置の目標走行条件及び作業機の目標作業条件を含む作業機械の目標動作条件を決定する。
【発明の効果】
【0007】
本開示によれば、作業機に保持された積荷の崩れが抑制される。
【図面の簡単な説明】
【0008】
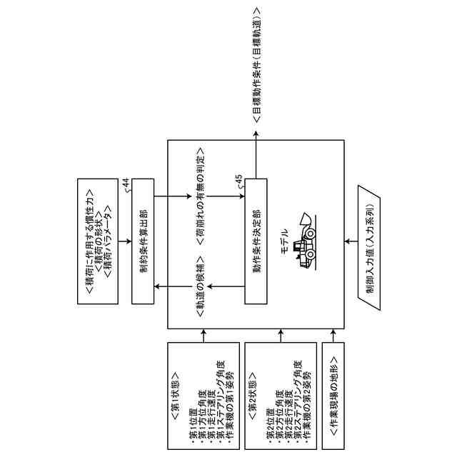
図1は、第1実施形態に係る作業機械の動作条件決定システムを模式的に示す図である。
図2は、第1実施形態に係る作業機械を示す構成図である。
図3は、第1実施形態に係るサーバのハードウエア構成図である。
図4は、第1実施形態に係る作業機械の動作条件決定システムを示す機能ブロック図である。
図5は、第1実施形態に係る作業機械の動作を説明する図である。
図6は、第1実施形態に係るサーバにおける処理を説明する図である。
図7は、第1実施形態に係る制約条件を説明する図である。
図8は、第1実施形態に係る制約条件を説明する図である。
図9は、第1実施形態に係る目標動作条件の決定方法を説明するブロック図である。
図10は、第1実施形態に係る目標動作条件の決定方法を説明する模式図である。
図11は、第1実施形態に係る目標動作条件の決定方法を示すフローチャートである。
図12は、第2実施形態に係るフォークリフトを上方から見た模式図である。
【発明を実施するための形態】
【0009】
以下、本開示に係る実施形態について図面を参照しながら説明するが、本開示は実施形態に限定されない。以下で説明する実施形態の構成要素は、適宜組み合わせることができる。また、一部の構成要素を用いない場合もある。
【0010】
[第1実施形態]
第1実施形態について説明する。
(【0011】以降は省略されています)
この特許をJ-PlatPat(特許庁公式サイト)で参照する
関連特許
株式会社小松製作所
作業機械および方法
1か月前
株式会社小松製作所
作業機械および方法
1か月前
株式会社小松製作所
作業機械および方法
1か月前
株式会社小松製作所
作業機械および方法
15日前
株式会社小松製作所
磁気結合型リアクトル
15日前
株式会社小松製作所
評価装置および評価方法
10日前
株式会社小松製作所
制御システムおよび制御方法
15日前
株式会社小松製作所
作業車両および作業車両の制御方法
1か月前
株式会社小松製作所
作業機械および作業機械の制御方法
2日前
株式会社小松製作所
作業機械および作業機械の制御方法
1か月前
株式会社小松製作所
作業機械および作業機械の制御方法
2日前
株式会社小松製作所
ファン駆動システム及びファン駆動方法
15日前
株式会社小松製作所
作業機械の点検支援システム及び点検支援方法
1か月前
株式会社小松製作所
作業現場の従事者支援システム及び従事者支援方法
15日前
株式会社小松製作所
作業機械の制御システム、および作業機械の制御方法
15日前
株式会社小松製作所
作業機械の制御システム、および作業機械の制御方法
15日前
株式会社小松製作所
トレーニングシステムおよびステージデータの生成方法
15日前
株式会社小松製作所
認証情報表示システム、情報端末、及び認証情報表示方法
1か月前
株式会社小松製作所
表示制御装置、情報端末、表示制御方法、及び表示制御システム
1か月前
株式会社小松製作所
作業機械のペイロード算出システムおよび作業機械のペイロード算出方法
16日前
株式会社小松製作所
作業機械を含むシステム、作業機械、および作業機械の自動走行制御方法
1か月前
株式会社小松製作所
管理システム及び管理方法
2日前
株式会社小松製作所
作業機械の動作条件決定システム、作業機械、及び作業機械の動作条件決定方法
2日前
株式会社小松製作所
作業機械の動作条件決定システム、作業機械、及び作業機械の動作条件決定方法
2日前
個人
バケット
23日前
個人
建物の不同沈下の修正方法
1か月前
鹿島建設株式会社
接続方法
3日前
千代田工営株式会社
回転貫入杭
1か月前
株式会社大林組
操縦装置
26日前
株式会社富田製作所
継手部構造
23日前
株式会社熊谷組
山留壁用親杭
1か月前
株式会社郷土開発
傾斜地の切土工法
2日前
日立建機株式会社
作業機械
1か月前
日立建機株式会社
作業機械
1か月前
日立建機株式会社
作業機械
1か月前
日立建機株式会社
建設機械
1か月前
続きを見る
他の特許を見る