TOP
|
特許
|
意匠
|
商標
特許ウォッチ
Twitter
他の特許を見る
公開番号
2025153658
公報種別
公開特許公報(A)
公開日
2025-10-10
出願番号
2024056246
出願日
2024-03-29
発明の名称
作業機械および方法
出願人
株式会社小松製作所
代理人
弁理士法人志賀国際特許事務所
主分類
E02F
9/00 20060101AFI20251002BHJP(水工;基礎;土砂の移送)
要約
【課題】燃料電池の停止処理によって生じる発電電力を簡易かつロバストな制御で吸収する。
【解決手段】制御装置は、作業機械の停止指示を受け付けたときに蓄電装置に蓄電された電力を放電させる。制御装置は、蓄電装置の放電後に、燃料電池モジュールの停止処理を行い、停止処理により発生した発電電力を蓄電装置に充電させる。
【選択図】図2
特許請求の範囲
【請求項1】
作業機を備える作業機械であって、
燃料電池モジュールと、
蓄電装置と、
制御装置と、
を備え、
前記制御装置は、
前記作業機械の停止指示を受け付けたときに前記蓄電装置に蓄電された電力を放電させ、
前記蓄電装置の放電後に、前記燃料電池モジュールの停止処理を行い、前記停止処理により発生した発電電力を前記蓄電装置に充電させる
作業機械。
続きを表示(約 550 文字)
【請求項2】
前記制御装置は、
前記作業機械の停止指示を受け付けたときに前記燃料電池モジュールの出力電力をゼロとする指令を出力する
請求項1に記載の作業機械。
【請求項3】
前記作業機械は、前記作業機を動作させるための作動油を圧送する油圧ポンプを備え、
前記制御装置は、
前記作業機械の停止指示を受け付けたときに、前記油圧ポンプを動作させることで、前記蓄電装置に蓄電された電力を放電させる、
請求項1または請求項2に記載の作業機械。
【請求項4】
前記制御装置は、
前記蓄電装置の充電率が所定値を下回るまで前記電力を放電させ、
前記蓄電装置の充電率が所定値を下回った後に、前記燃料電池モジュールの停止処理を行う、
請求項1または請求項2に記載の作業機械。
【請求項5】
作業機と、燃料電池モジュールと、蓄電装置とを備える作業機械に係る方法であって、
前記作業機械の停止指示を受け付けたときに前記蓄電装置に蓄電された電力を放電させ、
前記蓄電装置の放電後に、前記燃料電池モジュールの停止処理を行い、前記停止処理により発生した発電電力を前記蓄電装置に充電させる
方法。
発明の詳細な説明
【技術分野】
【0001】
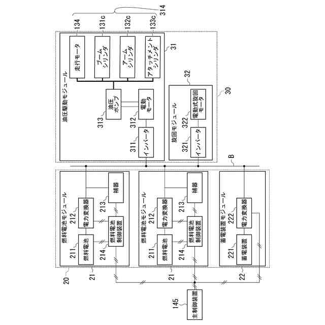
本開示は、作業機械および方法に関する。
続きを表示(約 1,400 文字)
【背景技術】
【0002】
作業機械に係る技術分野において、燃料電池モジュールを搭載した作業機械が知られている。燃料電池は、水素と酸素との化学反応により電気エネルギーを生成する。燃料である水素は水素ガスを充填したタンクから供給される。また、酸素は大気から供給される。
【0003】
燃料電池の停止処理において、アノードに水素が残存し、カソードに空気が残存する場合、燃料電池の停止中に空気と水素とが結合し、望まない電位が生じて酸化や腐食が生じる可能性がある。このため、燃料電池に残存する水素と酸素とを反応させきることが望ましい。このとき、燃料電池に、残存する水素と酸素とを反応させると余剰電力が発生する。
特許文献1には、エネルギー効率を高めるために、燃料電池の停止時における余剰電力を、蓄電器に充電させる技術が開示されている。
【先行技術文献】
【特許文献】
【0004】
特開2018-006125号公報
【発明の概要】
【発明が解決しようとする課題】
【0005】
しかしながら、作業機械に搭載された蓄電装置の残容量は、必ずしも十分な容量であるとは限らず、すべての余剰電力を蓄電装置の充電することができない可能性がある。特許文献1では、蓄電装置の残容量がなくなった場合に、蓄電装置の電力と燃料電池の発電電力とを負荷に消費させることが開示されている。
【0006】
一方で、停止処理時の燃料電池の発電電力は、外部環境要因等により変化する。例えば、停止処理時の燃料電池の発電電力は、外気温や駆動時間などによって変動する。そのため、停止処理時の燃料電池の発電電力を負荷に消費させるためには、制御装置は発電電力と消費電力のバランスをとるための複雑な制御を行う必要がある。
【0007】
本開示の目的は、燃料電池の停止処理によって生じる発電電力を簡易かつロバストな制御で吸収することができる作業機械および方法を提供することにある。
【課題を解決するための手段】
【0008】
本発明の一態様によれば、作業機械は、作業機を備える作業機械であって、燃料電池モジュールと、蓄電装置と、制御装置と、を備え、前記制御装置は、前記作業機械の停止指示を受け付けたときに前記蓄電装置に蓄電された電力を放電させ、前記蓄電装置の放電後に、前記燃料電池モジュールの停止処理を行い、前記停止処理により発生した発電電力を前記蓄電装置に充電させる。
【発明の効果】
【0009】
上記態様に係る作業機械は、燃料電池の停止処理によって生じる発電電力を簡易かつロバストな制御で吸収することができる。
【図面の簡単な説明】
【0010】
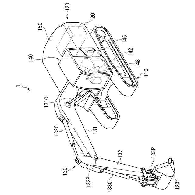
第一実施形態に係る作業機械の斜視図である。
第一実施形態に係る作業機械の構成を示す概略ブロック図である。
第一実施形態に係る作業機械が備える制御系の構成を示す概略ブロック図である。
第一実施形態に係る作業機械の停止処理を示すフローチャートである。
実施形態に係るコンピュータの構成を示す概略ブロック図である。
【発明を実施するための形態】
(【0011】以降は省略されています)
この特許をJ-PlatPat(特許庁公式サイト)で参照する
関連特許
株式会社小松製作所
作業車両
1か月前
株式会社小松製作所
作業車両
1か月前
株式会社小松製作所
作業機械および方法
12日前
株式会社小松製作所
作業機械および方法
1か月前
株式会社小松製作所
作業機械および方法
1か月前
株式会社小松製作所
作業機械および方法
1か月前
株式会社小松製作所
作業機械および方法
1か月前
株式会社小松製作所
磁気結合型リアクトル
12日前
株式会社小松製作所
評価装置および評価方法
7日前
株式会社小松製作所
制御システムおよび制御方法
12日前
株式会社小松製作所
発注システムおよび発注方法
1か月前
株式会社小松製作所
発注システムおよび発注方法
1か月前
株式会社小松製作所
作業車両および作業車両の制御方法
1か月前
株式会社小松製作所
作業機械および作業機械の制御方法
1か月前
株式会社小松製作所
システム、作業機械、および制御方法
1か月前
株式会社小松製作所
作業車両用作動油タンク及び作業車両
1か月前
株式会社小松製作所
油圧駆動システムおよび油圧駆動方法
1か月前
株式会社小松製作所
作業車両の制御システム及び作業車両
1か月前
株式会社小松製作所
ファン駆動システム及びファン駆動方法
12日前
株式会社小松製作所
作業機械システムおよび作業機械の制御方法
1か月前
株式会社小松製作所
作業機械システムおよび作業機械の制御方法
1か月前
株式会社小松製作所
作業機械の点検支援システム及び点検支援方法
1か月前
株式会社小松製作所
作業機械、及び、作業機械を制御するための方法
1か月前
株式会社小松製作所
散水システム、作業機械および散水装置の制御方法
1か月前
株式会社小松製作所
散水システム、散水機械および散水装置の制御方法
1か月前
株式会社小松製作所
作業現場の従事者支援システム及び従事者支援方法
12日前
株式会社小松製作所
感情推定装置、感情推定方法および遠隔操作システム
1か月前
株式会社小松製作所
作業機械の制御システム、および作業機械の制御方法
12日前
株式会社小松製作所
作業機械の制御システム、および作業機械の制御方法
12日前
株式会社小松製作所
トレーニングシステムおよびステージデータの生成方法
12日前
株式会社小松製作所
作業機械、作業機械のシステムおよび作業機械の制御方法
1か月前
株式会社小松製作所
作業機械、作業機械のシステムおよび作業機械の制御方法
1か月前
株式会社小松製作所
作業機械を制御するためのシステム、方法、及び作業機械
1か月前
株式会社小松製作所
認証情報表示システム、情報端末、及び認証情報表示方法
1か月前
株式会社小松製作所
作業機械の画像表示システムおよび作業機械の画像表示方法
1か月前
株式会社小松製作所
作業機械の暖房装置、および作業機械の暖房装置の制御方法
1か月前
続きを見る
他の特許を見る