TOP
|
特許
|
意匠
|
商標
特許ウォッチ
Twitter
他の特許を見る
10個以上の画像は省略されています。
公開番号
2025149701
公報種別
公開特許公報(A)
公開日
2025-10-08
出願番号
2024050506
出願日
2024-03-26
発明の名称
散水システム、作業機械および散水装置の制御方法
出願人
株式会社小松製作所
代理人
弁理士法人新樹グローバル・アイピー
主分類
B05B
12/08 20060101AFI20251001BHJP(霧化または噴霧一般;液体または他の流動性材料の表面への適用一般)
要約
【課題】解体作業を行っているオペレータの要望に応じて、散水を行うことが可能な散水システムを提供すること。
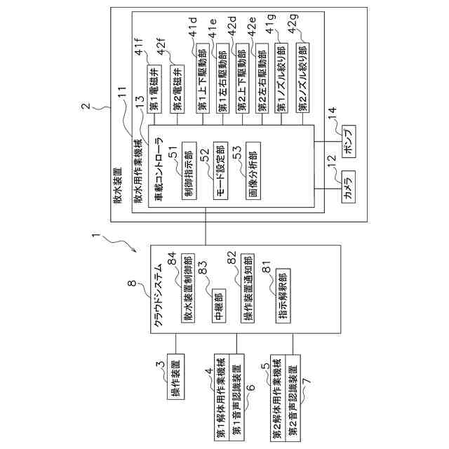
【解決手段】散水システム1は、散水装置2と、第1解体用作業機械4と、第1音声認識装置6と、クラウドシステム8と、を備える。散水用作業機械2は、解体作業の現場に散水する。第1解体用作業機械4は、解体作業を行う。第1音声認識装置6は、第1解体用作業機械4を操作する解体オペレータの音声を認識する。クラウドシステム8は、第1音声認識装置6によって認識された解体オペレータの音声に基づいて、散水装置2を操作する散水オペレータへの通知、または散水装置2の制御を行う。
【選択図】図2
特許請求の範囲
【請求項1】
解体作業の現場に散水する散水装置と、
前記解体作業を行う作業機械と、
前記作業機械を操作する解体オペレータの音声を認識する音声認識装置と、
前記音声認識装置によって認識された前記解体オペレータの音声に基づいて、前記散水装置を操作する散水オペレータへ前記散水装置の制御に関する通知、または前記散水装置の制御を行うコントローラと、を備えた、
散水システム。
続きを表示(約 1,000 文字)
【請求項2】
前記散水装置を操作する操作装置を更に備え、
前記コントローラは、前記操作装置を介して前記散水オペレータに前記散水装置の制御に関する通知を行う、
請求項1に記載の散水システム。
【請求項3】
前記コントローラは、前記操作装置によって前記散水装置の制御に関する通知が承認された場合、前記散水装置の制御を実行する、
請求項2に記載の散水システム。
【請求項4】
前記散水装置の制御は、散水機の散水方向、散水量、散水圧、ノズル先端形状および水の流路を開閉する開閉弁の制御の少なくとも1つを含む、
請求項1~3のいずれか1項に記載の散水システム。
【請求項5】
前記散水装置の制御は、設定された散水モードに従って行われる制御を含む、
請求項4に記載の散水システム。
【請求項6】
前記音声認識装置によって認識された前記解体オペレータの音声が、緊急停止を意味すると判定した場合、前記コントローラは、前記散水装置を緊急停止する制御を行う、
請求項1に記載の散水システム。
【請求項7】
前記解体作業の現場を撮像する撮像装置を更に備え、
前記散水装置は、前記音声認識装置によって認識された前記解体オペレータの音声と、前記撮像装置によって取得された撮像画像とに基づいて作動する、
請求項1に記載の散水システム。
【請求項8】
前記撮像装置によって取得された撮像画像を分析する画像分析部を更に備え、
前記散水装置の制御は、設定された散水モードに従って行われる制御を含み、
前記散水モードは、前記画像分析部による前記撮像画像の分析に基づいた制御を含む、
請求項7に記載の散水システム。
【請求項9】
前記散水モードは、前記撮像画像中のダストを検出するモードを含む、
請求項8に記載の散水システム。
【請求項10】
前記画像分析部は、前記ダストが存在する領域を検出し、
前記散水装置の制御は、散水機の散水方向、散水圧、ノズル先端形状および水の流路を開閉する開閉弁の制御の少なくとも1つ含み、
前記散水装置は、検出した前記領域に基づいて、前記散水機の前記散水方向、前記散水圧、前記ノズル先端形状、および前記開閉弁の制御の少なくとも1つを決定する、
請求項9に記載の散水システム。
(【請求項11】以降は省略されています)
発明の詳細な説明
【技術分野】
【0001】
本発明は、散水システム、作業機械および散水装置の制御方法に関する。
続きを表示(約 1,400 文字)
【背景技術】
【0002】
建物等の解体現場では解体作業時に多量の粉塵が発生し、粉塵を抑えるために解体作業を行いながら散水が行われる。
【0003】
ビル等の解体作業では、内装解体が行われ、ブロック解体、階上解体、躯体解体、地下解体、および木造解体等が行われた後に、要すれば基礎解体が行われる。ここで、階上解体、躯体解体、地下解体、木造解体、および基礎解体の複数の工程において、粉塵の飛散防止のために散水作業を行う必要があり、アスベスト等への対応のために、解体現場における散水作業の重要性が増している。
【0004】
例えば、特許文献1には、散水作業を解体現場において人が行うことを避けるために、オペレータにより操作される送信機からの無線指令に基づいて散水機のノズルが動作される散水装置が開示されている。
【先行技術文献】
【特許文献】
【0005】
特開2008-307516号公報
【発明の概要】
【発明が解決しようとする課題】
【0006】
しかしながら、散水装置による散水位置と、破砕機のオペレータが望む散水位置との間にズレが生じる場合がある。また、破砕機のオペレータの判断によって即座に散水を停めるべき場合もある。このような場合、破砕機のオペレータが散水装置のオペレータに大声で指示を行い、また、距離があるときにはトランシーバで指示を行う必要があり、時間および労力がかかっている。一方、解体現場においては、破砕作業を行う破砕機のオペレータが散水の必要な位置を把握しているが、破砕機のオペレータは破砕機の操作によって手が塞がっているため、散水装置を同時に操作することが難しい。
【0007】
本開示は、解体作業を行っているオペレータの要望に応じて、散水を行うことが可能な散水システム、作業機械および散水機の制御方法を提供することを目的とする。
【課題を解決するための手段】
【0008】
本開示の第1の態様にかかる散水システムは、散水装置と、作業機械と、音声認識装置と、コントローラと、を備える。散水装置は、解体作業の現場に散水する。作業機械は、解体作業を行う。音声認識装置は、作業機械を操作する解体オペレータの音声を認識する。コントローラは、音声認識装置によって認識された解体オペレータの音声に基づいて、散水装置を操作する散水オペレータへ散水装置の制御に関する通知、または散水装置の制御を行う。
【0009】
本開示の第2の態様にかかる作業機械は、散水機と、コントローラと、を備える。散水機は、解体作業の現場に散水する。コントローラは、解体作業を行う装置を操作する解体オペレータの音声に基づいて、散水機を制御する。
【0010】
本開示の第3の態様にかかる散水装置の制御方法は、音声認識ステップと、制御ステップと、を備える、音声認識ステップは、解体作業を行う作業機械を操作する解体オペレータの音声を認識する。制御ステップは、音声認識ステップにおいて認識された解体オペレータの音声に基づいて、解体作業の現場に散水する散水装置を操作する散水オペレータへ散水装置の制御に関する通知、または散水装置の制御を行う。
【発明の効果】
(【0011】以降は省略されています)
この特許をJ-PlatPat(特許庁公式サイト)で参照する
関連特許
株式会社小松製作所
作業機械および方法
9日前
株式会社小松製作所
磁気結合型リアクトル
9日前
株式会社小松製作所
評価装置および評価方法
4日前
株式会社小松製作所
制御システムおよび制御方法
9日前
株式会社小松製作所
作業車両および作業車両の制御方法
1か月前
株式会社小松製作所
ファン駆動システム及びファン駆動方法
9日前
株式会社小松製作所
作業機械の点検支援システム及び点検支援方法
1か月前
株式会社小松製作所
作業現場の従事者支援システム及び従事者支援方法
9日前
株式会社小松製作所
作業機械の制御システム、および作業機械の制御方法
9日前
株式会社小松製作所
作業機械の制御システム、および作業機械の制御方法
9日前
株式会社小松製作所
トレーニングシステムおよびステージデータの生成方法
9日前
株式会社小松製作所
認証情報表示システム、情報端末、及び認証情報表示方法
1か月前
株式会社小松製作所
表示制御装置、情報端末、表示制御方法、及び表示制御システム
1か月前
株式会社小松製作所
作業機械のペイロード算出システムおよび作業機械のペイロード算出方法
10日前
個人
微細霧発生装置
9日前
ベック株式会社
被膜形成方法
1か月前
ベック株式会社
被膜形成方法
5か月前
ベック株式会社
被膜形成方法
4日前
ベック株式会社
被膜形成方法
5か月前
ベック株式会社
被膜形成方法
4日前
ベック株式会社
被膜形成方法
4日前
ベック株式会社
被膜形成方法
4日前
ベック株式会社
被膜形成方法
4日前
有限会社 芦屋ドレス
湯噴霧器
25日前
株式会社吉野工業所
キャップ
4か月前
アイカ工業株式会社
塗料仕上げ工法
1か月前
スズカファイン株式会社
多色性塗膜
1か月前
ベック株式会社
装飾被膜の形成方法
3か月前
プルガティオ株式会社
噴霧装置
4か月前
日本ライナー株式会社
塗装装置
2か月前
株式会社カネカ
塗布装置
1か月前
プルガティオ株式会社
噴霧装置
4か月前
トヨタ自動車株式会社
塗布装置
1か月前
プルガティオ株式会社
噴霧装置
4か月前
能美防災株式会社
水噴霧ヘッド
1か月前
個人
スプレー缶高所対応携帯ホルダー
1か月前
続きを見る
他の特許を見る