TOP
|
特許
|
意匠
|
商標
特許ウォッチ
Twitter
他の特許を見る
10個以上の画像は省略されています。
公開番号
2025153753
公報種別
公開特許公報(A)
公開日
2025-10-10
出願番号
2024056374
出願日
2024-03-29
発明の名称
作業車両および作業車両の制御方法
出願人
株式会社小松製作所
代理人
弁理士法人志賀国際特許事務所
主分類
E02F
9/00 20060101AFI20251002BHJP(水工;基礎;土砂の移送)
要約
【課題】作業車両は作業効率を低下させずにバッテリの劣化を防ぐ。
【解決手段】作業車両は、バッテリから供給される電力で作業現場を走行する。冷却装置は、バッテリを冷却する。制御装置は、作業車両が走行する作業現場の勾配に応じて、冷却装置を制御する。
【選択図】図7
特許請求の範囲
【請求項1】
作業機を有し、バッテリから供給される電力で作業現場を走行する作業車両であって、
前記バッテリを冷却する冷却装置と、
前記作業車両が走行する前記作業現場の勾配に応じて、前記冷却装置を制御する制御装置と、
を備える作業車両。
続きを表示(約 820 文字)
【請求項2】
前記制御装置は、前記バッテリの現在の温度と、前記作業現場の勾配と、に基づいて、前記冷却装置を制御する、
請求項1に記載の作業車両。
【請求項3】
前記制御装置は、さらに、前記作業車両の積荷の重量と、に基づいて、前記冷却装置を制御する、
請求項2に記載の作業車両。
【請求項4】
前記制御装置は、
前記作業現場の勾配に基づいて、前記バッテリの充放電に起因する前記バッテリの温度上昇量を予測し、
前記バッテリの現在の温度と、前記温度上昇量とに基づいて、前記冷却装置を制御する、
請求項1に記載の作業車両。
【請求項5】
前記制御装置は、さらに、前記冷却装置の現在の冷却性能と、に基づいて、前記冷却装置を制御する、
請求項2または請求項4に記載の作業車両。
【請求項6】
前記作業車両の位置を計測する測位装置を備え、
前記制御装置は、前記作業車両の位置に基づいて前記作業現場の勾配を特定する、
請求項1に記載の作業車両。
【請求項7】
前記制御装置は、
前記冷却装置の冷却性能を制御する
請求項1に記載の作業車両。
【請求項8】
前記冷却装置は、前記バッテリを冷却するための冷媒を供給し、
前記制御装置は、前記冷媒の現在の温度および流量に基づいて、前記冷却装置の現在の冷却性能を特定する、
を備える請求項1に記載の作業車両。
【請求項9】
バッテリと、前記バッテリを冷却する冷却装置とを備え、前記バッテリから供給される電力で作業現場を走行する作業車両の制御方法であって、
制御装置が、前記作業車両が走行する前記作業現場の勾配に応じて、前記バッテリの冷却性能を制御するステップ、
を備える作業車両の制御方法。
発明の詳細な説明
【技術分野】
【0001】
本開示は、作業車両および作業車両の制御方法に関する。
続きを表示(約 1,600 文字)
【背景技術】
【0002】
バッテリを搭載し、バッテリから供給される電力によって駆動する作業車両が存在する。バッテリは、充電および放電によって発熱し、温度が高くなることで劣化が進むことが知られている。
【0003】
特許文献1には、運搬車両において車体ダメージを抑えるための推奨走行速度を表示する機能を有し、走行によって路面から受けるダメージを減らしつつ、運搬効率を保つ技術が開示されている。特許文献2には、エンジン駆動運搬車両において、車体ダメージの軽減やエンジン耐久性向上等を目的に、アクセルペダルが踏まれていても走行速度制限をかける技術が開示されている。
【先行技術文献】
【特許文献】
【0004】
特許第6744887号公報
特許第3212234号公報
【発明の概要】
【発明が解決しようとする課題】
【0005】
バッテリの温度上昇を抑えるために特許文献1や特許文献2のように出力を抑えることは、作業効率の低下につながる。
本開示の目的は、作業効率を低下させずにバッテリの劣化を防ぐことができる作業車両および作業車両の制御方法を提供することにある。
【課題を解決するための手段】
【0006】
本開示の一態様によれば、作業車両は、作業機を有し、バッテリから供給される電力で作業現場を走行する作業車両であって、前記作業車両が走行する前記作業現場の勾配に応じて、前記バッテリの冷却性能を制御する冷却制御部、を備える。
【発明の効果】
【0007】
上記態様によれば、作業車両は作業効率を低下させずにバッテリの劣化を防ぐことができる。
【図面の簡単な説明】
【0008】
第一実施形態に係る運搬車両を備える運搬システムの構成を示す図である。
第一実施形態に係るマップの一例を示す図である。
第一実施形態に係る運搬車両を模式的に示す斜視図である。
第一実施形態に係るバッテリモジュールの構成を示す図である。
第一実施形態に係る運搬車両が備える制御系の構成を示す概略ブロック図である。
第一実施形態に係る推定上昇温度テーブルの例を示す図である。
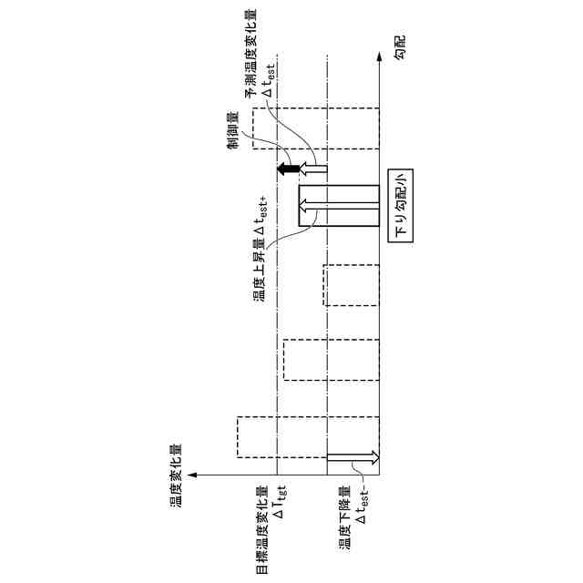
第一実施形態に係るBTMSの制御指令の決定方法の一例を示す図である。
第一実施形態に係る運搬システムによる運搬車両のバッテリの冷却制御方法を示すフローチャートである。
少なくとも1つの実施形態に係るコンピュータの構成を示す概略ブロック図である。
【発明を実施するための形態】
【0009】
〈第一実施形態〉
《運搬システム1》
以下、図面を参照しながら実施形態について詳しく説明する。
図1は、第一実施形態に係る運搬車両10を備える運搬システム1の構成を示す図である。運搬システム1は、複数の運搬車両10と管理装置50とを備える。運搬システム1は、複数の運搬車両10を用いて採掘された土砂や砕石等の積荷を運搬するために用いられる。管理装置50は、運搬車両10からデータを収集し、運搬車両10の作業状況を管理する。運搬車両10は作業車両の一例である。
【0010】
作業現場には、採掘場P1と排土場P2とが設けられる。運搬車両10は、採掘場P1にて積込機械30によって積荷を積み込まれ、積荷を排土場P2まで運搬し、排土場P2にて積荷を降ろす。積込機械30は、例えば油圧ショベルやホイールローダであってよい。運搬車両10は、排土場P2にて積荷を降ろすと、再度採掘場P1へ移動し、積荷を積載する。作業現場には、運搬車両10が走行するコースCが設けられる。コースCは、図1に示すように一方通行道路であってもよいし、対面通行道路であってもよい。
(【0011】以降は省略されています)
この特許をJ-PlatPat(特許庁公式サイト)で参照する
関連特許
株式会社小松製作所
多段変速機
2日前
株式会社小松製作所
作業機械及び作業機械を制御するための方法
2日前
鹿島建設株式会社
接続方法
18日前
株式会社郷土開発
傾斜地の切土工法
17日前
ウエダ産業株式会社
アタッチメント
9日前
日本車輌製造株式会社
建設機械
2日前
株式会社クボタ
作業機
17日前
エポコラム機工株式会社
地盤改良装置
2日前
日立建機株式会社
建設機械
4日前
ナブテスコ株式会社
ドーザブレード駆動機構
1か月前
株式会社大林組
掘削支援装置及び掘削支援方法
11日前
エポコラム機工株式会社
地盤改良装置及び地盤改良工法
2日前
エポコラム機工株式会社
地盤改良装置及び地盤改良工法
2日前
ヤンマーホールディングス株式会社
作業機械
17日前
ジャパンパイル株式会社
基礎構造の設計方法及び基礎構造
4日前
コベルコ建機株式会社
建設機械
4日前
コベルコ建機株式会社
建設機械
4日前
ヤンマーホールディングス株式会社
作業機械
17日前
鹿島建設株式会社
基礎構造および構築方法
9日前
日本製紙株式会社
紙製ドレーン
11日前
株式会社サンワールド
地盤改良装置
2日前
株式会社大林組
解析システム、解析方法及び解析プログラム
10日前
住友重機械工業株式会社
ショベル、ショベルの操作システム
25日前
株式会社 林物産発明研究所
発電装置付洪水防止装置及び工事代金償還方法
3日前
株式会社三和
流動化処理土
2日前
株式会社小松製作所
作業機械および作業機械の制御方法
17日前
株式会社小松製作所
作業機械および作業機械の制御方法
17日前
株式会社大林組
バーチカルドレーン先端の粘性土の侵入長さの推定方法
4日前
ジャパン スチールス グループ株式会社
ケーシング立坑等の落下防止装置
2日前
清水建設株式会社
掘削状況判定装置、掘削状況判定方法、およびプログラム
9日前
株式会社竹中工務店
構真柱の施工方法、及び構真柱の支持構造
17日前
株式会社エンバイン
取付具、壁面パネルの交換方法及び壁面パネルの取付方法
23日前
大和ハウス工業株式会社
リスク推定方法、リスク推定装置、及びリスク推定システム
17日前
株式会社小松製作所
作業車両の制御装置および作業車両の制御方法
9日前
前田工繊産資株式会社
河川護岸用の補強土壁
10日前
大成建設株式会社
杭基礎構造
9日前
続きを見る
他の特許を見る