TOP
|
特許
|
意匠
|
商標
特許ウォッチ
Twitter
他の特許を見る
10個以上の画像は省略されています。
公開番号
2025154538
公報種別
公開特許公報(A)
公開日
2025-10-10
出願番号
2024057596
出願日
2024-03-29
発明の名称
表示制御装置、情報端末、表示制御方法、及び表示制御システム
出願人
株式会社小松製作所
代理人
弁理士法人酒井国際特許事務所
主分類
E02F
9/26 20060101AFI20251002BHJP(水工;基礎;土砂の移送)
要約
【課題】モニタに表示された表示データが示す意味をオペレータに提供すること。
【解決手段】表示制御装置は、作業機械に搭載されたモニタに表示された表示データの画像を取得する画像取得部と、表示データが示す意味を識別する処理部と、意味を表示装置に表示させる表示制御部と、を備える。
【選択図】図4
特許請求の範囲
【請求項1】
作業機械に搭載されたモニタに表示された表示データの画像を取得する画像取得部と、
前記表示データが示す意味を識別する処理部と、
前記意味を表示装置に表示させる表示制御部と、を備える、
表示制御装置。
続きを表示(約 800 文字)
【請求項2】
前記画像取得部は、カメラに撮像された前記表示データの画像を取得する、
請求項1に記載の表示制御装置。
【請求項3】
前記表示データと前記意味との対応関係を記憶する対応関係記憶部を備え、
前記処理部は、前記対応関係に基づいて、前記意味を識別する、
請求項1に記載の表示制御装置。
【請求項4】
前記対応関係記憶部は、前記意味に関連する関連データを記憶し、
前記表示制御部は、前記関連データを前記表示装置に表示させる、
請求項3に記載の表示制御装置。
【請求項5】
前記意味は、前記作業機械の状態を含み、
前記関連データは、前記状態に係る説明ドキュメントを含む、
請求項4に記載の表示制御装置。
【請求項6】
前記意味は、前記作業機械の状態の異常を含み、
前記関連データは、前記異常に対する対処方法を含む、
請求項4に記載の表示制御装置。
【請求項7】
前記表示データは、前記作業機械の状態を示すシンボルマークを含む、
請求項1に記載の表示制御装置。
【請求項8】
請求項1に記載の表示制御装置を備える、
情報端末。
【請求項9】
カメラを備え、
前記表示制御装置の画像取得部は、前記カメラにより撮像された前記表示データの画像を取得する、
請求項8に記載の情報端末。
【請求項10】
コンピュータが、
作業機械に搭載されたモニタに表示された表示データの画像を取得することと、
前記表示データが示す意味を識別することと、
前記意味を表示装置に表示させることと、を実行する、
表示制御方法。
(【請求項11】以降は省略されています)
発明の詳細な説明
【技術分野】
【0001】
本開示は、表示制御装置、情報端末、表示制御方法、及び表示制御システムに関する。
続きを表示(約 1,100 文字)
【背景技術】
【0002】
作業機械に係る技術分野において、特許文献1に開示されているような、モニタが搭載された作業機械が知られている。
【先行技術文献】
【特許文献】
【0003】
国際公開第2016/013686号
【発明の概要】
【発明が解決しようとする課題】
【0004】
モニタに表示された表示データが示す意味を作業機械のオペレータが簡易に把握できる技術が要望される。
【0005】
本開示は、モニタに表示された表示データが示す意味をオペレータに提供することを目的とする。
【課題を解決するための手段】
【0006】
本開示に従えば、作業機械に搭載されたモニタに表示された表示データの画像を取得する画像取得部と、表示データが示す意味を識別する処理部と、意味を表示装置に表示させる表示制御部と、を備える、表示制御装置が提供される。
【発明の効果】
【0007】
本開示によれば、モニタに表示された表示データが示す意味をオペレータに提供することができる。
【図面の簡単な説明】
【0008】
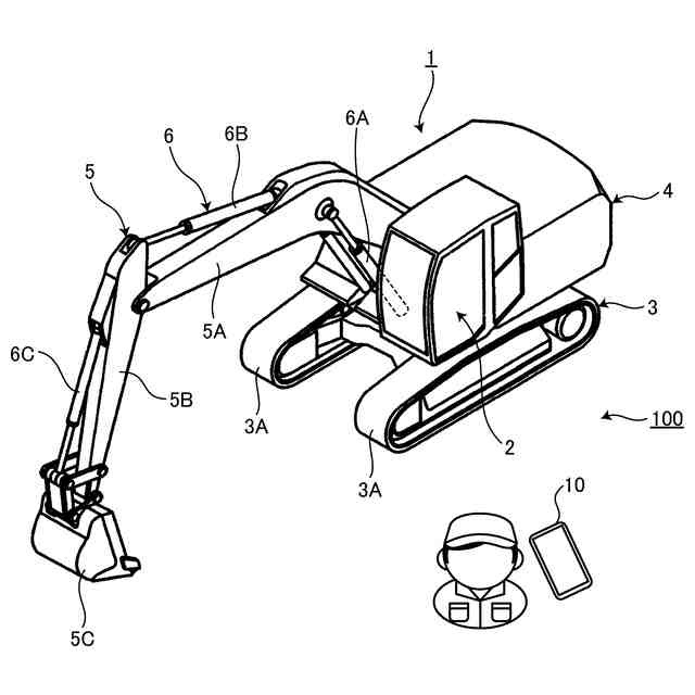
図1は、実施形態に係る表示制御システムを示す図である。
図2は、実施形態に係る作業機械の運転室を示す図である。
図3は、実施形態に係る情報端末を示すブロック図である。
図4は、実施形態に係る端末コンピュータを示すブロック図である。
図5は、実施形態に係るモニタを示す図である。
図6は、実施形態に係る情報端末の使用方法を説明するための図である。
図7は、実施形態に係る情報端末の使用方法を説明するための図である。
図8は、実施形態に係るシンボルマークとシンボルマークが示す意味との対応関係を説明するための図である。
図9は、実施形態に係る情報端末の表示装置を示す図である。
図10は、実施形態に係る情報端末の表示制御方法を示すフローチャートである。
【発明を実施するための形態】
【0009】
以下、本開示に係る実施形態について説明するが、本開示は実施形態に限定されない。以下で説明する実施形態の構成要素は適宜組み合わせることができる。また、一部の構成要素を用いない場合もある。
【0010】
[表示制御システム]
図1は、実施形態に係る表示制御システム100を示す図である。図2は、実施形態に係る作業機械1の運転室2を示す図である。作業機械1は、作業現場において稼働する。実施形態において、作業機械1は、油圧ショベルである。
(【0011】以降は省略されています)
この特許をJ-PlatPat(特許庁公式サイト)で参照する
関連特許
鹿島建設株式会社
接続方法
18日前
株式会社郷土開発
傾斜地の切土工法
17日前
ウエダ産業株式会社
アタッチメント
9日前
日立建機株式会社
建設機械
4日前
エポコラム機工株式会社
地盤改良装置
2日前
日立建機株式会社
作業機械
1か月前
株式会社クボタ
作業機
17日前
日本車輌製造株式会社
建設機械
2日前
ナブテスコ株式会社
ドーザブレード駆動機構
1か月前
株式会社大林組
掘削支援装置及び掘削支援方法
11日前
エポコラム機工株式会社
地盤改良装置及び地盤改良工法
2日前
エポコラム機工株式会社
地盤改良装置及び地盤改良工法
2日前
ヤンマーホールディングス株式会社
作業機械
17日前
ヤンマーホールディングス株式会社
作業機械
17日前
ジャパンパイル株式会社
基礎構造の設計方法及び基礎構造
4日前
コベルコ建機株式会社
建設機械
4日前
コベルコ建機株式会社
建設機械
4日前
鹿島建設株式会社
基礎構造および構築方法
9日前
鹿島建設株式会社
生態系環境改善部材及び生態系環境改善構造
1か月前
日本製紙株式会社
紙製ドレーン
11日前
住友重機械工業株式会社
作業機械用の遠隔操作システム
1か月前
個人
斜面保護構造、及び、斜面保護構造施工方法
1か月前
株式会社サンワールド
地盤改良装置
2日前
住友重機械工業株式会社
ショベル、ショベルの操作システム
25日前
大成建設株式会社
地盤計測システム
1か月前
株式会社大林組
解析システム、解析方法及び解析プログラム
10日前
ヤンマーホールディングス株式会社
作業機械
1か月前
ヤンマーホールディングス株式会社
作業機械
1か月前
株式会社 林物産発明研究所
発電装置付洪水防止装置及び工事代金償還方法
3日前
清水建設株式会社
地中連続壁の終局せん断耐力算定方法
1か月前
ヤンマーホールディングス株式会社
作業機械
1か月前
株式会社三和
流動化処理土
2日前
株式会社大林組
バーチカルドレーン先端の粘性土の侵入長さの推定方法
4日前
株式会社小松製作所
作業機械および作業機械の制御方法
17日前
株式会社小松製作所
作業機械および作業機械の制御方法
17日前
ジャパン スチールス グループ株式会社
ケーシング立坑等の落下防止装置
2日前
続きを見る
他の特許を見る