TOP
|
特許
|
意匠
|
商標
特許ウォッチ
Twitter
他の特許を見る
公開番号
2025149542
公報種別
公開特許公報(A)
公開日
2025-10-08
出願番号
2024050261
出願日
2024-03-26
発明の名称
発注システムおよび発注方法
出願人
株式会社小松製作所
代理人
弁理士法人志賀国際特許事務所
主分類
G06Q
50/08 20120101AFI20251001BHJP(計算;計数)
要約
【課題】発注者とオペレータとのニーズを満たしながら作業の発注をする。
【解決手段】発注受付部は、発注者から工事に係る作業の発注情報の入力を受け付ける。金額受付部は、オペレータから、発注情報に係る作業の受注金額の入力を受け付ける。オペレータ特定部は、オペレータに前記発注情報に係る作業を発注可能であるか否かを判定する。決定部は、発注可能と判定されたオペレータから受け付けた受注金額に基づいて、作業を発注するオペレータを決定する。
【選択図】図1
特許請求の範囲
【請求項1】
発注者から工事に係る作業の発注情報の入力を受け付ける発注受付部と、
オペレータから、前記発注情報に係る作業の受注金額の入力を受け付ける金額受付部と、
前記オペレータに前記発注情報に係る作業を発注可能であるか否かを判定するオペレータ特定部と、
前記発注可能と判定された前記オペレータから受け付けた前記受注金額に基づいて、前記作業を発注するオペレータを決定する決定部と
を備える発注システム。
続きを表示(約 850 文字)
【請求項2】
複数のオペレータに係る情報を記憶するデータベースに基づいて、前記発注情報を通知する通知部を備える
請求項1に記載の発注システム。
【請求項3】
前記発注情報は、前記オペレータに要求するスキルレベルの情報を含み、
前記オペレータ特定部は、スキルレベルが前記発注情報に係るスキルレベル以上のオペレータを特定する
請求項2に記載の発注システム。
【請求項4】
前記金額受付部は、さらに前記オペレータから前記発注情報に係る作業をアクセシブル施設で利用するか、または、前記発注情報に係る作業機械にオペレータが搭乗して操作するかの選択を受け付ける
請求項1から請求項3の何れか1項に記載の発注システム。
【請求項5】
前記受注金額の入力を受け付けた後に、前記オペレータが選択した前記アクセシブル施設が存在しなくなった場合、前記発注情報を受注できなくなった旨を通知する通知部を備える
請求項4に記載の発注システム。
【請求項6】
前記発注情報は、作業機械の種類を示す情報を含み、
利用可能な前記アクセシブル施設は、前記発注情報が示す種類の作業機械の操作に対応し、かつ予約されていない遠隔操作装置が設けられる施設である
請求項4に記載の発注システム。
【請求項7】
コンピュータが、発注者から工事に係る作業の発注情報の入力を受け付けるステップと、
前記コンピュータが、作業機械のオペレータから、前記発注情報に係る作業の受注金額の入力を受け付けるステップと、
前記コンピュータが、前記オペレータに前記発注情報に係る作業を発注可能であるか否かを判定するステップと、
前記コンピュータが、前記発注可能と判定された前記オペレータから受け付けた前記受注金額に基づいて、前記作業を発注するオペレータを決定するステップと
を備える発注方法。
発明の詳細な説明
【技術分野】
【0001】
本開示は、発注システムおよび発注方法に関する。
続きを表示(約 2,000 文字)
【背景技術】
【0002】
特許文献1には、情報端末を用いて希望する作業とその作業を行うための遠隔操作装置とをオペレータに選択させることができる作業選択システムが開示されている。
【先行技術文献】
【特許文献】
【0003】
特開2022-179729号公報
【発明の概要】
【発明が解決しようとする課題】
【0004】
作業の対価の額は、発注者が決定している。発注者によって決定される対価の額は必ずしも受注者(オペレータ)の要求に見合った額でない可能性がある。
本開示の目的は、発注者とオペレータとのニーズを満たしながら作業の発注をすることができる発注システムおよび発注方法を提供することにある。
【課題を解決するための手段】
【0005】
本発明の一態様によれば、発注システムは、発注者から工事に係る作業の発注情報の入力を受け付ける発注受付部と、オペレータから、前記発注情報に係る作業の受注金額の入力を受け付ける金額受付部と、前記オペレータに前記発注情報に係る作業を発注可能であるか否かを判定するオペレータ特定部と、前記発注可能と判定された前記オペレータから受け付けた前記受注金額に基づいて、前記作業を発注するオペレータを決定する決定部とを備える。
【発明の効果】
【0006】
上記態様によれば、発注システムは、発注者とオペレータとのニーズを満たしながら作業の発注をすることができる。
【図面の簡単な説明】
【0007】
第1の実施形態に係る発注システムの構成を示す概略図である。
第1の実施形態に係る発注管理装置の構成を示すブロック図である。
第1の実施形態に係るコントローラ管理装置の構成を示すブロック図である。
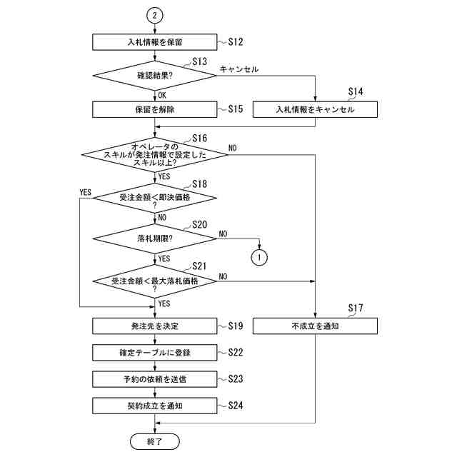
第1の実施形態に係る発注管理装置による発注管理方法を示すフローチャート(パート1)である。
第1の実施形態に係る発注管理装置による発注管理方法を示すフローチャート(パート2)である。
第1の実施形態に係るオペレータのダッシュボード画面の一例を示す図である。
少なくとも1つの実施形態に係るコンピュータの構成を示す概略ブロック図である。
【発明を実施するための形態】
【0008】
〈第1の実施形態〉
《発注システムの構成》
以下、図面を参照しながら実施形態について詳しく説明する。
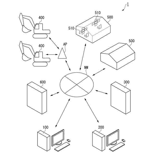
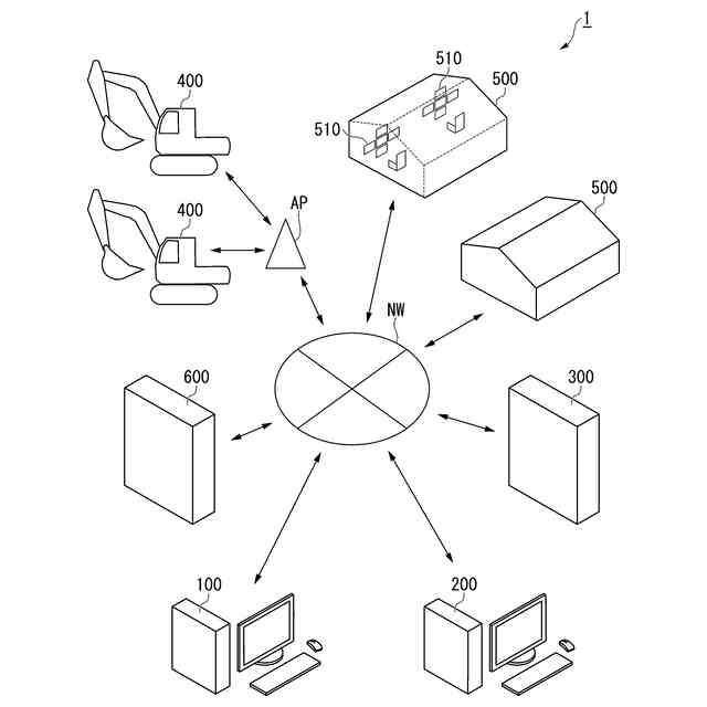
図1は、第1の実施形態に係る発注システム1の構成を示す概略図である。
発注システム1は、発注者端末100、オペレータ端末200、発注管理装置300、作業機械400、遠隔操作ステーション500、コントローラ管理装置600を備える。発注システム1は、発注者とオペレータとの間での工事の作業に係る契約を支援するためのシステムである。発注者端末100、オペレータ端末200、発注管理装置300、作業機械400、遠隔操作ステーション500およびコントローラ管理装置600は、互いにネットワークNWを介して通信可能に接続される。ネットワークNWは例えばインターネットであってよい。
【0009】
発注者端末100は、発注者によって操作される端末である。発注者端末100は、ネットワークNWを介して発注管理装置300にアクセスする。発注者は、発注者端末100を介して発注管理装置300にアクセスし、工事の作業に係る発注情報を発注管理装置300に登録する。発注情報には、例えば現場の住所、作業内容、要求スキルレベル、作業に用いる作業機械400、作業期間、落札期限、最大落札価格、即決価格が含まれる。発注者端末100は、PC、スマートフォン、タブレット端末などであってよい。
【0010】
オペレータ端末200は、受注者であるオペレータによって操作される端末である。オペレータ端末200は、ネットワークNWを介して発注管理装置300にアクセスする。オペレータは、オペレータ端末200を介して発注管理装置300にアクセスして発注情報を確認する。オペレータは、受注可能な作業について、対価の額を含む受注情報を発注管理装置300に登録する。また、オペレータ端末200には、発注管理装置300から発注情報のプッシュ通知が送信されてもよい。オペレータは、発注管理装置300から通知された発注情報に基づいて、受注可能な作業を選択し、対価の額を含む受注情報を発注管理装置300に登録することができる。オペレータは、発注情報の通知設定を任意に設定できる。オペレータ端末200は、PC、スマートフォン、タブレット端末などであってよい。
(【0011】以降は省略されています)
この特許をJ-PlatPat(特許庁公式サイト)で参照する
関連特許
株式会社小松製作所
作業車両
1か月前
株式会社小松製作所
作業機械および方法
12日前
株式会社小松製作所
作業機械および方法
1か月前
株式会社小松製作所
作業機械および方法
1か月前
株式会社小松製作所
作業機械および方法
1か月前
株式会社小松製作所
作業機械および方法
1か月前
株式会社小松製作所
磁気結合型リアクトル
12日前
株式会社小松製作所
評価装置および評価方法
7日前
株式会社小松製作所
発注システムおよび発注方法
1か月前
株式会社小松製作所
発注システムおよび発注方法
1か月前
株式会社小松製作所
制御システムおよび制御方法
12日前
株式会社小松製作所
作業機械および作業機械の制御方法
1か月前
株式会社小松製作所
作業車両および作業車両の制御方法
1か月前
株式会社小松製作所
油圧駆動システムおよび油圧駆動方法
1か月前
株式会社小松製作所
作業車両用作動油タンク及び作業車両
1か月前
株式会社小松製作所
システム、作業機械、および制御方法
1か月前
株式会社小松製作所
作業車両の制御システム及び作業車両
1か月前
株式会社小松製作所
ファン駆動システム及びファン駆動方法
12日前
株式会社小松製作所
作業機械システムおよび作業機械の制御方法
1か月前
株式会社小松製作所
作業機械システムおよび作業機械の制御方法
1か月前
株式会社小松製作所
作業機械の点検支援システム及び点検支援方法
1か月前
株式会社小松製作所
作業機械、及び、作業機械を制御するための方法
1か月前
株式会社小松製作所
散水システム、散水機械および散水装置の制御方法
1か月前
株式会社小松製作所
作業現場の従事者支援システム及び従事者支援方法
12日前
株式会社小松製作所
散水システム、作業機械および散水装置の制御方法
1か月前
株式会社小松製作所
感情推定装置、感情推定方法および遠隔操作システム
1か月前
株式会社小松製作所
作業機械の制御システム、および作業機械の制御方法
12日前
株式会社小松製作所
作業機械の制御システム、および作業機械の制御方法
12日前
株式会社小松製作所
トレーニングシステムおよびステージデータの生成方法
12日前
株式会社小松製作所
認証情報表示システム、情報端末、及び認証情報表示方法
1か月前
株式会社小松製作所
作業機械、作業機械のシステムおよび作業機械の制御方法
1か月前
株式会社小松製作所
作業機械、作業機械のシステムおよび作業機械の制御方法
1か月前
株式会社小松製作所
作業機械の画像表示システムおよび作業機械の画像表示方法
1か月前
株式会社小松製作所
作業機械の暖房装置、および作業機械の暖房装置の制御方法
1か月前
株式会社小松製作所
作業機械の表示システム、作業機械、及び作業機械の表示方法
1か月前
株式会社小松製作所
表示制御装置、情報端末、表示制御方法、及び表示制御システム
1か月前
続きを見る
他の特許を見る