TOP
|
特許
|
意匠
|
商標
特許ウォッチ
Twitter
他の特許を見る
10個以上の画像は省略されています。
公開番号
2025149700
公報種別
公開特許公報(A)
公開日
2025-10-08
出願番号
2024050505
出願日
2024-03-26
発明の名称
散水システム、散水機械および散水装置の制御方法
出願人
株式会社小松製作所
代理人
弁理士法人新樹グローバル・アイピー
主分類
B05B
13/04 20060101AFI20251001BHJP(霧化または噴霧一般;液体または他の流動性材料の表面への適用一般)
要約
【課題】所定の対象物への散水を制限することが可能な散水システム、散水装置および散水装置の制御方法を提供すること。
【解決手段】散水システム1は、散水装置2と、クラウドシステム8と、を備える。散水装置2は、粉塵が発生する作業現場に散水する散水アタッチメント29を有する。クラウドシステム8は、散水装置2に関する情報である散水機械情報と、散水アタッチメント29によって散水が行われる空間に対して定められた散水空間情報と、に基づいて、散水作業に関する通知または散水装置2の制御を行う。
【選択図】図2
特許請求の範囲
【請求項1】
粉塵が発生する作業現場に散水する散水機を有する散水装置と、
前記散水装置に関する情報である散水装置情報と、前記散水装置によって散水が行われる空間に対して定められた散水空間情報と、に基づいて、散水作業に関する通知または前記散水装置の制御を行うコントローラと、を備えた、
散水システム。
続きを表示(約 870 文字)
【請求項2】
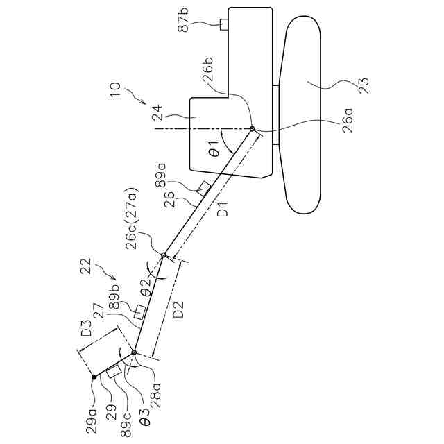
前記散水装置情報は、前記散水装置の散水方向、散水量、散水圧、ノズル先端形状および水の流路を開閉する開閉弁の状態の少なくとも1つを含む、
請求項1に記載の散水システム。
【請求項3】
前記散水装置情報は、前記散水装置の位置情報を含む、
請求項1に記載の散水システム。
【請求項4】
前記散水装置は、
旋回体と、
前記旋回体に配置され、前記散水機が装着された作業機を有し、
前記散水装置情報は、前記旋回体の向きを示す情報を含む、
請求項1に記載の散水システム。
【請求項5】
前記散水空間情報は、散水を制限する空間である散水制限エリアの情報を含む、
請求項1に記載の散水システム。
【請求項6】
前記散水制限エリアは、散水を制限する程度に応じた複数のエリアを含み、
前記コントローラは、前記複数のエリアに応じて、前記通知または前記散水装置の制御の内容を異ならせる、
請求項5に記載の散水システム。
【請求項7】
前記散水装置を操作する操作装置を更に備え、
前記コントローラは、前記操作装置を介して前記通知を行う、
請求項1に記載の散水システム。
【請求項8】
前記散水装置情報は、前記散水機によって散水される散水領域の情報を含む、
請求項5に記載の散水システム。
【請求項9】
前記コントローラは、前記散水領域が前記散水制限エリアに入ったと判断した場合、散水の制限を指示する通知、または散水を制限する制御を行う、
請求項8に記載の散水システム。
【請求項10】
前記散水装置情報は、前記散水機によって散水される散水領域の情報を含み、
前記散水空間情報は、前記散水制限エリアに隣接して設定された予備エリアを含む、
請求項5に記載の散水システム。
(【請求項11】以降は省略されています)
発明の詳細な説明
【技術分野】
【0001】
本発明は、散水システム、散水機械および散水装置の制御方法に関する。
続きを表示(約 1,200 文字)
【背景技術】
【0002】
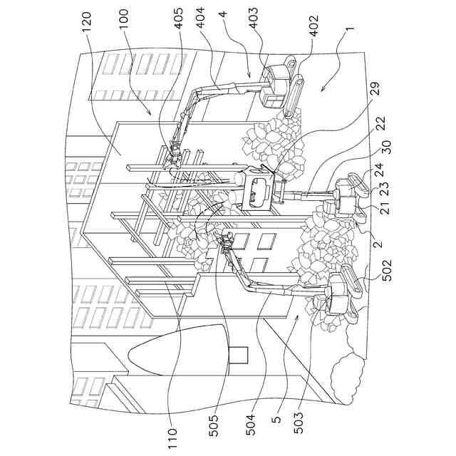
建物等の解体現場では解体作業時に多量の粉塵が発生し、粉塵を抑えるために解体作業を行いながら散水が行われる。
【0003】
ビル等の解体作業では、内装解体が行われ、ブロック解体、階上解体、躯体解体、地下解体、および木造解体等が行われた後に、要すれば基礎解体が行われる。ここで、階上解体、躯体解体、地下解体、木造解体、および基礎解体の複数の工程において、粉塵の飛散防止のために散水作業を行う必要があり、アスベスト等への対応のために、解体現場における散水作業の重要性が増している。
【0004】
例えば、特許文献1には、散水作業を解体現場において人が行うことを避けるために、オペレータにより操作される送信機からの無線指令に基づいて散水機のノズルが動作される散水装置が開示されている。
【先行技術文献】
【特許文献】
【0005】
特開2008-307516号公報
【発明の概要】
【発明が解決しようとする課題】
【0006】
しかしながら、例えば解体現場には、プレハブや電気設備、防音パネル、防音シート等が存在し、このような対象物への散水を制限することが要望されている。
【0007】
本開示は、所定の対象物への散水を制限することが可能な散水システム、散水機械および散水装置の制御方法を提供することを目的とする。
【課題を解決するための手段】
【0008】
本開示の第1の態様にかかる散水システムは、散水装置と、コントローラと、を備える。散水装置は、粉塵が発生する作業現場に散水する散水機を有する。コントローラは、散水装置に関する情報である散水装置情報と、散水装置によって散水が行われる空間に対して定められた散水空間情報と、に基づいて、散水作業に関する通知または散水装置の制御を行う。
【0009】
本開示の第2の態様にかかる散水機械は、散水機械本体と、コントローラと、を含む。散水機械本体は、粉塵が発生する作業現場に散水する散水機を有する。コントローラは、散水機械本体に関する情報である散水装置情報と、散水機械本体によって散水が行われる空間に対して定められた散水空間情報と、に基づいて、散水作業に関する通知または散水機械本体の制御を行う。
【0010】
本開示の第3の態様にかかる散水装置の制御方法は、制御ステップを備える。制御ステップは、粉塵が発生する作業現場に散水する散水機を有する散水装置に関する情報である散水装置情報と、散水装置によって散水が行われる空間に対して定められた散水空間情報と、に基づいて、散水作業に関する通知または散水装置の制御を行う。
【発明の効果】
(【0011】以降は省略されています)
この特許をJ-PlatPat(特許庁公式サイト)で参照する
関連特許
株式会社小松製作所
作業機械および方法
5日前
株式会社小松製作所
作業機械および方法
5日前
株式会社小松製作所
作業機械および方法
5日前
株式会社小松製作所
作業機械および方法
6日前
株式会社小松製作所
作業車両および作業車両の制御方法
5日前
株式会社小松製作所
作業機械および作業機械の制御方法
5日前
株式会社小松製作所
作業車両の制御システム及び作業車両
5日前
株式会社小松製作所
システム、作業機械、および制御方法
5日前
株式会社小松製作所
油圧駆動システムおよび油圧駆動方法
6日前
株式会社小松製作所
作業機械の点検支援システム及び点検支援方法
5日前
株式会社小松製作所
認証情報表示システム、情報端末、及び認証情報表示方法
5日前
株式会社小松製作所
作業機械の暖房装置、および作業機械の暖房装置の制御方法
6日前
株式会社小松製作所
表示制御装置、情報端末、表示制御方法、及び表示制御システム
5日前
株式会社小松製作所
作業機械、作業機械を含むシステム、および作業機械の制御方法
5日前
株式会社小松製作所
作業機械を含むシステム、作業機械、および作業機械の自動走行制御方法
5日前
ベック株式会社
被膜形成方法
8日前
ベック株式会社
被膜形成方法
4か月前
ベック株式会社
被膜形成方法
4か月前
株式会社吉野工業所
キャップ
3か月前
ベック株式会社
装飾被膜の形成方法
2か月前
アイカ工業株式会社
塗料仕上げ工法
27日前
スズカファイン株式会社
多色性塗膜
16日前
トヨタ自動車株式会社
塗布装置
14日前
能美防災株式会社
水噴霧ヘッド
12日前
プルガティオ株式会社
噴霧装置
3か月前
プルガティオ株式会社
噴霧装置
3か月前
プルガティオ株式会社
噴霧装置
3か月前
日本ライナー株式会社
塗装装置
28日前
個人
スプレー缶高所対応携帯ホルダー
27日前
株式会社カネカ
塗布装置
16日前
ヒット工業株式会社
マスキング具
2か月前
株式会社吉野工業所
ポンプ式吐出器
3か月前
中外炉工業株式会社
塗工装置
2か月前
ブラザー工業株式会社
塗工装置
5日前
東レエンジニアリング株式会社
粉体吐出装置
6日前
ブラザー工業株式会社
塗工装置
5日前
続きを見る
他の特許を見る