TOP
|
特許
|
意匠
|
商標
特許ウォッチ
Twitter
他の特許を見る
公開番号
2025153162
公報種別
公開特許公報(A)
公開日
2025-10-10
出願番号
2024055484
出願日
2024-03-29
発明の名称
作業機械および方法
出願人
株式会社小松製作所
代理人
弁理士法人志賀国際特許事務所
主分類
E02F
9/00 20060101AFI20251002BHJP(水工;基礎;土砂の移送)
要約
【課題】燃料電池を停止させる際に燃料電池が発電する電力を有効に活用する。
【解決手段】作業機械は、作業機と、車体に支持された燃料電池と、作業機械が備える熱源機器を冷却するためのファンと、主制御装置とを備える。主制御装置は、燃料電池を停止させる際に燃料電池が発電した電力で、ファンを回転させる。
【選択図】図2
特許請求の範囲
【請求項1】
作業機を備える作業機械であって、
前記作業機械の車体に支持された燃料電池と、
前記作業機械が備える熱源機器を冷却するためのファンと、
主制御装置と、
を備え、
前記主制御装置は、
前記燃料電池を停止させる際に前記燃料電池が発電した電力で、前記ファンを回転させる
作業機械。
続きを表示(約 570 文字)
【請求項2】
前記ファンは、第一方向に回転することにより前記熱源機器を冷却し、
前記主制御装置は、前記燃料電池を停止させる際に前記燃料電池が発電した電力で、前記ファンを第一方向とは異なる第二方向に回転させる
請求項1に記載の作業機械。
【請求項3】
前記燃料電池を含む複数の燃料電池を備え、
前記主制御装置は、
発電電力が前記ファンの回転に必要な電力の範囲に収まるように、前記複数の燃料電池を順に停止させる
請求項1に記載の作業機械。
【請求項4】
前記主制御装置は、
前記ファンの回転に必要な電力の範囲に基づいて決定された数の燃料電池を、同時に停止させる
請求項3に記載の作業機械。
【請求項5】
前記主制御装置は、
前記燃料電池が発電する電力がゼロにならないように、前記複数の燃料電池の停止処理のタイミングを制御する
請求項3に記載の作業機械。
【請求項6】
作業機と、車体に支持された燃料電池と、前記車体に設けられる熱源機器を冷却するためのファンと、を備える作業機械のための方法であって、
前記燃料電池を停止させる際に前記燃料電池が発電した電力で、前記ファンを回転させる
方法。
発明の詳細な説明
【技術分野】
【0001】
本開示は、作業機械および方法に関する。
続きを表示(約 1,400 文字)
【背景技術】
【0002】
特許文献1に示すように、燃料電池システムを搭載した作業機械が知られている。燃料電池は、水素と酸素との化学反応により電気エネルギーを生成する。燃料電池には、当該燃料電池を稼働させるために、水素燃料を供給するための燃料ポンプや、エアコンプレッサなどの補器が設けられる。
【先行技術文献】
【特許文献】
【0003】
特開2023-028066号公報
【発明の概要】
【発明が解決しようとする課題】
【0004】
燃料電池を停止させる際、アノードに水素が残存し、カソードに空気が残存する場合、燃料電池の停止中に空気と水素とが結合し、望まない電位が生じて酸化や腐食が生じる可能性がある。このため、燃料電池に残存する水素と酸素とを完全に反応させることが望ましい。このとき、燃料電池に残存する水素と酸素とを反応させると電力が発生するため、リターダなどの抵抗器によって熱エネルギーに変換して消費させる必要がある。
【0005】
本開示の目的は、燃料電池を備える作業機械において、燃料電池を停止させる際に燃料電池が発電する電力を有効に活用することができる作業機械および方法を提供することにある。
【課題を解決するための手段】
【0006】
本発明の一態様によれば、作業機械は、作業機を備える作業機械であって、作業機械の車体に支持された燃料電池と、作業機械が備える熱源機器を冷却するためのファンと、主制御装置と、を備える。主制御装置は、燃料電池を停止させる際に燃料電池が発電した電力で、ファンを回転させる。
【発明の効果】
【0007】
上記態様によれば、作業機械は、燃料電池を停止させる際に燃料電池が発電する電力を有効に活用することができる。
【図面の簡単な説明】
【0008】
第一実施形態に係る作業機械の斜視図である。
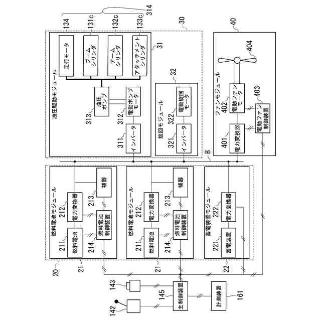
第一実施形態に係る作業機械の構成を示す概略ブロック図である。
第一実施形態に係る主制御装置の構成を示す概略ブロック図である。
第一実施形態に係る作業機械の停止処理を示すフローチャートである。
実施形態に係るコンピュータの構成を示す概略ブロック図である。
【発明を実施するための形態】
【0009】
〈第一実施形態〉
《作業機械1の構成》
図1は、第一実施形態に係る作業機械1の斜視図である。第一実施形態に係る作業機械1は、例えば油圧ショベルである。作業機械1は、走行体110と、旋回体120と、作業機130と、運転室140と、機械室150とを備える。油圧ショベルである作業機械1は、作業現場等において土砂などを掘削、整地する。走行体110と旋回体120とは、車体を構成する。
【0010】
走行体110は、作業機械1を走行可能に支持する。走行体110は、左右一対の履帯を有する。作業機械1は一対の履帯の回転により前進し、旋回し、または後進する。
旋回体120は、走行体110に旋回可能に支持される。旋回体120は、後述する電動旋回モータ322によって、走行体110に対して旋回する。旋回体120は、作業機130と、運転室140と、機械室150と、燃料電池システム20とを支持する。
(【0011】以降は省略されています)
この特許をJ-PlatPat(特許庁公式サイト)で参照する
関連特許
株式会社小松製作所
作業機械および方法
1か月前
株式会社小松製作所
作業機械および方法
9日前
株式会社小松製作所
作業機械および方法
1か月前
株式会社小松製作所
作業機械および方法
1か月前
株式会社小松製作所
作業機械および方法
1か月前
株式会社小松製作所
磁気結合型リアクトル
9日前
株式会社小松製作所
評価装置および評価方法
4日前
株式会社小松製作所
制御システムおよび制御方法
9日前
株式会社小松製作所
作業機械および作業機械の制御方法
1か月前
株式会社小松製作所
作業車両および作業車両の制御方法
1か月前
株式会社小松製作所
油圧駆動システムおよび油圧駆動方法
1か月前
株式会社小松製作所
システム、作業機械、および制御方法
1か月前
株式会社小松製作所
作業車両の制御システム及び作業車両
1か月前
株式会社小松製作所
ファン駆動システム及びファン駆動方法
9日前
株式会社小松製作所
作業機械システムおよび作業機械の制御方法
1か月前
株式会社小松製作所
作業機械システムおよび作業機械の制御方法
1か月前
株式会社小松製作所
作業機械の点検支援システム及び点検支援方法
1か月前
株式会社小松製作所
作業現場の従事者支援システム及び従事者支援方法
9日前
株式会社小松製作所
作業機械の制御システム、および作業機械の制御方法
9日前
株式会社小松製作所
作業機械の制御システム、および作業機械の制御方法
9日前
株式会社小松製作所
トレーニングシステムおよびステージデータの生成方法
9日前
株式会社小松製作所
認証情報表示システム、情報端末、及び認証情報表示方法
1か月前
株式会社小松製作所
作業機械の暖房装置、および作業機械の暖房装置の制御方法
1か月前
株式会社小松製作所
表示制御装置、情報端末、表示制御方法、及び表示制御システム
1か月前
株式会社小松製作所
作業機械、作業機械を含むシステム、および作業機械の制御方法
1か月前
株式会社小松製作所
作業機械のペイロード算出システムおよび作業機械のペイロード算出方法
10日前
株式会社小松製作所
作業機械を含むシステム、作業機械、および作業機械の自動走行制御方法
1か月前
株式会社小松製作所
作業機械の制御システム、作業機械、作業機械の遠隔操作システム、及び作業機械の制御方法
1か月前
株式会社小松製作所
作業機械の制御システム、作業機械、作業機械の遠隔操作システム、及び作業機械の制御方法
1か月前
株式会社小松製作所
作業機械の制御システム、作業機械、作業機械の遠隔操作システム、及び作業機械の制御方法
1か月前
株式会社小松製作所
作業機械の制御システム、作業機械、作業機械の遠隔操作システム、及び作業機械の制御方法
1か月前
株式会社小松製作所
作業機械の制御システム、作業機械、作業機械の遠隔操作システム、及び作業機械の制御方法
1か月前
個人
バケット
17日前
個人
建物の不同沈下の修正方法
24日前
株式会社大林組
操縦装置
20日前
千代田工営株式会社
回転貫入杭
1か月前
続きを見る
他の特許を見る